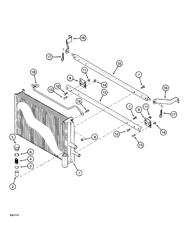
Запчасти Case IH 2022 (6-10) - AUXILIARY OIL COOLER AND SUPPORTS (03) - POWER TRAIN

Схема запчастей Case IH 2022 - (6-10) - AUXILIARY OIL COOLER AND SUPPORTS (03) - POWER TRAIN
16
4
11
10
9
2
1
14
18
6
7
5
13
8
16
15
17
14
10
11
19
9
17
12
3
13
7
FIT
1:1
100%

Артикул

Название

Примечание

Количество

1

84659C3

OIL COOLER

COOLER ASSEMBLY - auxiliary oil (Replaces cooler assembly 84659C2)

1шт.

2

93198C1

VALVE

- check

1шт.

3

238-5020

O-RING,0.07" Thk x 0.864" ID, -20, Cl 5, 75 Duro

-020, 70 Duro, .864" ID x .070" Thk

1шт.

4

A189029

SPRING

- check valve

1шт.

5

273916

PLUG,Hex, 1-5/16" - 12 ORB

1шт.

6

237-6016

O-RING,0.116" Thk x 1.171" ID, -916, Cl 6, 90 Duro

16-1, 90 Duro, 1.171" ID x .118" Thk

1шт.

7

409-7512

BOLT,Hex Flg, 5/16" - 18 x 3/4", Spcl

- hex serrated flange, 5/16 NC x 3/4 inch

4шт.

8

425-105

NUT,5/16"-18, G5

- hex, 5/16 inch NC

2шт.

9

215720C1

HINGE

- shield, oil cooler

2шт.

10

409-7512

BOLT,Hex Flg, 5/16" - 18 x 3/4", Spcl

- hex serrated flange, 5/16 NC x 3/4 inch

4шт.

11

231-5145

SERRATED NUT,Flg, USR, 5/16"-18

NUT - hex serrated flange, 5/16 inch NC

4шт.

12

1982819C1

ANGLE BAR

ANGLE - oil cooler, lower

1шт.

13

409-7512

BOLT,Hex Flg, 5/16" - 18 x 3/4", Spcl

- hex serrated flange, 5/16 NC x 3/4 inch

4шт.

14

231-5145

SERRATED NUT,Flg, USR, 5/16"-18

NUT - hex serrated flange, 5/16 inch NC

4шт.

15

1982895C1

ANGLE BAR

ANGLE - oil cooler, upper

1шт.

16

1982897C1

SUPPORT

STRAP - oil cooler mounting

2шт.

17

480523R1

HAIR PIN COTTER

9/64" dia

2шт.

18

1984320C1

ROD

- cooler bumper

1шт.

19

409-7512

BOLT,Hex Flg, 5/16" - 18 x 3/4", Spcl

- hex serrated flange, 5/16 NC x 3/4 inch

2шт.

Выбрано товаров: 0