Запчасти Case IH 2022 (6-32) - HYDROSTATIC PUMP, CONTROL VALVE (03) - POWER TRAIN

Схема запчастей Case IH 2022 - (6-32) - HYDROSTATIC PUMP, CONTROL VALVE (03) - POWER TRAIN
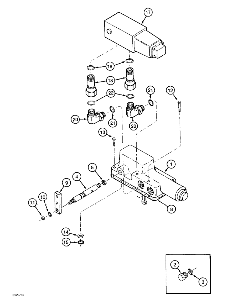
20
17
18
22
10
21
19
21
12
15
20
1
9
3
5
8
11
2
13
4
14
FIT
1:1
100%

Артикул

Название

Примечание

Количество

106444A1

VALVE

- control, parts listed below do not apply to this valve

1шт.

133755C94

VALVE

ASSEMBLY - control

1шт.

1

NSS

NOT SOLD SEPARAT

BODY - valve, order valve assembly

1шт.

2

9625178

PLUG,9/16" - 18 ORB

2шт.

4

1978048C2

SHAFT

ASSEMBLY - valve

1шт.

5

238-5012

O-RING,0.07" Thk x 0.364" ID, -12, Cl 5, 75 Duro

-012, 70 Duro, .364" ID x .070" Thk

1шт.

8

133756C1

GASKET

- control valve

1шт.

9

404782R2

PLATE

- control valve shaft

1шт.

10

493-11033

LOCK WASHER,Ext-Int Tooth, 5/16"

WASHER, LOCK, Ext-Int Tooth, 5/16"

1шт.

11

425-145

JAM NUT,Jam, 5/16"-18, G5

1шт.

12

413-528

BOLT,Hex, 5/16" - 18 x 1-3/4", Gr 5

2шт.

13

413-516

BOLT,Hex, 5/16" - 18 x 1", Gr 5

- hex, 5/16 NC x 1 inch

4шт.

14

1346021C1

ORIFICE

- control valve

1шт.

15

238-5012

O-RING,0.07" Thk x 0.364" ID, -12, Cl 5, 75 Duro

-012, 70 Duro, .364" ID x .070" Thk

1шт.

17

1986653C1

VALVE

ASSEMBLY - solenoid, if used (See Note)

1шт.

18

1542560C1

FITTING

CONNECTOR - solenoid valve to valve body, if used

2шт.

20

201-304

ELBOW,90 Degree Elbow, 11/16" - 16 Male ORFS x 9/16" - 18 Male ORB

- 90 degree, 11/16-16 face seal x 9/16-18 inch adjustable O-ring boss

2шт.

22

238-6012

O-RING,0.07" Thk x 0.364" ID, -12, Cl 6, 90 Duro

1шт.

3

237-6006

O-RING,0.078" Thk x 0.468" ID, -906, Cl 6, 90 Duro

6-1, 90 Duro, .468" ID x .078" Thk

2шт.

19

237-6006

O-RING,0.078" Thk x 0.468" ID, -906, Cl 6, 90 Duro

6-1, 90 Duro, .468" ID x .078" Thk

1шт.

21

237-6006

O-RING,0.078" Thk x 0.468" ID, -906, Cl 6, 90 Duro

6-1, 90 Duro, .468" ID x .078" Thk

1шт.

Выбрано товаров: 0