Запчасти Case IH 2044 (9D-40) - BASKET DOOR, CONVEYOR DRIVE (16) - BASKET

Схема запчастей Case IH 2044 - (9D-40) - BASKET DOOR, CONVEYOR DRIVE (16) - BASKET
5
1
8
7
15
6
4
7
4
13
3
9
5
8
4
6
8
1
6
2
9
14
10
5
5
10
4
8
9
1
6
7
10
7
9
FIT
1:1
100%

Артикул

Название

Примечание

Количество

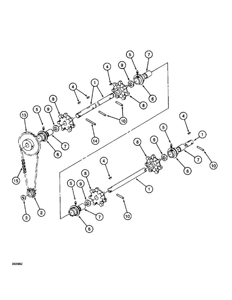
1

1260366C2

SHAFT

- conveyor drive (Replaces shaft 1260366C1)

1шт.

2

1260364C1

SPROCKET ASSY.

SPROCKET - drive, 10 tooth

1шт.

3

495-81070

WASHER,1 1/32" x 1 1/2" x .120"

- flat, 1-1/32 x 1-1/2 x 7/64 inch

1шт.

4

117997

WOODRUFF KEY,#25, 5/16" x 1 1/2", HT

5шт.

5

219-87

LUBE NIPPLE,1/4" - 28 NPTF

NIPPLE, LUBE, 1/4"-28 x .56" lg, Self-Tap

4шт.

6

1278954C91

BEARING ASSY

ASSEMBLY - drive shaft

4шт.

7

1278956C1

BUSHING,34.95mm ID x 39.7mm OD x 63.75mm L

- bearing

1шт.

8

1269910C1

DRIVE SPROCKET

SPROCKET - drive, 7 tooth

4шт.

9

495-81213

WASHER,35.71mm ID x 50.8mm OD x 1.7mm Thk

- flat, 1-13/32 x 2 x 3/64 inch

4шт.

10

617942R1

PIN,7.92mm OD x 57.15mm L, Coiled

headed (replaces pin 441015R1) 5/16" x 2 1/4", Coiled

4шт.

13

1260365C2

PINION

SPROCKET - drive, 12 tooth

1шт.

14

38-12048

LOCK PIN,5/16" x 3", Slotted

Pin, (replaces pin 455184R1) 5/16" x 3", Slotted

1шт.

15

NSS

NOT SOLD SEPARAT

CHAIN - conveyor drive, use 69 links of No. 60H chain, 1 offset link 1318D and 1 connecting link 1786D

1шт.

Выбрано товаров: 13