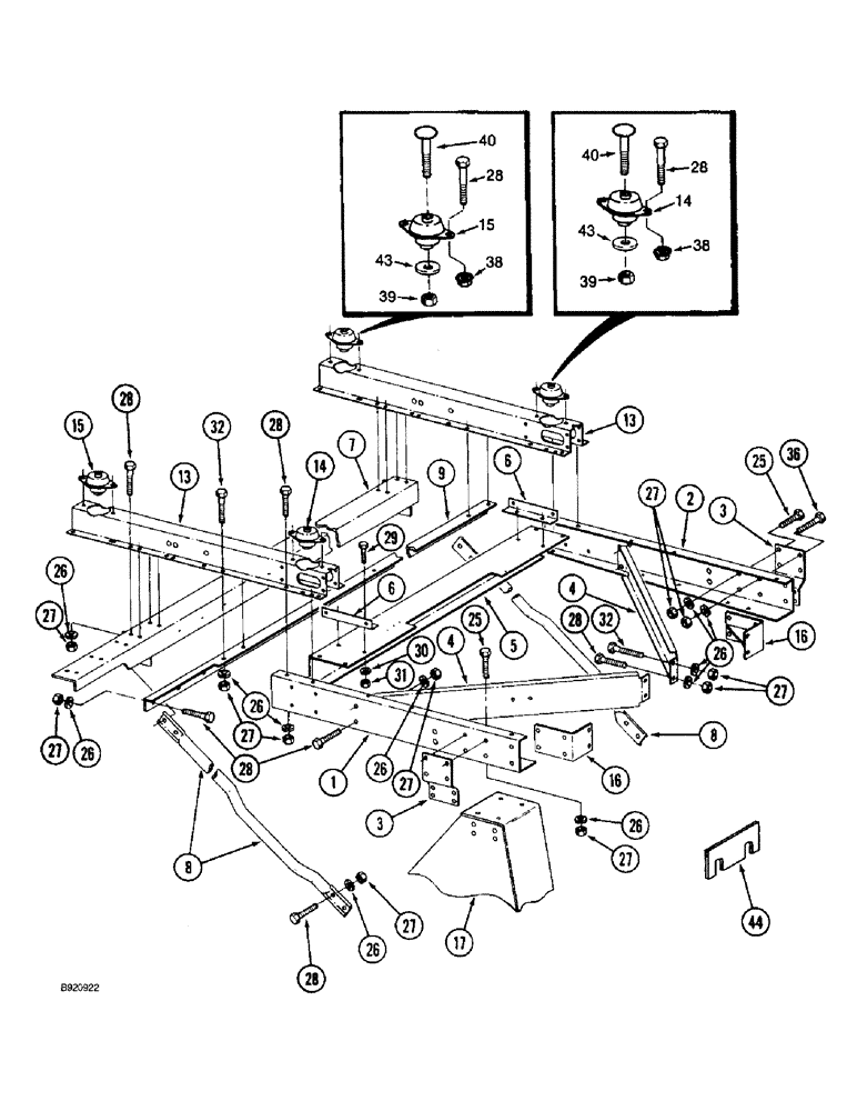
Запчасти Case IH 2044 (9F-28) - MAIN FRAME AND PLATFORM SUPPORT (12) - CHASSIS

Схема запчастей Case IH 2044 - (9F-28) - MAIN FRAME AND PLATFORM SUPPORT (12) - CHASSIS
26
27
27
15
28
43
28
43
28
15
40
6
39
3
40
16
31
29
27
44
2
32
26
4
27
27
7
32
38
26
17
14
6
26
1
26
13
28
3
16
28
30
39
8
14
27
38
4
25
27
26
26
5
28
27
28
25
13
9
8
36
FIT
1:1
100%

Артикул

Название

Примечание

Количество

1

1270201C3

SUPPORT

CHANNEL - main cab support, left-hand

1шт.

2

1270202C3

SUPPORT

CHANNEL - main cab support, right-hand

1шт.

3

1278398C1

SUPPORT

- main side channel

2шт.

4

1270232C2

SUPPORT

CHANNEL - bracket support

2шт.

5

1270231C4

SUPPORT

CHANNEL - horizontal cab support

1шт.

6

1270233C2

ANGLE BAR

BRACKET - channel support (Replaces bracket 1270233C1)

2шт.

7

1270283C4

SUPPORT

- front bracket

1шт.

8

1285275C1

SUPPORT

PIPE - cap support

2шт.

9

1270275C2

SUPPORT

- rear bracket

1шт.

13

195507C6

SUPPORT

- operators platform, side

2шт.

14

196950C2

MOUNTING PARTS

INSULATOR - vibration, rear

2шт.

15

117722C4

INSULATOR

- vibration, front

2шт.

16

86867C2

BRACKET

- front mast

2шт.

17

1994859C1

CHASSIS

FRAME - main, with decals (Replaces frame 1338801C6)

1шт.

25

413-816

BOLT,Hex, 1/2" - 13 x 1", Gr 5

20шт.

26

80679

LOCK WASHER,1/20.507 CST ZND

WASHER, LOCK, 1/2"

77шт.

27

425-108

NUT,1/2" - 13, Gr 5

NUT, , Hex 1/2"-13, G5

67шт.

28

413-820

BOLT,Hex, 1/2" - 13 x 1-1/4", Gr 5

- hex, 1/2 NC x 1-1/4 inch

41шт.

29

413-616

BOLT,Hex, 3/8" - 16 x 1", Gr 5

- hex, 3/8 NC x 1 inch

4шт.

30

492-11038

LOCK WASHER,3/8"

4шт.

31

425-106

NUT,3/8"-16, Cl 5

4шт.

32

413-828

BOLT,Hex, 1/2" - 13 x 1-3/4", Gr 5

6шт.

36

413-824

BOLT,Hex, 1/2" - 13 x 1-1/2", Gr 5

8шт.

38

231-5148

FLANGE NUT,Flg, USR, 1/2"-13

8шт.

39

232-41112

NUT,3/4"-10, GC

NUT, LOCK, 3/4"-10, GC

4шт.

40

413-1276

BOLT,Hex, 3/4" - 10 x 4-3/4", Gr 5

- hex, 3/4 NC x 4-3/4 inch

4шт.

43

196591C1

WASHER

- flat, special

4шт.

44

87037C1

BLOCK

SHIM - platform

1шт.

Выбрано товаров: 28