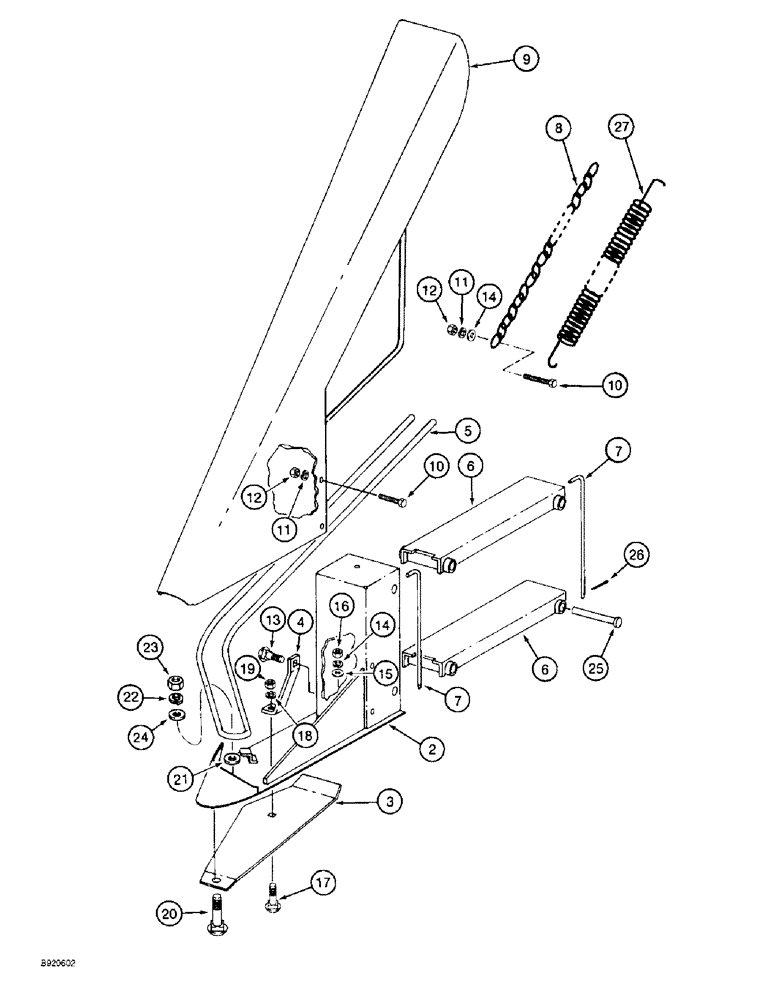
Запчасти Case IH 2044 (9A-46) - PLANT LIFTER, LEFT-HAND, PRIOR TO P.I.N. JJC13600 (13) - PICKING SYSTEM

Схема запчастей Case IH 2044 - (9A-46) - PLANT LIFTER, LEFT-HAND, PRIOR TO P.I.N. JJC13600 (13) - PICKING SYSTEM
3
18
23
24
25
19
12
4
13
12
7
16
9
8
17
15
21
2
20
5
27
6
14
7
10
11
10
11
26
22
14
6
FIT
1:1
100%

Артикул

Название

Примечание

Количество

87326C91

DIVIDER ASSY.

LIFTER ASSEMBLY - plant, left-hand, no longer available, order lifter assembly 138963A1, parts list page 9A-47B

1шт.

2

216959C3

SHOE

- lifter (Replaces shoe 216959C2)

1шт.

3

216969C4

PLATE

- skid (Replaces plate 216969C3)

1шт.

4

216972C2

SUPPORT

- skid plate (Replaces support 216972C1)

1шт.

5

674821R1

ROD

- lifter, standard

1шт.

5

1345015C1

ROD

- lifter, hardened, not shown

1шт.

6

220229C6

SUPPORT

BRACKET - lifter (Replaces bracket 220229C5)

2шт.

7

674820R1

PIN,4.76mm OD

- shoe

2шт.

8

87421C1

CHAIN,496mm L

- lift

1шт.

9

674807R2

DIVIDER

BODY - metal, lifter

1шт.

10

413-516

BOLT,Hex, 5/16" - 18 x 1", Gr 5

- hex, 5/16 NC x 1 inch

3шт.

11

492-11031

LOCK WASHER,5/16"

WASHER, LOCK, 5/16"

3шт.

12

425-105

NUT,5/16"-18, G5

- hex, 5/16 inch NC

3шт.

13

434-512

CARRIAGE BOLT,Sht Sq Nk, 5/16" - 18 x 3/4", Gr 5

BOLT - carriage, 5/16 NC x 3/4 inch

1шт.

14

492-11031

LOCK WASHER,5/16"

WASHER, LOCK, 5/16"

1шт.

15

495-21038

WASHER,5/16"

(flat, 3/8 x 7/8 x 3/32") 5/16"

2шт.

16

425-105

NUT,5/16"-18, G5

- hex, 5/16 inch NC

1шт.

17

434-616

CARRIAGE BOLT,Sht Sq Nk, 3/8" - 16 x 1", Gr 5

BOLT - carriage, 3/8 NC x 1 inch

1шт.

18

492-11038

LOCK WASHER,3/8"

1шт.

19

425-106

NUT,3/8"-16, Cl 5

1шт.

20

433-828

CARRIAGE BOLT,Sq Nk, 1/2" - 13 x 1 3/4", Gr 5

BOLT - carriage, 1/2 NC x 1-3/4 inch

1шт.

21

495-81021

WASHER,17/32" x 1" x .120"

- flat, 17/32 x 1 x 7/64 inch

3шт.

22

80679

LOCK WASHER,1/20.507 CST ZND

WASHER, LOCK, 1/2"

1шт.

23

425-108

NUT,1/2" - 13, Gr 5

NUT, , Hex 1/2"-13, G5

1шт.

24

495-81164

WASHER,0.53" ID x 1.75" OD x 0.18" Thk

- flat, 17/32 x 1-3/4 x 11/64 inch

1шт.

25

439-1868

HEADED PIN,12.7mm OD x 107.25mm L

PIN - headed, 1/2 x 4-1/4 inch, grade 2

4шт.

26

432-48

COTTER PIN,1/16" x 1/2"

PIN, SPLIT (COTTER), 1/16" x 1/2"

2шт.

27

655919R1

SPRING

- lifter

1шт.

Выбрано товаров: 28