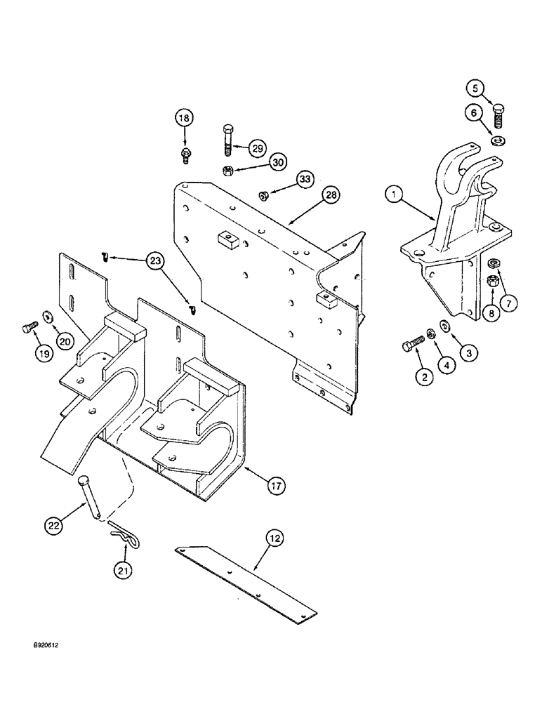
Запчасти Case IH 2044 (9A-72) - DRUM LIFT SUPPORT (13) - PICKING SYSTEM

Схема запчастей Case IH 2044 - (9A-72) - DRUM LIFT SUPPORT (13) - PICKING SYSTEM
19
3
29
12
22
5
8
30
23
2
33
7
4
6
1
21
20
28
18
17
FIT
1:1
100%

Артикул

Название

Примечание

Количество

1

1982456C3

SUPPORT

- radius rod, left-hand (2022 Cotton Picker)

1шт.

1

1982457C3

SUPPORT

- radius rod, right-hand (2022 Cotton Picker)

1шт.

1

1982457C2

SUPPORT

- radius rod, right-hand (No. 1 and 3 drum, 2044 Cotton Picker)

1шт.

1

1982456C2

SUPPORT

- radius rod, left-hand (No. 1 and 3 drum, 2044 Cotton Picker)

1шт.

2

413-828

BOLT,Hex, 1/2" - 13 x 1-3/4", Gr 5

3шт.

3

495-11053

WASHER,1/2", SAE

(17/32" x 1-1/16" x 3/32") 1/2", SAE

3шт.

4

80679

LOCK WASHER,1/20.507 CST ZND

WASHER, LOCK, 1/2"

3шт.

5

413-1032

BOLT,Hex, 5/8" - 11 x 2", Gr 5

- hex, 5/8 NC x 2 inch

2шт.

6

496-21066

WASHER,16.6mm ID x 33.5mm OD x 3.8mm Thk

- flat, 21/32 x 1-5/16 x 5/32 inch, hardened

2шт.

7

492-11062

BEARING WASHER,5/8"

WASHER, LOCK, 5/8"

2шт.

8

425-1010

NUT,5/8"-11, G5

2шт.

12

1984380C2

LARGE PLATE

PLATE - support spacer

1шт.

17

1339169C3

SUPPORT

- pivot, left-hand (2022 Cotton Picker)

1шт.

17

1339170C3

SUPPORT

- pivot, right-hand (2022 Cotton Picker)

1шт.

17

1339167C3

SUPPORT

- pivot, left-hand (No. 1 drum, 2044 Cotton Picker)

1шт.

17

1339169C3

SUPPORT

- pivot, left-hand (No. 2 drum, 2044 Cotton Picker)

1шт.

17

1339170C3

SUPPORT

- pivot, right-hand (No. 3 drum, 2044 Cotton Picker)

1шт.

17

1339168C3

SUPPORT

- pivot, right-hand (No. 4 drum, 2044 Cotton Picker)

1шт.

18

409-7616

BOLT,Hex Flg, 3/8" - 16 x 1", Spcl

1шт.

19

409-7620

BOLT,Hex Flg, 3/8" - 16 x 1 1/4", Spcl

- hex serrated flange, 3/8 NC x 1-1/4 inch

1шт.

20

496-41041

WASHER,13/32" x 1 1/8" x .134"

- flat, 13/32 x 1-1/8 x 9/64 inch, hardened

1шт.

21

1978738C1

HAIR PIN COTTER

1шт.

22

1994893C1

PIN

- headed, 5/8 x 5-1/4 inch (Replaces pin 28780R1)

1шт.

23

219-45

LUBE NIPPLE,65 Degree Elbow, 1/4" NPTF

FITTING - grease, 65 degree, 1/4 drive type x 3/4 inch

1шт.

28

1339163C4

SUPPORT

- drum lift, left-hand (2022 Cotton Picker)

1шт.

28

1339164C4

SUPPORT

- drum lift, right-hand (2022 Cotton Picker)

1шт.

28

1339161C3

SUPPORT

- drum lift, left-hand (No. 1 drum, 2044 Cotton Picker)

1шт.

28

1339163C4

SUPPORT

- drum lift, left-hand (No. 2 drum, 2044 Cotton Picker)

1шт.

28

1339164C4

SUPPORT

- drum lift, right-hand (No. 3 drum, 2044 Cotton Picker)

1шт.

28

1339162C3

SUPPORT

- drum lift, right-hand (No. 4 drum, 2044 Cotton Picker)

1шт.

29

113-476

BOLT,Hex, 1/2" - 13 x 2-3/4", Gr 5, Full Thd

Hex, 1/2"-13 x 2 3/4", G5, Full Thd

2шт.

30

425-108

NUT,1/2" - 13, Gr 5

NUT, , Hex 1/2"-13, G5

2шт.

33

231-5146

FLANGE NUT,3/8"-16

7шт.

Выбрано товаров: 33