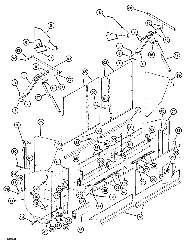
Запчасти Case IH 2044 (9D-36) - BASKET DOOR (16) - BASKET

Схема запчастей Case IH 2044 - (9D-36) - BASKET DOOR (16) - BASKET
67
67
50
16
3
62
26
16
23
85
17
78
2
34
85
35
4
8
88
1
10
74
82
87
50
66
80
76
10
71
79
30
60
40
67
17
3
83
55
9
60
24
77
45
1
5
19
58
67
80
61
15
18
86
68
72
66
54
74
70
29
4
65
15
7
73
33
53
59
68
2
75
64
77
6
84
28
20
81
58
9
27
FIT
1:1
100%

Артикул

Название

Примечание

Количество

1

1260385C2

ARM

- basket door

2шт.

2

1260395C1

SHAFT

- pivot

2шт.

3

439-1428

HEADED PIN,1/4" OD x 1-3/4" OAL, Gr 2

PIN - headed, 1/4 x 1-3/4 inch, grade 2

2шт.

4

32-812

COTTER PIN,1/8" x 3/4"

PIN, SPLIT (COTTER), 1/8" x 3/4"

2шт.

5

87256C2

GUIDE

- basket door, front

1шт.

6

413-616

BOLT,Hex, 3/8" - 16 x 1", Gr 5

- hex, 3/8 NC x 1 inch

4шт.

7

231-5146

FLANGE NUT,3/8"-16

6шт.

8

87257C2

GUIDE

- basket door, rear

1шт.

9

1260383C2

SHAFT

- amplifier link, no longer available, order pin 439-11664

4шт.

9

439-11664

HEADED PIN,1" x 4"

PIN - headed, 1 x 4 inch, grade 2

4шт.

10

495-11106

WASHER,1", SAE

- flat, 1-1/16 x 2 x 1/8 inch

6шт.

15

432-1228

COTTER PIN,3/16" x 1 3/4"

3/16" x 1 3/4"

6шт.

16

607783R1

SPACER,1" Pipe x 1850"

- 1 x 1-27/32 inch

4шт.

17

1260388C1

BAR

- amplifier link

2шт.

18

80679

LOCK WASHER,1/20.507 CST ZND

WASHER, LOCK, 1/2"

4шт.

19

413-824

BOLT,Hex, 1/2" - 13 x 1-1/2", Gr 5

12шт.

20

425-108

NUT,1/2" - 13, Gr 5

NUT, , Hex 1/2"-13, G5

4шт.

23

1270277C1

PIVOT

ASSEMBLY - door front

1шт.

24

458900R1

SPACER

BUSHING - split steel back

1шт.

26

495-81205

WASHER,32.54mm ID x 50.8mm OD x 1.7mm Thk

- flat, 1-9/32 x 2 x 3/64 inch

2шт.

27

432-1632

COTTER PIN,1/4" x 2"

Pin, Split (Cotter), 1/4" x 2"

2шт.

28

219-53

LUBE NIPPLE,65 Degree Elbow, 3/16" NPTF

FITTING - grease, 65 degree, 3/16 inch drive type x 23/32 inch (Replaces fitting 273359)

2шт.

29

1270278C1

PIVOT

ASSEMBLY - door rear

1шт.

30

458900R1

SPACER

BUSHING - split steel back

1шт.

33

413-616

BOLT,Hex, 3/8" - 16 x 1", Gr 5

- hex, 3/8 NC x 1 inch

20шт.

34

492-11038

LOCK WASHER,3/8"

24шт.

35

425-106

NUT,3/8"-16, Cl 5

24шт.

40

1270172C4

CONDUIT

CHANNEL - front door

1шт.

45

1270173C3

CONDUIT

CHANNEL - rear door

1шт.

Выбрано товаров: 29