Запчасти Case IH 414 (065) - MASTER CYLINDERS (33) - BRAKES & CONTROLS

Схема запчастей Case IH 414 - (065) - MASTER CYLINDERS (33) - BRAKES & CONTROLS
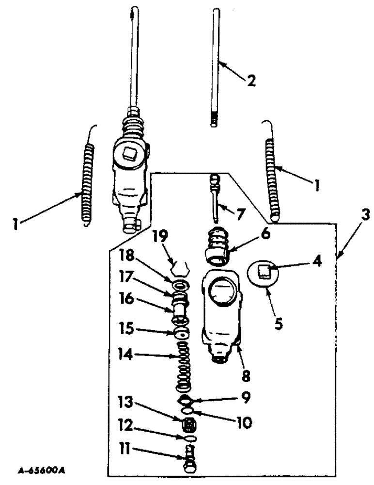
14
3
19
10
1
15
18
8
4
2
1
17
12
16
6
9
13
5
7
11
FIT
1:1
100%

Артикул

Название

Примечание

Количество

1

48599DA

SPRING

brake pedal return

2шт.

2

666007R1

ROD, brake

2шт.

7/16NF NUT

2шт.

1/8 X 3/4" COTTER PIN

2шт.

S3631/2

PIN

3/8 X 1-1/4" STD-HD PIN

2шт.

3

559380R91

CYLINDER BLOCK

CYLINDER ASSEMBLY, brake master

2шт.

3/8 X 5-1/2" MACH BOLT W/NUT

2шт.

3/8" LOCK WASHER

2шт.

4

561956R91

CAP

W/BAFFLE, filler

2шт.

5

92148H

GASKET

filler cap

2шт.

6

561954R1

BOOT, master cylinder

2шт.

7

561955R91

PUSH BUTTON

ROD, push

2шт.

8

561947R1

TANK, master cylinder

2шт.

9

561949R91

VALVE AND SEAT ASSEMBLY

2шт.

10

561961R1

GASKET

inlet connecting

2шт.

11

561960R1

FITTING

connection bolt tube

2шт.

12

561962R1

GASKET

connection inlet

2шт.

13

561959R1

CONNECTION, inlet

2шт.

14

561948R91

SPRING AND RETAINER ASSEMBLY

2шт.

15

561958R1

CUP, master cylinder

2шт.

16

561950R91

PISTON

W/PROTECTOR ASSEMBLY

2шт.

17

561951R1

CUP, secondary

2шт.

18

561952R1

PLATE, piston stop

2шт.

19

561953R1

WIRE, stop plate lock

2шт.

562917R91

KIT

master cylinder (Service package), Composed of

1шт.

561954R1

BOOT

1шт.

561958R1

CUP

1шт.

561950R91

PISTON

1шт.

561949R91

VALVE

1шт.

561951R1

WIRE

1шт.

Выбрано товаров: 30