Запчасти Case IH 414 (077) - HYDRAULIC HOSES AND CONNECTIONS (35) - HYDRAULIC SYSTEMS

Схема запчастей Case IH 414 - (077) - HYDRAULIC HOSES AND CONNECTIONS (35) - HYDRAULIC SYSTEMS
6
8
36
29
17
8
16
44
27
3
6
39
4
15
34
4
7
25
5
5
31
35
5
9
38
41
43
29
34
13
3
12
4
30
20
22
2
6
3
23
40
21
13
1
7
24
8
41
14
4
26
16
34
18
18
42
11
3
32
37
11
2
11
34
38
33
30
29
42
28
19
8
7
30
15
40
5
37
9
FIT
1:1
100%

Артикул

Название

Примечание

Количество

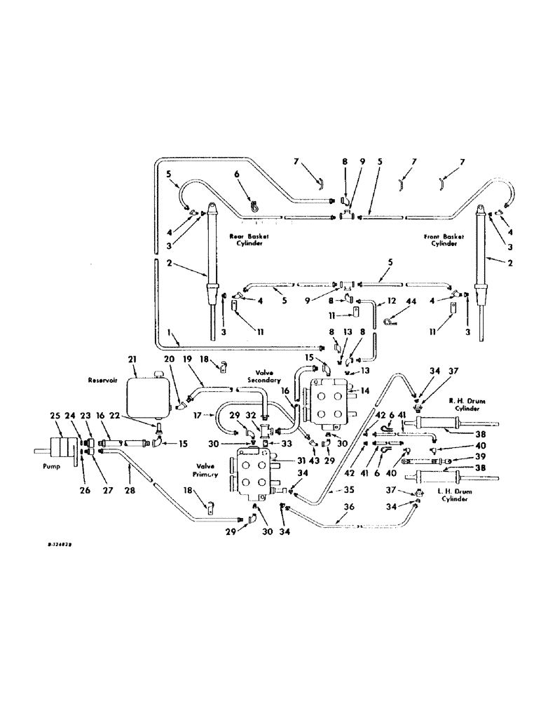
1

666374R91

HOSE, valve to RH tee hydraulic

1шт.

2

665231R91

CYLINDER, basket hydraulic (For components see list under details of "Basket Hydraulic Cylinder")

2шт.

1/4 X 1-1/2" COTTER PIN

2шт.

28855B

HEADED PIN,7/8" x 2"

7/8 X 2" STD-HD PIN

2шт.

2

665273R91

CYLINDER, basket hydraulic (For components see list of parts under details of "Basket Pivot High Lift Attachment Hydraulic Cylinder")

2шт.

3

217-43

REDUCER,1/2" - 14 NPTF x 1/4" - 18 Fem NPTF

1/2 to 1/4" reducing (In cylinders)

4шт.

4

444054

ELBOW,45 Degree, 1/4"-18 NPTF, Fem x 1/4"-18 NPTF Male

1/4" 45 degree (In cylinders)

4шт.

5

665459R91

HOSE, basket hydraulic cylinder

4шт.

6

27388D

CLIP, hydraulic hose

3шт.

7

665461R1

CLIP

hydraulic hose

3шт.

5/16 X 1-3/4" MACH BOLT W/NUT

3шт.

5/16" LOCK WASHER

3шт.

8

217-22

ELBOW,90 Degree, 3/8"-18 NPTF, Fem x 3/8"-18 NPTF Male

3/8" 90 degree street

4шт.

9

218233

HYD CONNECTOR

TEE, 3/8 x 1/4 x 1/4" pipe

2шт.

10

NOT USED

1шт.

11

661260R1

CLIP, hose

3шт.

5/16 X 1-1/2" MACH BOLT W/NUT

3шт.

5/16" LOCK WASHER

3шт.

12

666373R91

HOSE, valve to LH tee hydraulic

1шт.

13

221-89

REDUCER,Hex, 1/2" x 3/8" NPT

BUSHING, 1/2 to 3/8" reducing

2шт.

14

666215R91

VALVE, basket and drum drive control (For components see list of parts under details of "Basket And Drum Drive Control Valve")

1шт.

3/8 X 2-1/2" MACH BOLT W/NUT

3шт.

3/8" LOCK WASHER

3шт.

15

141621

ELBOW,90 Degree, 3/4" NPT Street

3/4" 90 degree street

2шт.

16

358475R91

HOSE, hydraulic

2шт.

17

363737R91

HOSE, hydraulic

1шт.

18

665226R1

CLIP, hose

2шт.

3/8 X 3/4" MACH BOLT W/NUT

2шт.

3/8" LOCK WASHER

2шт.

19

643744R91

HOSE, hydraulic

1шт.

20

140798

ELBOW,45 Degree, 3/4" NPT Street

3/4" 45 degree street

1шт.

21

666364R91

RESERVOIR, hydraulic oil (For components see list of parts under details of "Hydraulic Oil Reservoir")

1шт.

22

666640R91

STRAINER, oil reservoir

1шт.

23

665526R1

COUPLING, adapter (Used with 588371R91 only)

1шт.

24

368269R1

O-RING,0.116" Thk x 0.924" ID, -912, Cl 6, 90 Duro

(Used with 665526R1)

1шт.

25

588371R91

PUMP, hydraulic (Used with C-263 gas and LP engines and D-282 diesel engines)

1шт.

25

309599R91

PUMP, hydraulic (Used with BD-264 gas and LP engines)

1шт.

26

364885R1

O-RING,0.097" Thk x 0.755" ID, -910, Cl 6, 90 Duro

(Used with 461182R1)

1шт.

27

461182R1

CONNECTOR, ELEC

COUPLING, adapter (Used with C-263 gas and LP engines and D-282 diesel engines)

1шт.

28

664938R91

HOSE, hydraulic

1шт.

29

108686

ELBOW,90 Degree, 1/2" NPT Street

1/2" 90 degrees

3шт.

30

144034

ADAPTER,3/4" NPT Male x 1/2" NPT Fem

BUSHING, 3/4 to 1/2" pipe reducing

3шт.

31

666214R91

VALVE, drum hydraulic (For components see list of parts under details of "Drum Hydraulic Valve")

1шт.

3/8 X 2-1/2" MACH BOLT W/NUT

3шт.

3/8" LOCK WASHER

3шт.

32

125988

TEE,3/4" NPT, Fem

3/4" pipe

1шт.

33

190723

LUBE NIPPLE,Nipple, 3/4" NPT x 2 1/2

NIPPLE, 3/4 x 2-1/2" pipe

1шт.

34

144051

TUBE,1/2" NPT Male x 1/4" NPT Fem

1/2 to 1/4" reducing

4шт.

35

369643R91

HOSE, valve to RH drum cylinder

1шт.

36

360394R91

HOSE ASSY.

HOSE, valve to LH drum cylinder

1шт.

37

575834R91

VALVE

retarding

2шт.

103575

PIN,#1 x 1 1/4", Tapered

1 X 1-1/4" TAPER PIN

2шт.

38

15135EDX

CYLINDER, drum lift (For components see list of parts under details of "Picker Drum Hydraulic Cylinder")

2шт.

1/4 X 1-1/4" COTTER PIN

2шт.

590277R1

7/8 X 1-3/4" STD-HD PIN

2шт.

39

666221R91

CYLINDER

drum drive (For components see list of parts under details of "Drum Drive Cylinder")

1шт.

3/16 X 1" COTTER PIN

2шт.

13762A

AXLE PIN

5/8 X 1-9/16" STD-HD PIN

2шт.

40

666220R91

SWIVEL, right angle

2шт.

41

666372R91

HOSE, Serial Range: valve-cylinder

2шт.

42

116385

BUSHING,1/2" NPT Male x 1/8" NPT Fem

1/2 to 1/8" reducing

2шт.

43

137894

ELBOW,45 Degree, 1/2" NPT Street

1/2" 45 degrees

1шт.

44

56277D

CLIP, hydraulic hose

1шт.

Выбрано товаров: 63