Запчасти Case IH 414 (107) - THROAT SHEET (58) - ATTACHMENTS/HEADERS

Схема запчастей Case IH 414 - (107) - THROAT SHEET (58) - ATTACHMENTS/HEADERS
2
7
4
1
5
6
3
7
FIT
1:1
100%

Артикул

Название

Примечание

Количество

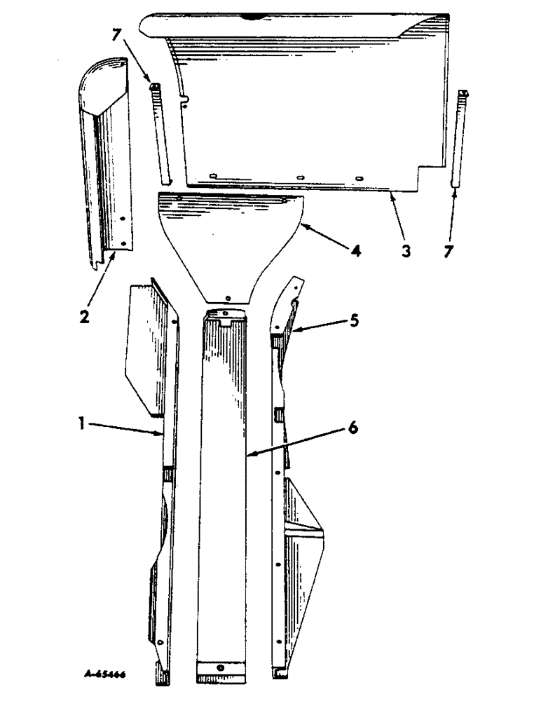
1

660777R91

SIDE, inner left drum housing throat sheet, Units A and C

1шт.

1

660778R91

SEDE, inner right drum housing throat sheet, Units B and D

1шт.

BOLT, 3/8 x 3/4 mach

3шт.

WASHER, 3/8 lock

3шт.

2

661457R91

SIDE, left throat shield, Unit A

1шт.

2

661458R91

SIDE, right throat shield, Unit B

1шт.

2

661463T91

SIDE, left throat shield, Unit C

1шт.

2

661464R91

SIDE, right throat shield, Unit D

1шт.

BOLT W/NUT, 1/4 x 1/2 mach

1шт.

BOLT W/NUT, 3/8 x 3/4 mach

2шт.

WASHER, 1/4 lock

1шт.

WASHER, 3/8 lock

2шт.

3

666340R1

SHIELD, left top throat, Units A and C

1шт.

3

666341R1

SHIELD, right top throat

1шт.

BOLT W/NUT, 5/16 3/4 mach

1шт.

BOLT W/NUT, 3/8 x 1 mach

1шт.

WASHER, 5/16 lock

1шт.

WASHER, 3/8 lock

1шт.

WASHER, 13/32 x 3/4 x 16 ga

1шт.

4

660781R1

SHEET, left front drum housing throat, Units A and C

1шт.

4

660782R1

SHEET, right front drum housing throat, Units B and D

1шт.

BOLT, 3/8 x 3/4 mach

1шт.

BOLT W/NUT, 3/8 x 1 mach

1шт.

WASHER, 3/8 lock

2шт.

5

11722RB

SIDE, left outer drum housing throat sheet, Units A and C

1шт.

5

658288R92

SIDE, right outer drum housing throat sheet, Units B and D

1шт.

BOLT, 3/8 x 3/4 mach

3шт.

WASHER, 3/8 lock

3шт.

6

11732R

SHEET, drum housing throat

1шт.

BOLT W/NUT, 3/8 x 2-1/4 crg

1шт.

BOLT W/NUT, 3/8 x 3/4 mach

1шт.

WASHER, 3/8 lock

2шт.

7

666205R1

SUPPORT, oil tank

2шт.

BOLT W/NUT, 3/8 x 1 mach

3шт.

WASHER, 3/8 lock

3шт.

WASHER, 13/32 x 3/4 x 16 ga

3шт.

Выбрано товаров: 36