Запчасти Case IH 414 (072) - SEDIMENT TRAP AND LINES, 414501E THROUGH 1119G, 420501E THROUGH 2059G (80) - CROP STORAGE/UNLOADING

Схема запчастей Case IH 414 - (072) - SEDIMENT TRAP AND LINES, 414501E THROUGH 1119G, 420501E THROUGH 2059G (80) - CROP STORAGE/UNLOADING
4
16
12
5
11
3
10
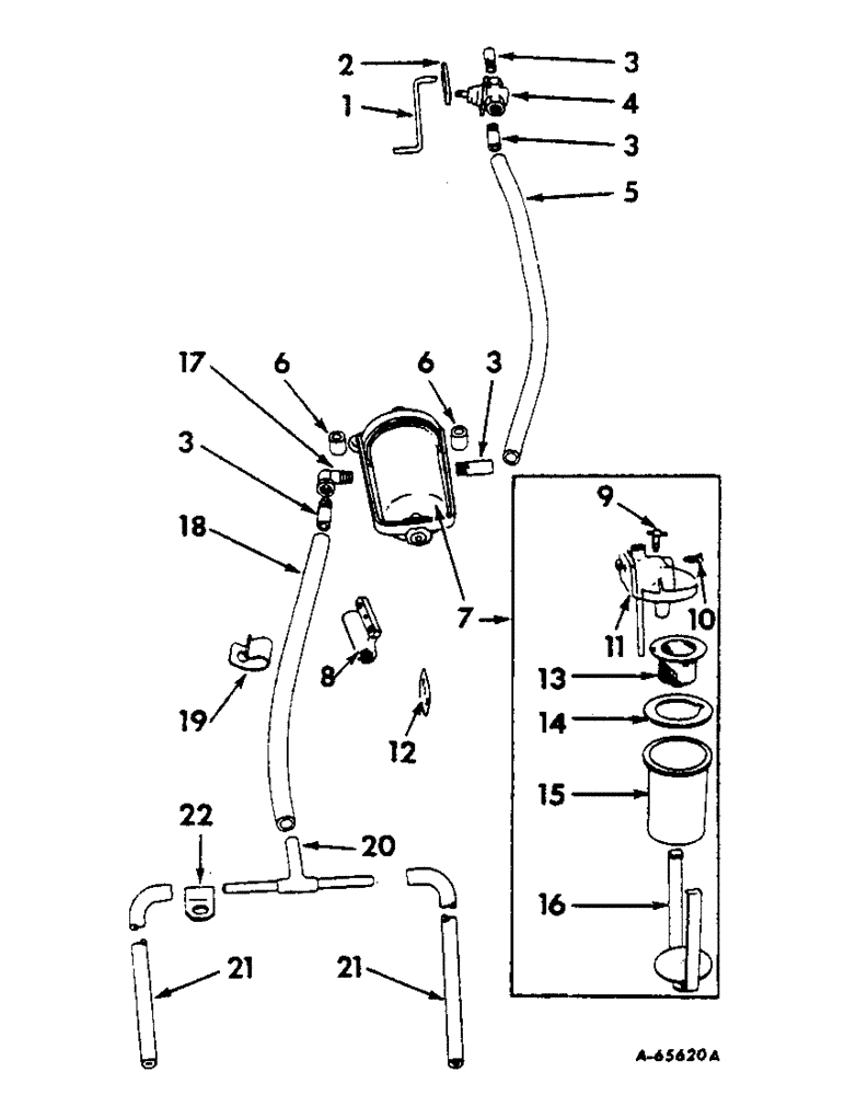
7
2
21
6
9
18
15
17
22
21
1
3
13
3
8
3
6
14
20
19
FIT
1:1
100%

Артикул

Название

Примечание

Количество

1

665985R1

ROD, water shutoff valve

1шт.

3/32 X 1/2" COTTER PIN

2шт.

9/32 X 5/8" X 16 GA WASHER

2шт.

2

665984R1

LEVER, water shutoff valve

1шт.

8-32 X 1/2" RD-HD SCREW

1шт.

22910V

21/64 X 5/8" X 18 GA WASHER

1шт.

13/64 X 1/2" X 16 GA WASHER

1шт.

3

665253R1

CONNECTOR, water hose

4шт.

4

658899R92

VALVE, water shutoff

1шт.

1/4 X 3/4" MACH BOLT W/NUT

2шт.

1/4" LOCK WASHER

2шт.

5

HOSE, valve to water trap (Use 22 inches of 1/2" hose from 50-foot roll marked 665181R1)

1шт.

6

615977R1

SPACER, water sediment trap

2шт.

7

657794R91

ASSEMBLY

TRAP ASSEMBLY, water sediment

1шт.

8

8221D

BRACKET, water trap

1шт.

3/8 X 1-3/4" MACH BOLT W/NUT

2шт.

1/2 X 3-1/2" MACH BOLT W/NUT 3/8" LOCK WASHER

2шт.

1/2" LOCK WASHER

1шт.

9

279173R1

CAPSCREW,3/8" x 1 5/32"

SCREW, water trap drain

1шт.

10

60871DA

SCREW, water trap vent

1шт.

11

251380R91

TOP

water sediment trap drain

1шт.

24805D

PLUG

WATER SEDIMENT TRAP PLUG

1шт.

12

51527DC

GASKET

water trap bracket

1шт.

13

251348R91

SCREEN

water tank sediment

1шт.

14

260708R2

GASKET

water sediment trap

1шт.

15

60877D

BOWL

water sediment trap

1шт.

16

60878DX

BALL

BAIL, water sediment trap

1шт.

17

105423

ELBOW,90 Degree, 1/4" NPT Street

1/4" 90 degree street

1шт.

18

HOSE, trap to tee (Use 44 inches of 1/2" hose from 50-foot roll marked 665181R1)

1шт.

19

140585

CLIP

water hose

1шт.

5/16 X 3/4" MACH BOLT W/NUT

1шт.

5/16" LOCK WASHER

1шт.

20

665245R91

TEE

water line

1шт.

21

HOSE, tee to drum water (Use 23 inches of 9/32" hose from 50-foot roll marked 665180R1)

2шт.

22

27385D

CLIP, water line tee

1шт.

Выбрано товаров: 35