Запчасти Case IH 414 (166) - BALANCE SPRINGS AND LIFTING SHAFTS (80) - CROP STORAGE/UNLOADING

Схема запчастей Case IH 414 - (166) - BALANCE SPRINGS AND LIFTING SHAFTS (80) - CROP STORAGE/UNLOADING
13
9
8
10
18
16
22
4
25
19
12
7
17
21
1
2
6
3
1
18
20
5
1
11
13
23
10
16
1
24
14
FIT
1:1
100%

Артикул

Название

Примечание

Количество

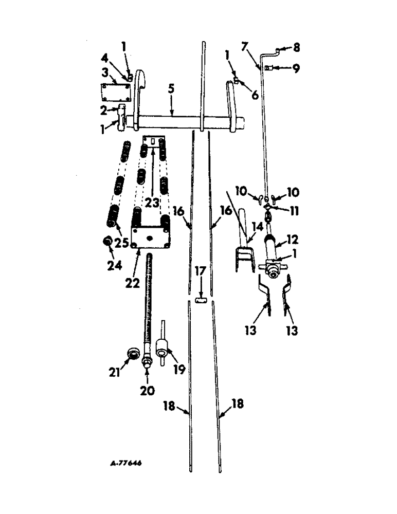
1

87414

LUBE NIPPLE,1/4" - 28

FITTING, 1/4 self tapping lubrication

8шт.

2

665912R1

BEARING, lifting shaft

2шт.

BOLT W/NUT, 5/8 x 2-3/4 mach

2шт.

BOLT, 5/8 x 3 hex-hd mach

2шт.

WASHER, 5/8 lock

4шт.

3

665948R91

ANCHOR, drum drive cylinder, welded assy

1шт.

BOLT W/NUT, 1/2 x 1-1/4 mach

2шт.

WASHER, 5/8 lock

2шт.

4

665911R1

CAP, lifting arm

2шт.

BOLT, 1/2 x 1-3/4 mach

4шт.

WASHER, 1/2 lock

4шт.

5

665905R92

SHAFT, left lifting, welded assy

1шт.

5

665906R92

SHAFT, right lifting, welded assy

1шт.

6

11880RA

CAP, lifting arm

2шт.

BOLT, 1/2 x 1-3/4 mach

4шт.

WASHER, 1/2 lock

4шт.

7

665932R2

ROD, drum adjusting

2шт.

8

662579R1

GRIP

drum adjusting rod

2шт.

9

665933R1

CLIP, drum adjusting rod, 416CH501H thru 779H, 422CH501H thru 1192H

2шт.

10

PO722

PIVOT, drum adjusting rod

8шт.

11

PO723

SPIDER ASSY.

CROSS, drum adjusting rod

2шт.

BOLT W/NUT, 5/16 x 1-3/4 mach

4шт.

WASHER, 5/16 lock

4шт.

12

665925R91

HOUSING, drum adjusting screw, welded assy

2шт.

PIN, 3/16 x 1-1/4 cotter

4шт.

13

665923R1

ARM, cylinder pivot

4шт.

51815R1

PIN,5/8" x 1.546"

5/8 x 1-1/2 rod end

2шт.

PIN, 1/8 x 1 cotter

2шт.

14

665920R91

TUBE, drum lift, welded assy 19" Length

2шт.

553686R1

LOCK PIN,3/16" x 1 1/2", Slotted

Pin, 3/16" x 1 1/2", Slotted

4шт.

15

NOT USED IN THIS APPLICATION

1шт.

16

665918R1

LINK, balance link

4шт.

PIN, 3/4 x 1-11/16 dld headed

2шт.

PIN, 1/4 x 1-1/4 cotter

2шт.

17

661121R1

PIN, balance spring link

2шт.

PIN, 3/16 x 1 cotter

4шт.

18

665924R1

LINK, hydraulic cylinder

4шт.

19

665924R1

BRACKET, balance spring, welded assy

2шт.

BOLT W/NUT, 3/4 x 1-3/4 mach

4шт.

WASHER, 3/4 lock

4шт.

20

11977R

SCREW, balance spring adjusting

2шт.

21

662557R91

BEARING, balance spring adjusting

2шт.

22

665915R91

PLATE, balance spring rear, welded assy

2шт.

BOLT, 1/2 x 1-1/4 mach

8шт.

WASHER, 1/2 lock

8шт.

23

665917R1

PLATE, balance spring front

2шт.

BOLT, 1/2 x 1-1/4 mach

8шт.

WASHER, 1/2 lock

8шт.

24

M1425

PLUG

balance spring

16шт.

25

M80437

SPRING, balance

8шт.

Выбрано товаров: 50