Запчасти Case IH 414 (167) - BASKET (80) - CROP STORAGE/UNLOADING

Схема запчастей Case IH 414 - (167) - BASKET (80) - CROP STORAGE/UNLOADING
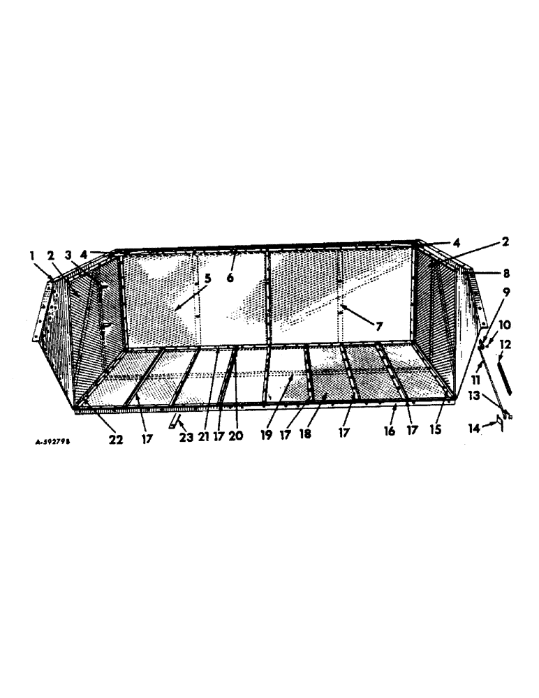
4
17
9
3
8
17
6
12
4
22
2
23
17
10
1
7
17
17
2
20
15
5
13
18
21
19
11
16
14
FIT
1:1
100%

Артикул

Название

Примечание

Количество

1

664890R91

FRAME, front basket end, welded assy

1шт.

2

11628R

MESH, basket side, welded assy

2шт.

BOLT W/NUT, 5/16 x 3/4 mach

6шт.

BOLT W/NUT, 5/16 x 1 mach

4шт.

BOLT W/NUT, 3/8 x 1 mach

2шт.

104067

RIVET,But Hd, 3/16" x 1/2"

3/16 x 1/2 b-hd

22шт.

104068

RIVET, 3/16 x 5/8 b-hd But Hd, 3/16" x 5/8"

6шт.

WASHER, 5/16 lock

4шт.

WASHER, 3/8 lock

2шт.

WASHER, 11/32 x 3/4 x 16 ga

6шт.

N32146

WASHER, 13/64 x 7/8 x 18 ga

8шт.

3

667929R1

STEP, basket

2шт.

BOLT W/NUT, 3/8 x 1 mach

4шт.

WASHER, 3/8 lock

4шт.

4

661086R1

BRACE, basket corner

2шт.

BOLT W/NUT, 3/8 x 1 mach

8шт.

WASHER, 3/8 lock

8шт.

5

661068R91

MESH, basket side, welded assy

2шт.

BOLT W/NUT, 5/16 x 3/4 mach

26шт.

BOLT W/NUT, 5/16 x 1 mach

2шт.

WASHER, 5/16 lock

20шт.

WASHER, 11/32 x 3/4 x 16 ga

12шт.

6

661066R1

ANGLE, right basket side

1шт.

7

661067R1

CHANNEL, right basket side

3шт.

8

661092R91

FRAME, rear basket end, welded assy

1шт.

9

661159R91

LINK, basket cover lift

2шт.

NUT, 1/2 sq

2шт.

10

28046B

SPACER, basket cover lever

2шт.

11

661161R1

ROD, basket cover lift

2шт.

NUT, 1/2

2шт.

12

NOT USED IN THIS APPLICATION

1шт.

13

S5680

SPACER, basket cover lift rod

2шт.

14

664529R1

STRAP, basket cover lift rod

2шт.

BOLT W/NUT, 1/2 x 2-1/2 mach

4шт.

BOLT W/NUT, 1/2 x 3-3/4 mach

2шт.

NUT, 1/2

2шт.

WASHER, 1/2 lock

6шт.

15

661060R2

ANGLE, rear basket bottom end

1шт.

16

661133R2

ANGLE, left basket bottom

1шт.

17

665824R1

SUPPORT, short basket bottom mesh

7шт.

18

661063R91

MESH, basket bottom, welded assy

2шт.

BOLT W/NUT, 5/16 x 3/4 mach

36шт.

BOLT W/NUT, 5/16 x 1 mach

19шт.

WASHER, 5/16 lock

55шт.

19

661062R2

SUPPORT, basket bottom mesh

1шт.

20

661059R1

STRAP, basket bottom mesh

7шт.

21

661134R1

ANGLE, right basket bottom

1шт.

22

661061R2

ANGLE, front basket bottom end

1шт.

23

666209R1

RAIL, basket slide

3шт.

BOLT W/NUT, 5/16 x 1 no. 3 plow

6шт.

WASHER, 5/16 lock

6шт.

Выбрано товаров: 51