Запчасти Case IH 414 (179) - GEAR SHIFT AND LEFT HAND CONTROLS (90) - PLATFORM, CAB, BODYWORK AND DECALS

Схема запчастей Case IH 414 - (179) - GEAR SHIFT AND LEFT HAND CONTROLS (90) - PLATFORM, CAB, BODYWORK AND DECALS
12
27
7
18
21
14
22
6
25
8
20
19
27
1
5
20
24
16
11
17
4
28
22
9
13
23
26
15
26
10
18
FIT
1:1
100%

Артикул

Название

Примечание

Количество

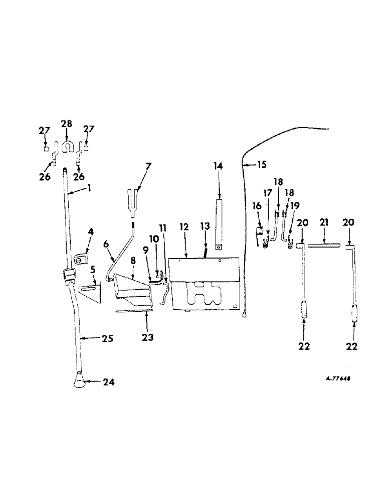
1

668070R91

ROD, gear shifter

1шт.

2

NOT USED

1шт.

3

NOT USED

1шт.

4

661353R1

BLOCK, gear shift rod guide

1шт.

BOLT W/NUT, 3/8 x 1 mach

1шт.

BOLT W/NUT, 3/8 x 1-1/4 mach

1шт.

WASHER, 3/8 lock

2шт.

5

666027R1

PLATE, gear shift guide

1шт.

BOLT W/NUT, 3/8 x 3/4 mach

2шт.

WASHER, 3/8 lock

2шт.

6

666191R1

ROD, drum drive lockout

1шт.

PIN, 1/8 x 1 cotter

2шт.

11002VA

WASHER

17/32 x 7/8 x 16 ga

2шт.

7

221465

CLEVIS, 1/2 heavy duty

1шт.

NUT, 1/2 jam

1шт.

PIN, 5/32 x 3/4 cotter

1шт.

114787

AXLE PIN

PIN, 1/2 rod end

1шт.

8

666187R1

LOCKOUT, drum drive

1шт.

9

666193R1

LOCKOUT, reverse

1шт.

BOLT W/NUT, 3/8 x 1 mach

1шт.

WASHER, 3/8 lock

1шт.

WASHER, 13/32 x 7/8 x 16 ga

1шт.

10

R1076

BUSHING, reverse lockout pivot

1шт.

11

666194R1

ROD, reverse lockout

1шт.

PIN, 3/32 x 1 cotter

2шт.

12

666023R92

PLATE, gear selector

1шт.

BOLT W/NUT, 3/8 x 3/4 mach

1шт.

WASHER, 3/8 lock

1шт.

13

M90102

SPRING

drum drive lockout

1шт.

PIN, 3/16 x 3/4 cotter

1шт.

14

666026R1

SUPPORT, gear selector plate

1шт.

BOLT W/NUT, 3/8 x 3/4 mach

2шт.

WASHER, 3/8 lock

2шт.

15

661837R91

CHOKE

CABLE, control

1шт.

16

665967R1

PLATE, drum drive control shaft bearing

1шт.

BOLT W/NUT, 3/8 x 3/4 mach

2шт.

WASHER, 3/8 lock

2шт.

17

665966R1

ARM, basket hydraulic control

1шт.

18

665968R91

ROD, basket and drum drive control

2шт.

PIN, 1/8 x 1/2 cotter

2шт.

PIN, 1/8 x 1 cotter

2шт.

517194R1

PIN, 1/4 x 1-3/8 std-hd

2шт.

19

666363R1

ARM, drum drive lever

1шт.

BOLT W/NUT, 1/2 x 2-3/4 mach

1шт.

WASHER, 1/2 lock

1шт.

WASHER, 17/32 x 1 x 11 ga

2шт.

20

665963R1

LEVER, basket and drum control

2шт.

21

665964R1

SHAFT, drum and basket control

1шт.

PIN, 1/8 x 1-1/4 cotter

2шт.

576485R1

LOCK PIN,1/4" x 1 1/4", Slotted

1шт.

22

662579R1

GRIP

lever

2шт.

23

666190R1

PIN, drum drive lockout pivot

1шт.

PIN, 1/8 x 3/4 cotter

3шт.

24

629626R1

BALL, gear shift rod

1шт.

25

666029R92

LEVER, gear shift

1шт.

26

668073R1

YOKE, gear shifter

2шт.

BOLT W/NUT, 3/8 x 2-1/2 mach

2шт.

BOLT W/NUT, 1/2 x 3 mach

1шт.

WASHER, 3/8 lock

2шт.

WASHER, 1/2 lock

1шт.

27

651501R1

BUSHING

SPACER, gear shift yoke

2шт.

28

668072R1

BLOCK, gear shifter attaching

1шт.

BOLT W/NUT, 1/2 x 2-1/2 mach

1шт.

WASHER, 1/2 lock

1шт.

Выбрано товаров: 64