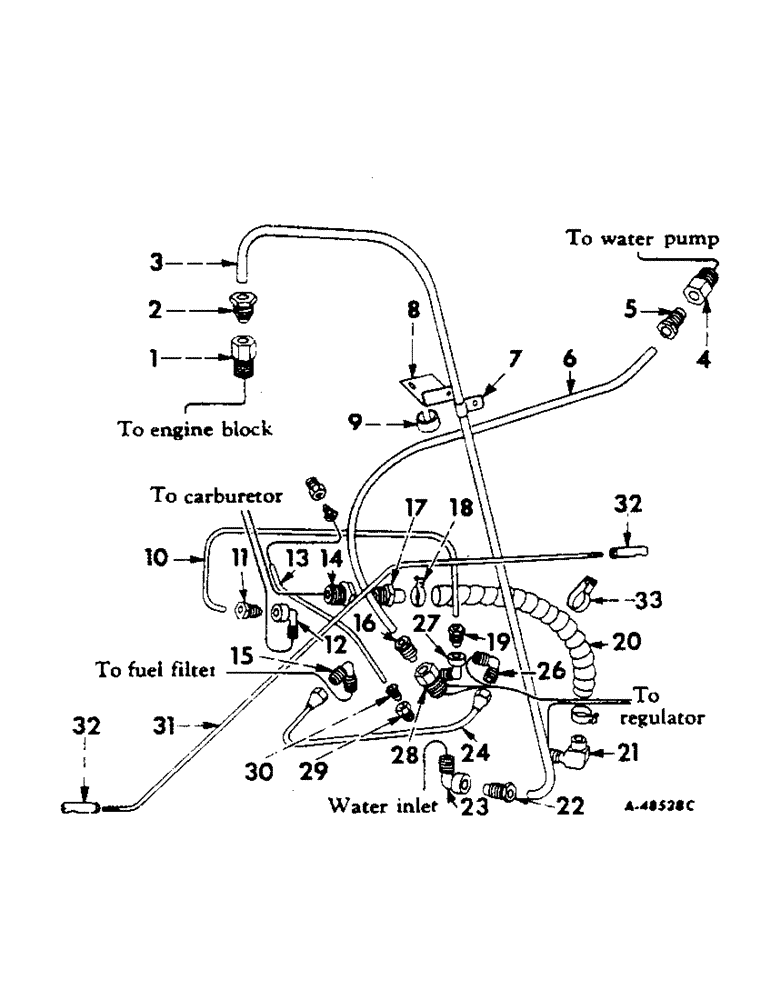
Запчасти Case IH 414 (261) - TUBES, CONNECTIONS AND GOVERNOR CONTROL ROD, FOR L.P. GAS BURNING ENGINES (10) - ENGINE

Схема запчастей Case IH 414 - (261) - TUBES, CONNECTIONS AND GOVERNOR CONTROL ROD, FOR L.P. GAS BURNING ENGINES (10) - ENGINE
9
32
12
3
20
30
22
8
6
33
15
10
27
4
7
2
1
16
13
14
11
18
29
31
28
21
26
32
17
23
24
19
5
FIT
1:1
100%

Артикул

Название

Примечание

Количество

1

18506R1

CONNECTOR, 1/2 straight, water inlet tube to engine block 1/2" NPT x 11/16"-16

1шт.

2

222-506

TUBE NUT,11/16"-16

FITTING, 1/2 water inlet tube

1шт.

3

263379R1

PIPE, water inlet

1шт.

4

18506R1

CONNECTOR, 1/2 straight, water outlet to water pump 1/2" NPT x 11/16"-16

1шт.

5

222-506

TUBE NUT,11/16"-16

FITTING, 1/2 water outlet tube

1шт.

6

273378R1

TUBE, water outlet 1" OD, 14.75, 7" Length

1шт.

7

277012R1

STRAP, water inlet tube

1шт.

144728

SCREW, no. 14-10UNC x 1/2 slt-rd-hd tapping

1шт.

8

277011R1

BRACKET, water inlet tube

1шт.

SCREW, 3/8-16UNC x 3/4 hex-hd cap

1шт.

WASHER, 3/8 lock

1шт.

Q1597

WASHER

13/32 ID x 3/4 OD x no. 16 ga plain

1шт.

9

661780R1

FELT, water inlet tube bracket

1шт.

10

277377R2

TUBE, balance

1шт.

11

19985R1

TUBE NUT,1/2"-20

NUT, 5/16 balance tube

1шт.

12

24847H

ELBOW,90 Degree x 1/8" NPT x 1/2"-20

5/16 90 deg, balance tube to carburetor

1шт.

13

273376R1

TUBE, idle

1шт.

14

NLS

NO LONGER SERVICED

REDUCER, 1 x 3/4 pipe, in carburetor

1шт.

15

109563R1

ELBOW

3/8 90 deg flared, fuel inlet pipe filter

1шт.

16

222-506

TUBE NUT,11/16"-16

FITTING, 1/2 water outlet tube

1шт.

17

91882H

NIPPLE, vaper hose

1шт.

18

274086R91

HOSE CLAMP,0.94/1.63 Type F Worm

CLAMP, vapor hose

2шт.

19

19985R1

TUBE NUT,1/2"-20

NUT, 5/16 balance line tube

1шт.

20

277014R1

HOSE, vapor

1шт.

21

160653R1

ELBOW, 3/4 x 1 vapor hose

1шт.

22

222-506

TUBE NUT,11/16"-16

FITTING, 1/2 water inlet tube

1шт.

23

68134D

ELBOW, 1/2, water inlet to regulator 90º x 1/2" NPT x 11/16"-16

1шт.

24

277007R11

PIPE W/NUTS ASSY, fuel inlet

1шт.

25

NOT USED

1шт.

26

109563R1

ELBOW

3/8 90 deg flared, fuel inlet pipe to fuel regulator

1шт.

27

24847H

ELBOW,90 Degree x 1/8" NPT x 1/2"-20

5/16 90 deg, balance tube to regulator

1шт.

28

18506R1

CONNECTOR, 1/2 straight, water outlet to water pump 1/2" NPT x 11/16"-16

1шт.

29

36521D

CONNECTOR, 3/16 straight, Serial Range: regulator-carburetor

2шт.

30

25038HA

TUBE NUT,3/8"-24

FITTING, 3/16 idle tube

2шт.

31

275078R1

ROD, governor control

1шт.

114492

JAM NUT,Jam, 1/4"-28, G5

1/4NF jam

2шт.

32

304164R91

JOINT

BALL JOINT, governor control rod

2шт.

114492

JAM NUT,Jam, 1/4"-28, G5

1/4NF jam

2шт.

33

NOT USED

1шт.

Выбрано товаров: 39