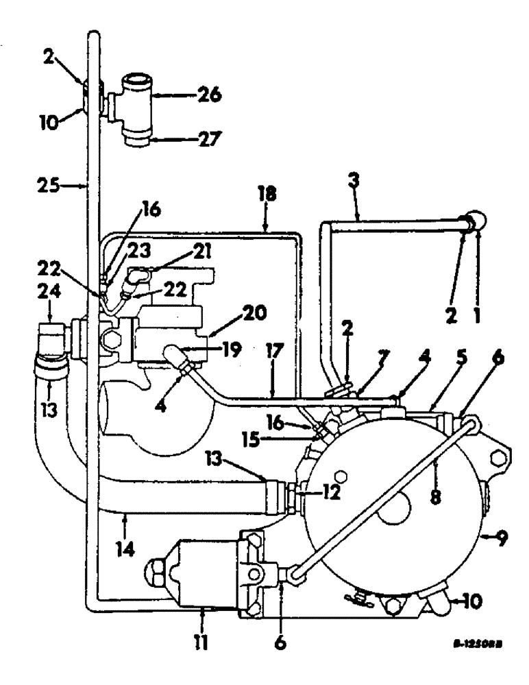
Запчасти Case IH 414 (289) - L.P. GAS FUEL PIPES AND CONNECTIONS, 414, CH813F TO CH1568G, 420, CH1372F TO CH2820G (10) - ENGINE

Схема запчастей Case IH 414 - (289) - L.P. GAS FUEL PIPES AND CONNECTIONS, 414, CH813F TO CH1568G, 420, CH1372F TO CH2820G (10) - ENGINE
13
10
17
2
10
4
9
6
4
22
2
2
13
22
1
21
16
16
23
11
20
6
3
25
8
12
27
5
26
7
19
24
18
14
15
FIT
1:1
100%

Артикул

Название

Примечание

Количество

1

19502R1

ELBOW, 11/16-16 hi-duty tube fitting 45 deg, water outlet

1шт.

2

19987R1

NUT

11/16-16 hi-duty tube fitting

4шт.

3

379381R11

PIPE W/NUTS ASSY, water outlet

1шт.

4

19985R1

TUBE NUT,1/2"-20

NUT, 1/2-20 hi-duty tube fitting

2шт.

5

379380R1

PLATE, fuel regulator mounting

1шт.

179860

BOLT,Hex, 7/16" - 14 x 1 1/4", Gr 5

7/16 X 1-1/4 CAP SCREW

2шт.

277006R1

MOUNTING PLATE SPACER

2шт.

103322

LOCK WASHER,7/16"

WASHER, LOCK, 7/16"

2шт.

6

109563R1

ELBOW

90 deg flared

3шт.

7

18506R1

CONNECTOR, 11/16-16 hi-duty tube fitting male 1/2" NPT x 11/16"-16

1шт.

8

380917R11

PIPE W/NUTS ASSY, Serial Range: filter-regulator

1шт.

9

371100R91

REGULATOR ASSY, fuel, discontinued for service, For components see list of parts under details of fuel regulator

1шт.

9635082

NUT,5/16" - 18, Gr 5

5/16 NUT

3шт.

179823

BOLT,Hex, 5/16" - 18 x 1 5/8", Gr 5

3шт.

103320

LOCK WASHER,5/16"

WASHER, LOCK, 5/16"

3шт.

23323H

SPACER,1/4" Pipe x 1/2"

REGULATOR MOUNTING SPACER

3шт.

10

68134D

ELBOW, 11/16-16 hi-duty tube fitting male pipe 90º x 1/2" NPT x 11/16"-16

2шт.

11

346818R91

FILTER ASSY, fuel, For components see list of parts under details of fuel filter

1шт.

9635082

NUT,5/16" - 18, Gr 5

5/16 NUT

2шт.

179817

BOLT,Hex, 5/16" - 18 x 7/8", Gr 5, Full Thd

2шт.

103320

LOCK WASHER,5/16"

WASHER, LOCK, 5/16"

2шт.

12

188902R1

NIPPLE, fuel hose

1шт.

13

311164C91

HOSE CLAMP,#20, 0.81/1.75 Type F Worm

CLAMP, fuel hose, Replaces 274086R91

2шт.

14

376584R1

HOSE, fuel line

1шт.

15

36521D

CONNECTOR, 3/8-24 hi-duty tube fitting

1шт.

16

19983R1

NUT, 5/16-24 hi-duty tube fitting

2шт.

17

376585R11

PIPE W/NUTS ASSY, balance

1шт.

18

376586R11

PIPE W/NUTS ASSY, idle

1шт.

19

24847H

ELBOW,90 Degree x 1/8" NPT x 1/2"-20

1/2-20 90 deg hi-duty tube fitting male pipe

2шт.

20

380587R92

CARBURETOR ASSY, For components see list of parts under details of carburetor

1шт.

179841

BOLT,Hex, 3/8" - 16 x 1 1/4", Gr 5

2шт.

103321

LOCK WASHER,3/8"

WASHER, LOCK, 3/8"

2шт.

21

32468H

ELBOW,90 Degree x 1/8" NPT x 3/8"-24

3/8-24 90 deg hi-duty tube fitting male pipe

1шт.

22

19983R1

NUT, 5/16-24 hi-duty tube fitting

2шт.

23

19272R1

TEE, 1/8 x 90 deg two-way

1шт.

24

188897R1

ELBOW, fuel hose

1шт.

25

376587R11

PIPE W/NUTS ASSY, water inlet

1шт.

26

138105

TEE,1/2" NPT, Fem

1/2 pipe

1шт.

27

141504

PIPE,Nipple, 1/2" NPT x 1 1/2"

NIPPLE, 1/2 x 1-1/2 close pipe

1шт.

18506R1

CONNECTOR, 11/16-16 hi-duty tube fitting male 1/2" NPT x 11/16"-16

1шт.

61387D

CLIP, choke

1шт.

Выбрано товаров: 0