Запчасти Case IH 414 (349) - INJECTION NOZZLE (10) - ENGINE

Схема запчастей Case IH 414 - (349) - INJECTION NOZZLE (10) - ENGINE
11
1
5
3
13
8
10
14
6
15
12
3
4
7
2
9
FIT
1:1
100%

Артикул

Название

Примечание

Количество

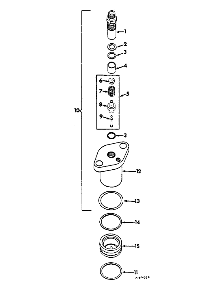
1

278321R1

SOCKET

FITTING, nozzle

1шт.

2

279274R1

GASKET

nozzle

1шт.

3

279274R1

GASKET

nozzle valve

2шт.

4

310402R1

SPACER

SLEEVE, nozzle valve

1шт.

5

332496R91

NOZZLE CAP

VALVE ASSY, nozzle

1шт.

6

310394R1

SEAT

nozzle spring, .101 - .102

1шт.

6

310395R1

SEAT

nozzle spring, .103 - .104

1шт.

6

310396R1

SEAT, nozzle spring, .105 - .106

1шт.

6

310397R1

SEAT

nozzle spring, .107 - .108

1шт.

6

310398R1

SEAT

nozzle spring, .109 - .110

1шт.

6

310399R1

SEAT

nozzle spring, .111 - .112

1шт.

6

310400R1

SEAT

nozzle spring, .113 - .114

1шт.

6

310401R1

SEAT

nozzle spring, .115 - .116

1шт.

7

310393R1

SPRING

nozzle valve

1шт.

8

SEAT, nozzle valve, Order valve assy, 332496R91, ref no. 5

1шт.

9

VALVE, nozzle, Order valve assy, 332496R91, ref no. 5

1шт.

10

332495R91

NOZZLE INJECTION

NOZZLE ASSY, injection

1шт.

11

260879R4

GASKET

precombustion chamber

1шт.

12

310389R1

BODY

nozzle

1шт.

13

251044R2

O-RING,4.32mm Thk x 43.26mm ID

SEAL, nozzle body dust

1шт.

14

260879R4

GASKET

nozzle body

1шт.

15

278275R3

CHAMBER

pre-combustion

1шт.

Выбрано товаров: 22