Запчасти Case IH 420 (187) - HYDRAULIC OIL RESERVOIR (35) - HYDRAULIC SYSTEMS

Схема запчастей Case IH 420 - (187) - HYDRAULIC OIL RESERVOIR (35) - HYDRAULIC SYSTEMS
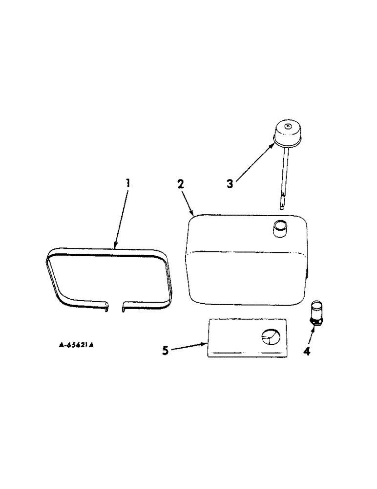
1
2
4
5
3
FIT
1:1
100%

Артикул

Название

Примечание

Количество

1

666366R1

STRAP, hydraulic reservoir

2шт.

BOLT W/NUT, 5/16 x 1-3/4 mach

2шт.

WASHER, 5/16 lock

2шт.

2

666364R91

RESERVOIR, hydraulic oil

1шт.

3

666365R91

CAP, oil reservoir breather

1шт.

4

666640R92

STRAINER, oil reservoir, welded assy

1шт.

5

666367R91

BRACKET, hydraulic reservoir support, welded assy

1шт.

BOLT W/NUT, 3/8 x 1 mach

3шт.

WASHER, 3/8 lock

3шт.

Выбрано товаров: 9