Запчасти Case IH 616 (G-14) - ELECTRICAL SYSTEM, ELECTRICAL SUPPLY RELAY AND CABLE (06) - ELECTRICAL SYSTEMS

Схема запчастей Case IH 616 - (G-14) - ELECTRICAL SYSTEM, ELECTRICAL SUPPLY RELAY AND CABLE (06) - ELECTRICAL SYSTEMS
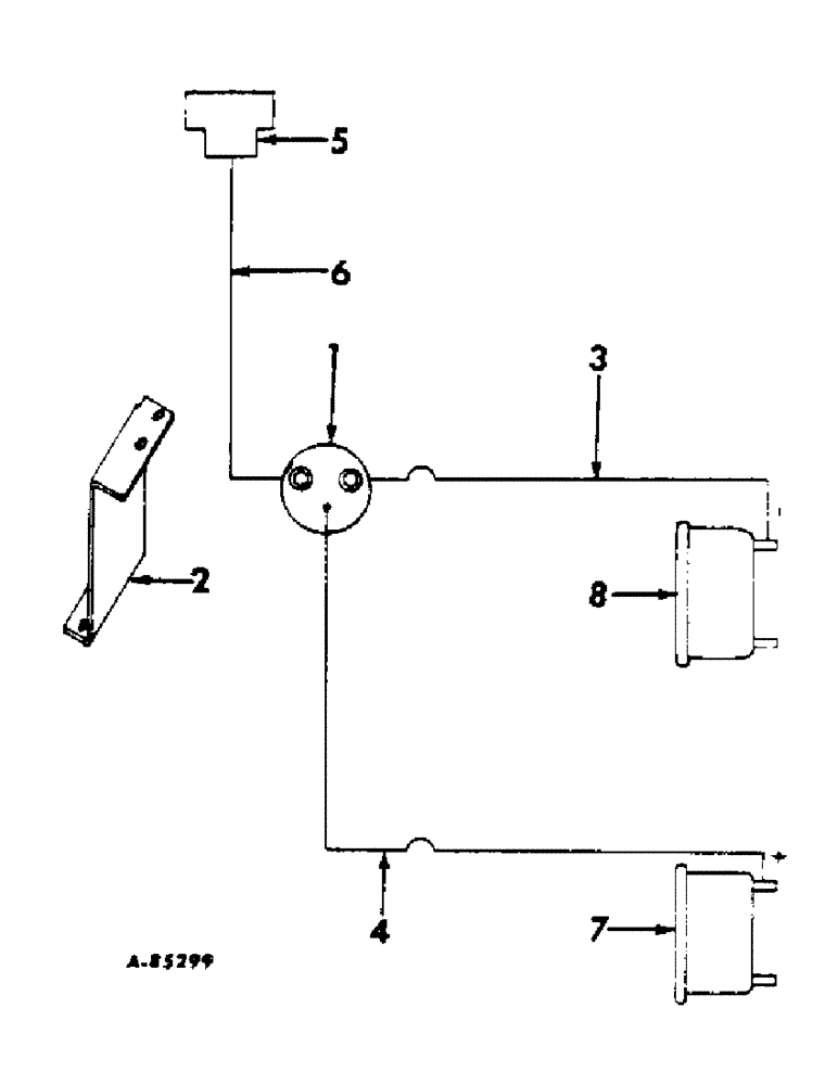
3
2
4
7
6
8
1
5
FIT
1:1
100%

Артикул

Название

Примечание

Количество

1

66581C3

SWITCH

RELAY, electrical supply

1шт.

120376

NUT,5/16"-18, G5

2шт.

80681

LOCK WASHER,5/16"

WASHER, LOCK, 5/16"

2шт.

120614

NUT,Hex, #10 - 32

NUT, #10-32

1шт.

120217

LOCK WASHER,#10

WASHER, LOCK, #10

1шт.

88542

BOLT,Hex, 1/4"-20 x 1/2", Gr 5

SCREW, 1/4-20 x 1/2 znd hex-hd cap

2шт.

120375

NUT,Hex, 1/4" - 20, Gr 5

2шт.

492-11025

LOCK WASHER,1/4"

WASHER, LOCK, 1/4"

2шт.

2

204672C1

BRACKET, relay

1шт.

18763R1

BOLT,Hex, 5/16" - 18 x 1/2", Gr 2

SCREW, 5/16-18 x 1/2 znd hex-hd cap

1шт.

120376

NUT,5/16"-18, G5

1шт.

80681

LOCK WASHER,5/16"

WASHER, LOCK, 5/16"

1шт.

3

207659C1

, Serial Range: ammeter-relay

1шт.

4

204625C1

ignition, Serial Range: switch-relay

1шт.

5

202622C1

terminal

1шт.

6

202621C2

, Serial Range: ammeter-terminal

1шт.

7

INDICATOR ASSY, oil pressure, see section G electrical wiring, and instruments

1шт.

8

INDICATOR ASSY, amp, see section G electrical wiring and instruments

1шт.

Выбрано товаров: 18