Запчасти Case IH 616 (R-29) - PICKER DRUM, PICKER BAR AND SPINDLES Picker Drum

Схема запчастей Case IH 616 - (R-29) - PICKER DRUM, PICKER BAR AND SPINDLES Picker Drum
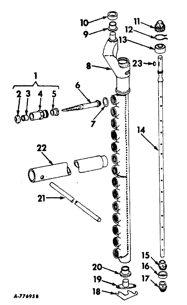
15
11
4
13
17
14
1
3
16
20
12
6
8
19
23
18
9
5
22
10
21
7
2
FIT
1:1
100%

Артикул

Название

Примечание

Количество

1

661418R11

NUT

W/BUSHING, spindle LH, 300 unit C, 260 unit D, 210 unit A, 182 unit B

1шт.

1

661419R11

NUT

W/BUSHING, spindle RH, 182 unit A, 210 unit B, 260 unit C, 300 unit D

1шт.

1

670349R91

NUT

W/BUSHING, spindle LH, 300 unit C, 260 unit D, 210 unit A, 182 unit B, use with 666716R1

1шт.

1

670350R91

NUT

W/BUSHING, spindle RH, 182 unit A, 210 unit B, 260 unit C, 300 unit D, use with 666717R1

1шт.

2

661420R1

SHIELD

picker spindle, 560 unit C and D, 392 unit A and B

1шт.

2

664091R1

SHIELD

picker spindle, 392 unit A and B, 560 unit C and D, use with 666716R1 and 666717R1

1шт.

3

10418R

BUSHING,14.15mm ID x 19.11mm OD x 19.05mm L

spindle nut, 392 unit A and B, 560 unit C and D

1шт.

3

11948R

BUSHING

spindle nut, 392 unit A and B, 560 unit C and D, use w/666716R1 and 666717R1

1шт.

4

661418R1

NUT

picker spindle LH, 300 unit C, 260 unit D, 210 unit A, 182 unit B

1шт.

4

661419R1

NUT

picker spindle RH, 182 unit A, 210 unit B, 260 unit C, 300 unit D

1шт.

5

656788R4

BUSHING,14.15mm ID x 19.11mm OD x 19.05mm L

spindle nut flanged, 392 unit A and B, 560 unit C and D

1шт.

5

11947RD

BUSHING

spindle nut flanged, 392 unit A and B, 560 unit C and D, use w/666716R1 and 666717R1

1шт.

6

662606R1

SPINDLE

picker LH, 210 unit A, 182 unit B, 300 unit C, 260 unit D

1шт.

6

662607R1

SPINDLE

picker RH, 182 unit A, 210 unit B, 260 unit C, 300 unit D

1шт.

6

666716R1

SPINDLE

picker LH 5/8 dia. special, 210 unit A, 182 unit B, 300 unit C, 260 unit d

1шт.

6

666717R1

SPINDLE

picker RH 5/8 dia. special, 182 unit A, 210 unit B, 260 unit C, 300 unit D

1шт.

7

11264R

SHIM,25.77mm ID x 31.75mm OD x 0.2mm Thk

(0.008"), Spindle nut, 392 or as required unit A and B, 560 or as required unit C and D 0.2032mm Thk

1шт.

7

674980R2

SHIM,25.77mm ID x 31.75mm OD x 0.31mm Thk

(0.012"), Spindle nut, 100 or as required unit A and B, 140 or as required unit C and D 0.3048mm Thk

1шт.

7

202099C1

SPACER

SHIM, spindle nut .004

1шт.

8

669810R91

BAR ASSY, picker LH, 15 unit A, 13 unit B

1шт.

8

669811R91

BAR ASSY, picker RH, 13 unit A, 15 unit B

1шт.

8

672461R91

BAR ASSY, picker LH, 15 unit C, 13 unit D

1шт.

8

672462R91

BAR ASSY, picker RH, 13 unit C, 15 unit D

1шт.

8

670382R1

ARM, picker bar cam LH, 15 units A and C, 13 units B and D

1шт.

8

670383R1

ARM, picker bar cam RH, 13 units A and C, 15 units B and D

1шт.

9

11458RA

BUSHING

bar cam arm

56шт.

10

669816R1

ROLLER

picker bar cam arm

56шт.

11

657789R3

GEAR

spindle drive shaft

56шт.

19368R1

PIN,5/32" x 1", Coiled

28шт.

12

202087C1

SNAP RING

RING, .078 spindle drive shaft brg snap, blue

56шт.

12

10051R

OIL SEAL

RING, .093, spindle drive shaft brg snap, black

56шт.

12

665060R1

OIL SEAL

RING, .101 spindle drive shaft brg snap, silver

56шт.

12

665061R1

SNAP RING

RING, .109 spindle drive shaft brg snap, copper

56шт.

13

ST719

BALL BEARING,14 mm ID x 35 mm OD x 11 mm

BEARING ASSY, spindle drive shaft, replaces ST546

56шт.

14

668701R92

SHAFT

ASSY, spindle drive, 28 unit C and D

1шт.

14

668703R92

SHAFT

ASSY, spindle drive, 28 unit A and B

1шт.

15

10054RA

GEAR

spindle short, 280 unit A and B, 420 unit C and D

1шт.

25954R1

LOCK PIN,9/64" x 1", Slotted

Pin, , 280 unit A and B, 420 unit C and D 9/64" x 1", Slotted

1шт.

16

11456RB

BUSHING

spindle gear, 112 unit A, and B, 140 unit C and D

1шт.

16

664682R1

BUSHING,0.88" ID x 1.127" OD x 7"

BUSHING, spindle gear, undersize, 112 unit A and B, 140 unit C and D

1шт.

16

664265R1

BUSHING, spindle gear, oversize, 112 unit A and B, 140 unit C and D

1шт.

17

10053RA

GEAR

spindle long, 112 unit A and B, 140 unit C and D

1шт.

25954R1

LOCK PIN,9/64" x 1", Slotted

Pin, , 112 unit A and B, 140 unit C and D 9/64" x 1", Slotted

1шт.

18

669817R1

SHIM,0.08mm Thk

picker bar .003, or as required

56шт.

18

669818R1

SHIM,0.18mm Thk

picker bar .005, or as required

56шт.

18

669819R1

SHIM,0.18mm Thk

picker bar .007, or as required

56шт.

18

669820R1

SHIM,0.25mm Thk

picker bar .010, or as required

56шт.

19

669821R92

PIVOT

ASSY, picker bar, unit A L501M thru 000696, unit B R501M thru 000696, unit C L501M thru 001482, unit D R501M thru 001481

56шт.

181332

BOLT,Hex, 5/16" - 24 x 9/16", Gr 5, Full Thd

112шт.

103320

LOCK WASHER,5/16"

WASHER, LOCK, 5/16"

112шт.

19

202528C1

PIVOT

ASSY, picker bar, unit A and B 000697 and up, unit C 001483 and up, unit D 001482 and up

56шт.

181333

BOLT,Hex, 5/16" - 24 x 5/8", Gr 5

112шт.

103320

LOCK WASHER,5/16"

WASHER, LOCK, 5/16"

112шт.

20

669815R1

BUSHING

picker bar bottom pivot

56шт.

21

11076R

ROD

spindle nut wrench

1шт.

22

11073RB

OPEN END WRENCH

WRENCH ASSY, spindle nut

1шт.

23

126-111

WOODRUFF KEY,#5, 1/8" x 5/8", HT

KEY, Woodruff no. 5

56шт.

Выбрано товаров: 57