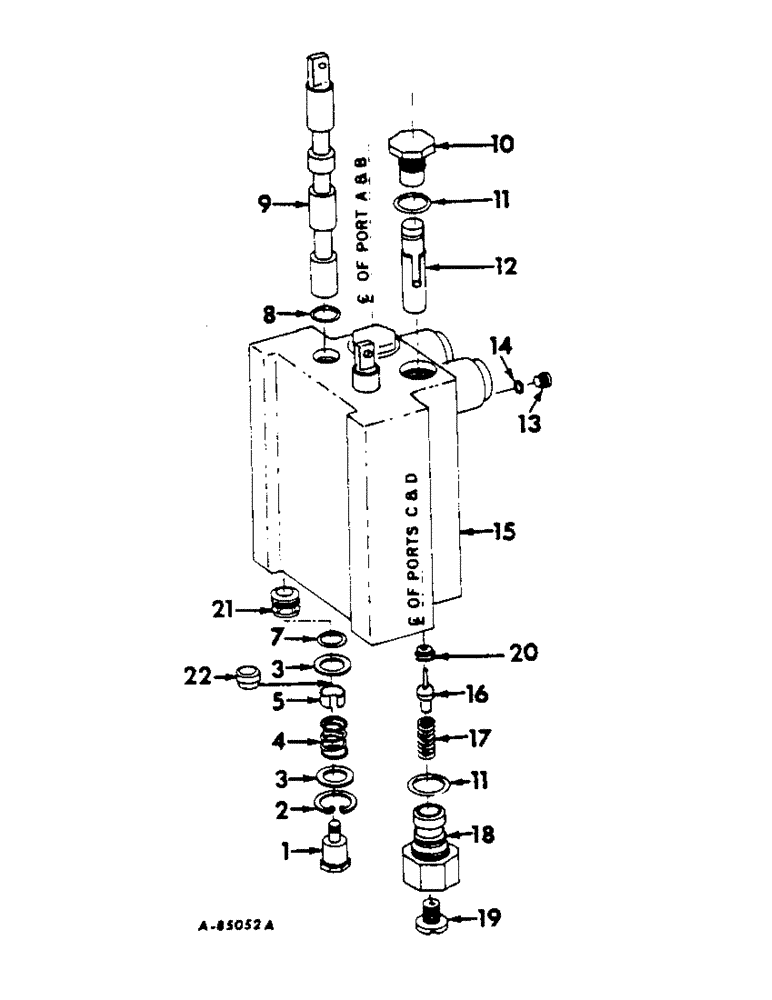
Запчасти Case IH 622 (F-17) - HYDRAULICS SYSTEM, HYDRAULIC DRUM CONTROL VALVE (07) - HYDRAULIC SYSTEM

Схема запчастей Case IH 622 - (F-17) - HYDRAULICS SYSTEM, HYDRAULIC DRUM CONTROL VALVE (07) - HYDRAULIC SYSTEM
18
14
13
5
11
1
2
11
9
8
7
19
12
17
3
20
16
3
22
4
21
10
15
FIT
1:1
100%

Артикул

Название

Примечание

Количество

673196R92

VALVE

ASSY, hyd drum control

1шт.

179828

BOLT,Hex, 5/16" - 18 x 2 1/2", Gr 5

2шт.

9635082

NUT,5/16" - 18, Gr 5

5/16-18 hex.

2шт.

103320

LOCK WASHER,5/16"

WASHER, LOCK, , Composed of the following service parts 5/16"

2шт.

1

673719R1

spool

2шт.

2

364838R1

SNAP RING,0.938", Int, #93

Ring, Snap, , replaces 673727R1, 616CH00810 and below, 622CH001567 and below 0.938", Int, #93

1шт.

3

395887R1

WASHER

4шт.

4

477850R1

SPRING

spool center

2шт.

5

673720R1

SPACER

spool

2шт.

6

(Not used)

1шт.

7

NOT SERVICED SEPARATELY, order 673729R91, 616CH0008410 and below, 622CH001567 and below, order 202258C1, 616CH000811 and up, 622CH001568 and up

1шт.

8

NOT SERVICED SEPARATELY, order 673729R91, 616CH000810 and below, 622CH001567 and below, order 202258C1, 616CH000811 and up, 622CH001568 and up

1шт.

9

NOT SERVICED SEPARATELY, order 673196R92

1шт.

10

673716R1

hex., 616CH000810 and below, 622CH001567 and below

2шт.

10

202255C1

PLUG

hex., 616CH000811 and up, 622CH001568 and up

2шт.

11

NOT SERVICED SEPARATELY, order 673729R91, 616CH000810 and below, 622CH001567 and below, order 202258C1, 616CH000811 and up, 622CH001568 and up

1шт.

12

673715R1

unloading, used with A and B ports

1шт.

12

202972C1

PLUNGER

lockout, replaces 673713R1, used with C and D ports

1шт.

13

564782R1

PLUG, slotted

1шт.

14

NOT SERVICED SEPARATELY, order 546782R1

1шт.

15

NOT SERVICED SEPARATELY, order 673196R92

1шт.

16

588351R91

VALVE

POPPET ASSY

2шт.

17

574789R1

SPRING

lockout, 616CH000810 and below, 622CH001567 and below

2шт.

17

202257C1

SPRING

lockout, 616CH000811 and up, 622CH001568 and up

2шт.

18

673718R1

port adapter, 616CH000810 and below, 622CH001567 and below

2шт.

18

202253C1

PLUG

port adapter, 616CH000811 and up, 622CH001568 and up

2шт.

19

673728R1

WASHER

PLATE, orifice

2шт.

673729R91

seal repair, 616CH000810 and below, 622CH001567 and below, composed of (2) poppet 588351R91, (1) o-ring 304610R1, (4) o-ring 252707R1, (4) washer 673717R1, (2) o-ring 350429R1, (2) o-ring 592674R1

1шт.

202258C1

KIT

seal repair, 616CH000811 and up, 622CH001568 and up, composed of (2) poppet assemblies 588351R91, (2) o-ring 252739R1, (5) o-ring 252707R1, (4) washers 58128C1, (2) o-ring 350429R1, (2) o-ring 592674R1

1шт.

20

477845R91

SEAT

lockout, 616CH000811 and up, 622CH001568 and up

2шт.

21

202254C1

CAP

assy, 616CH000811 and up, 622CH001568 and up

2шт.

22

202256C1

BUSHING

616CH000811 and up, 622CH001568 and up

2шт.

Выбрано товаров: 32