Запчасти Case IH 622 (N-08) - PARTS ACCESSORIES AND ATTACHMENTS, HEATER AND CONNECTIONS Accessories & Attachments

Схема запчастей Case IH 622 - (N-08) - PARTS ACCESSORIES AND ATTACHMENTS, HEATER AND CONNECTIONS Accessories & Attachments
10
10
1
15
19
4
14
15
7
8
11
6
15
13
8
5
18
9
3
8
17
12
9
16
2
20
13
8
FIT
1:1
100%

Артикул

Название

Примечание

Количество

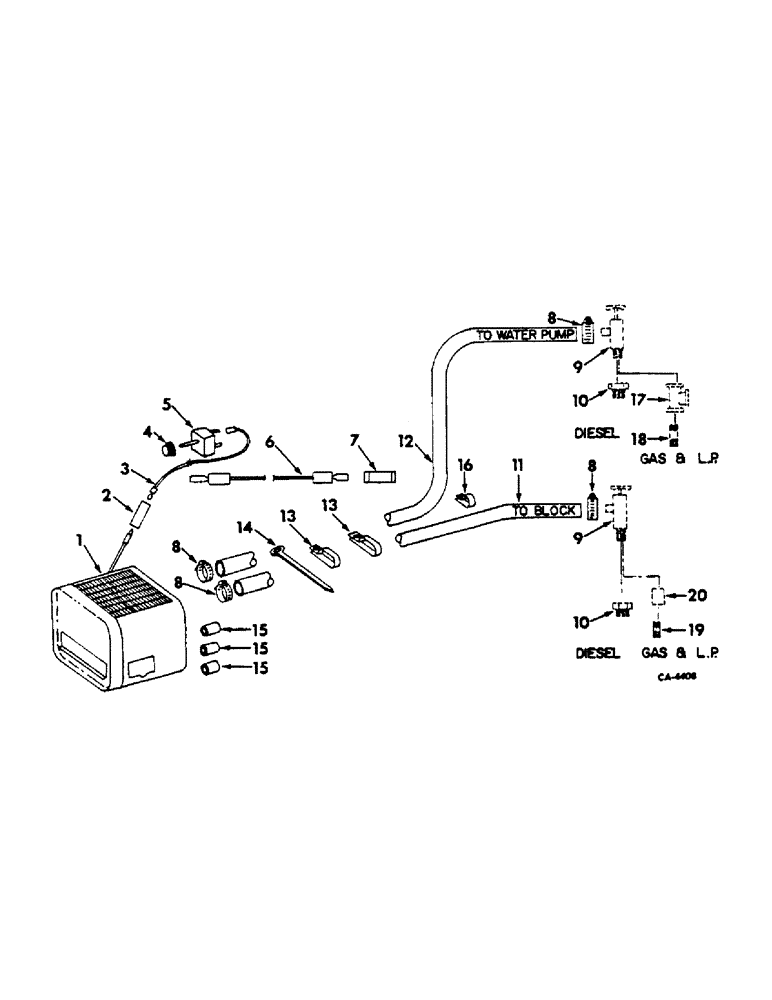
1

936197R91

ASSY, see section N operators cab heater

1шт.

619855R1

WASHER

11/32 x 3/4 x 16 ga C-Z

3шт.

2

46893H1

CONNECTOR, heater power supply cable

1шт.

3

200863C1

WIRE ASSY, heater lead

1шт.

4

200860C1

KNOB

heater switch

1шт.

5

200542C91

ASSY, heater two speed

1шт.

6

673456R1

jumper

1шт.

7

147685

FUSE,14 Amp, Type SFE

cartridge type SFE 14

1шт.

8

168802H1

HOSE CLAMP

5/8 heater hose no. 10

4шт.

9

VALVE ASSY, cut off, see section A radiator connection and fan drive, gas, see section A radiator connection and fan drive, diesel

2шт.

10

ADAPTER, 1/2 x 3/8 reducing pipe, see section A radiator connection and fan drive, diesel

2шт.

11

HEATER HOSE, use 170 inches of 5/8 inch heater hose from a 50 ft. roll marked 995108R2

1шт.

12

HEATER HOSE, use 154 inches of 5/8 inch heater hsoe from a 50 ft. roll marked 995108R2

1шт.

13

204412C1

CLIP, heater hose

2шт.

14

670362R1

CABLE

STRAP, heater hose

3шт.

15

878986R1

SPACER,1/4" Pipe x 5/8"

1/4 x .625 std pipe

3шт.

16

126105

SHIM,.0075 Thk

no. 14 hose, diesel only

1шт.

18494R1

BOLT,Hex, 3/8" - 16 x 1", Gr 2

3/8 x 1 znd hex-hd mach

1шт.

120377

NUT,3/8" - 16, Gr 5

1шт.

120382

LOCK WASHER,Helical Spring, 3/8"

WASHER, LOCK, 3/8"

1шт.

17

TEE, 3/8 pipe, see section A radiator connection and fan drive, gas

1шт.

18

NIPPLE, 3/8 x 2 pipe, see section A radiator connection and fan drive, gas

1шт.

19

NIPPLE, 3/8 x 1 pipe, see section A radiator connection and fan drive, gas

1шт.

20

COUPLING, 3/8 pipe, see section A radiator connection and fan drive, gas

1шт.

Выбрано товаров: 24