Запчасти Case IH 622 (R-37) - PICKER DRUM, DRIP LUBRICATION ATTACHMENT Picker Drum

Схема запчастей Case IH 622 - (R-37) - PICKER DRUM, DRIP LUBRICATION ATTACHMENT Picker Drum
16
11
16
13
3
21
1
17
6
9
14
14
13
20
2
10
18
4
19
9
15
5
5
16
12
8
7
FIT
1:1
100%

Артикул

Название

Примечание

Количество

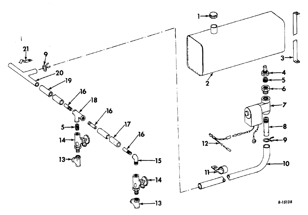
1

23995DC

FILLER CAP

CAP W/GASKET, oil

1шт.

2

671334R91

TANK ASSY, oil

1шт.

3

671335R1

STRAP, tank

2шт.

180124

BOLT,Hex, 3/8" - 16 x 1 1/4", Gr 5

SCREW, 3/8 x 1-1/4 znd hex-hd cap

4шт.

120377

NUT,3/8" - 16, Gr 5

4шт.

120382

LOCK WASHER,Helical Spring, 3/8"

WASHER, LOCK, 3/8"

4шт.

4

666129R91

STRAINER ASSY.

STRAINER ASSY, fuel tank

1шт.

5

105404

PIPE,Nipple, 1/8" NPT x 3/4"

NIPPLE, 1/8 x 3/4 pipe

3шт.

6

119930

BUSHING,1/4" NPT Male x 1/8" NPT Fem

ADAPTER, 1/4 x 1/8 reducing pipe

1шт.

7

672824R91

VALVE

ASSY, oil shut-off

1шт.

7

202172C1

KIT

ASSY, shut-off valve service, consists of (1) clip, retaining, (1) core assy, (1) gasket, body, (1) spring, core

1шт.

8

665253R1

NIPPLE, 1/4 pipe

1шт.

9

313317R1

HOSE CLAMP,#12, 3/4", Spring

CLAMP, no. 12 hose

2шт.

10

666644R1

HOSE, plastic

1шт.

11

400505R1

CLAMP

1/2 in. hose, replaces 120525

1шт.

18778R1

SCREW,Hex, 3/8"-16 x 3/4", G2

BOLT, 3/8 x 3/4 znd hex-hd mach

1шт.

120377

NUT,3/8" - 16, Gr 5

1шт.

120382

LOCK WASHER,Helical Spring, 3/8"

WASHER, LOCK, 3/8"

1шт.

12

201499C1

CABLE ASSY, water solenoid to oil solenoid

1шт.

13

105417

TEE,1/4" NPT, Fem

1/4 pipe

4шт.

14

656809R91

GAUGE

VALVE ASSY, drip gage

4шт.

15

105422

ELBOW UNION

ELBOW, 1/8 90 deg street

2шт.

16

655597R1

NIPPLE, LUBE

NIPPLE, 1/8 x 2 galvanized steel pipe

6шт.

17

HOSE, valve to valve, use 24 in. of 9/32 in. hose from a 50 ft. roll marked 665180R1

2шт.

18

105416

TEE,1/8" NPT, Fem

1/8 pipe

2шт.

19

HOSE, tee to valve, use 40 in. of 9/32 in. hose from a 50 ft. roll marked 665180R1

1шт.

20

665245R91

TEE

ASSY, water line

1шт.

21

263717R91

CLIP

water line tee

1шт.

Выбрано товаров: 28