Запчасти Case IH 782 (8-212) - HYDRAULIC OIL RESERVOIR PUMP MOTOR COOLER FILTER AND CONNECTIONS (07) - HYDRAULICS

Схема запчастей Case IH 782 - (8-212) - HYDRAULIC OIL RESERVOIR PUMP MOTOR COOLER FILTER AND CONNECTIONS (07) - HYDRAULICS
6
21
4
5
17
23
24
17
19
9
18
18
1
10
10
7
3
22
26
2
12
10
5
25
14
15
8
16
11
17
5
20
5
18
13
FIT
1:1
100%

Артикул

Название

Примечание

Количество

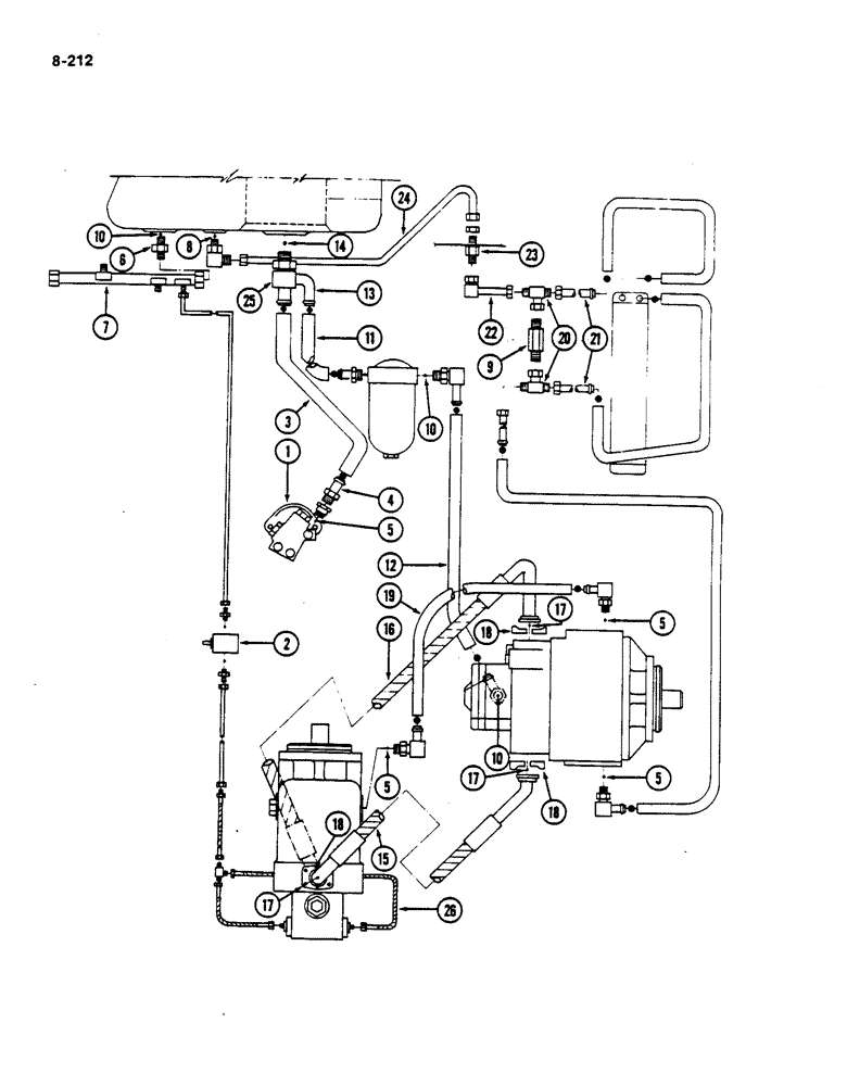
1

1272645C91

PUMP, HYDRAULIC

PUMP ASSEMBLY - hydraulic (Replaces 127832C91 by also ordering connector 1322912C1 and support 214742C2.) (See Page 8-241)

1шт.

The other two hoses that connect to this pump are found on page 5-139, Ref. 4 (to steering hand pump) and page 8-216, Ref. 4 (to basket valve).

1шт.

To service the old pump, use service kit 133606C1.

1шт.

180124

BOLT,Hex, 3/8" - 16 x 1 1/4", Gr 5

- hex, 3/8 NC x 1-1/4 inch

2шт.

120382

LOCK WASHER,Helical Spring, 3/8"

WASHER, LOCK, 3/8"

2шт.

120377

NUT,3/8" - 16, Gr 5

2шт.

2

403347R91

LOCK VALVE

VALVE ASSEMBLY - foot-n-inch (See Page 6-163)

1шт.

180130

BOLT,Hex, 3/8" - 16 x 2", Gr 5

- hex, 3/8 NC x 2 inch

2шт.

120382

LOCK WASHER,Helical Spring, 3/8"

WASHER, LOCK, 3/8"

2шт.

120377

NUT,3/8" - 16, Gr 5

2шт.

209898C1

SUPPORT

- pilot relief valve

1шт.

180077

BOLT,Hex, 5/16" - 18 x 3/4", Gr 5

- hex, 5/16 NC x 3/4 inch

2шт.

80681

LOCK WASHER,5/16"

WASHER, LOCK, 5/16"

2шт.

120376

NUT,5/16"-18, G5

2шт.

3

NSS

NOT SOLD SEPARAT

HOSE - 68 inch (1727 mm) (Cut from 637729C1, 50 foot roll) (15 m)

1шт.

637729C1

HOSE

- rubber, 50 foot (15 m) roll

1шт.

4

215078C1

FITTING

- pump hose

1шт.

5

368269R1

O-RING,0.116" Thk x 0.924" ID, -912, Cl 6, 90 Duro

- 3/4 inch OD tube

3шт.

6

9410207

HYD CONNECTOR,1 5/16"-12, 37 Degree x 1 5/16"-12, O-Ring

CONNECTOR - short swivel tube, 1-5/16-12 inch thread

1шт.

7

215453C1

TUBE

- system drain

1шт.

8

364885R1

O-RING,0.097" Thk x 0.755" ID, -910, Cl 6, 90 Duro

- 3/4 ID x 3/32 inch width (19 ID x 2 mm width)

1шт.

9

203834C1

VALVE

- oil cooler check

1шт.

10

296247R1

O-RING,16-1, 90 Duro, 1.171" ID x .116" Thk

- 1-11/64 ID x 0.116 width (30 ID x 3 mm width)

3шт.

11

NSS

NOT SOLD SEPARAT

HOSE - hydraulic, 40-1/2 inch (1029 mm) (Cut from 637728C1, 50 foot roll) (15 m)

1шт.

637728C1

HOSE

- rubber, 50 foot (15 m) roll

1шт.

12

NSS

NOT SOLD SEPARAT

HOSE - hydraulic, 46 inch (1168 mm) (Cut from 637728C1, 50 foot roll) (15 m)

1шт.

13

215818C1

FITTING

- tank

1шт.

14

307915R1

O-RING,0.118" Thk x 1.475" ID, -920, Cl 6, 90 Duro

- 1-1/4 inch OD tube

1шт.

15

216197C1

HOSE

- hydrostatic

1шт.

16

216198C1

HOSE

- hydrostatic

1шт.

17

343906R1

O-RING,0.139" Thk x 1.296" ID, -219, Cl 6, 90 Duro

- 1-5/16 ID x 1/8 inch width

4шт.

18

877949C2

CLAMP

FLANGE - split

8шт.

180124

BOLT,Hex, 3/8" - 16 x 1 1/4", Gr 5

- hex, 3/8 NC x 1-1/4 inch

16шт.

120382

LOCK WASHER,Helical Spring, 3/8"

WASHER, LOCK, 3/8"

16шт.

19

NSS

NOT SOLD SEPARAT

HOSE - motor case drain, 31 inch (787 mm) (Cut from 73200C1, 50 foot roll) (15 m)

1шт.

73200C1

HOSE,16mm ID x 1219.2mm L

Rubber, 50 Foot Roll 0.63" ID x 48.00"

1шт.

20

9410308

TEE,37 Degree, 7/8"-14 x 7/8"-14, Fem Sw Br

- hydraulic tube swivel, 7/8-14 inch thread

2шт.

21

216038C1

FITTING

ELBOW - oil cooler tube

3шт.

22

222330C1

TUBE

- oil cooler (Low drum P.I.N. 682 and after, high drum P.I.N. 2125 and after)

1шт.

22

216116C1

TUBE - oil cooler (Low drum P.I.N. 507 thru 681, high drum P.I.N. 507 thru 2124) 15.87 mm OD, 101 mm Length

1шт.

23

9403257

FITTING,Blkhd, 1 1/16"-12, 37 Degree x 1 1/16"-12, 37 Degree

UNION - hydraulic tube bulkhead, 1-1/16-12 inch thread

1шт.

24

215023C1

TUBE

- oil cooler (Low drum P.I.N. 507 thru 681, high drum P.I.N. 507 thru 2124)

1шт.

24

222873C1

TUBE

- oil cooler front

1шт.

24

222874C1

TUBE

- oil cooler rear (Low drum P.I.N. 682 and after, high drum P.I.N. 2125 and after)

1шт.

25

673391R1

ELBOW UNION,90 Degree, 1 1/16"-12, 37 Degree x 7/8"-14, O-Ring

ELBOW - reservoir, with nut and washer

1шт.

Выбрано товаров: 45