Запчасти Case IH 782 (8-226) - BASKET DISTRIBUTOR CYLINDER (07) - HYDRAULICS

Схема запчастей Case IH 782 - (8-226) - BASKET DISTRIBUTOR CYLINDER (07) - HYDRAULICS
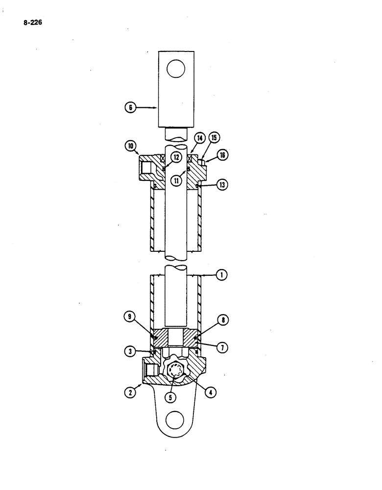
15
11
5
13
3
7
9
2
4
10
8
1
6
12
16
14
FIT
1:1
100%

Артикул

Название

Примечание

Количество

145499C93

CYLINDER

ASSEMBLY - hydraulic (Not available for service, order cylinder 1272487C91)

1шт.

1

145511C1

SLEEVE

1шт.

2

1272766C1

HEAD

- rear (Replaces 145218C1)

1шт.

3

NSS

NOT SOLD SEPARAT

O-RING - 2-1/4 x 2-1/2, Class 6

1шт.

Part of O-ring and seal service kit P/N 79975C2

1шт.

Part of O-ring and seal service kit P/N 145572C1

1шт.

4

9410359

PLUG

- O-ring boss, 1/2 inch STR thread

1шт.

5

NSS

NOT SOLD SEPARAT

O-RING - 1/2 OD tube, Class 6

1шт.

Part of O-ring and seal service kit P/N 79975C2

1шт.

Part of O-ring and seal service kit P/N 145572C1

1шт.

6

145513C1

ROD

- piston

1шт.

7

145221C3

PISTON

- cylinder

1шт.

8

NSS

NOT SOLD SEPARAT

O-RING - 2-1/16 x 2-1/4, Class 5

1шт.

Part of O-ring and seal service kit P/N 79975C2

1шт.

Part of O-ring and seal service kit P/N 145572C1

1шт.

9

NSS

NOT SOLD SEPARAT

RING - piston seal

1шт.

Part of O-ring and seal service kit P/N 79975C2

1шт.

Part of O-ring and seal service kit P/N 145572C1

1шт.

10

1272767C1

CYLINDER END CAP

HEAD - front (Replaces 145220C1 and 1260876C1)

1шт.

11

NSS

NOT SOLD SEPARAT

SEAL - piston rod urethane (Used with head, 1260876C1 and 1272767C1)

1шт.

Part of O-ring and seal service kit P/N 79975C2

1шт.

Part of O-ring and seal service kit P/N 145572C1

1шт.

11

NSS

NOT SOLD SEPARAT

O-RING - 1-1/4 x 1-1/2, Class 6

1шт.

Part of O-ring and seal service kit P/N 79975C2

1шт.

Part of O-ring and seal service kit P/N 145572C1

1шт.

12

NSS

NOT SOLD SEPARAT

WASHER - O-ring back-up

1шт.

Part of O-ring and seal service kit P/N 79975C2

1шт.

Part of O-ring and seal service kit P/N 145572C1

1шт.

13

NSS

NOT SOLD SEPARAT

O-RING - 2-1/4 x 2-1/2, Class 6

1шт.

Part of O-ring and seal service kit P/N 79975C2

1шт.

Part of O-ring and seal service kit P/N 145572C1

1шт.

14

NSS

NOT SOLD SEPARAT

SEAL - piston rod wiper

1шт.

Part of O-ring and seal service kit P/N 79975C2

1шт.

Part of O-ring and seal service kit P/N 145572C1

1шт.

15

145516C1

BOLT,7/16" - 14 x 599mm

- tie

4шт.

16

NLS

NO LONGER SERVICED

- hex, 7/16 inch NC

4шт.

79975C2

SEAL KIT

KIT O-ring and seal service, Includes: Ref. 3, 5, 8, 9 and 11 - 14

1шт.

145572C1

KIT

- O-ring and seal service, Ref. 3, 5, 8, 9 and 11 - 14

1шт.

Выбрано товаров: 38