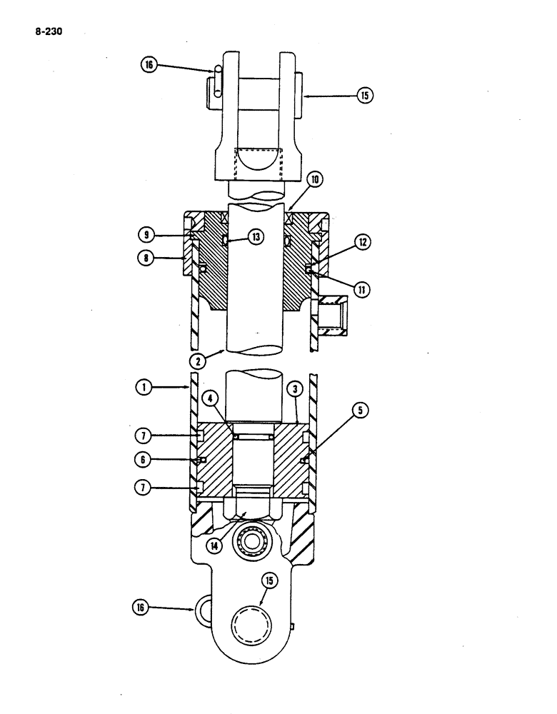
Запчасти Case IH 782 (8-230) - DRUM LIFT CYLINDER (07) - HYDRAULICS

Схема запчастей Case IH 782 - (8-230) - DRUM LIFT CYLINDER (07) - HYDRAULICS
7
3
16
15
6
11
7
10
16
8
2
1
15
14
5
13
4
12
9
FIT
1:1
100%

Артикул

Название

Примечание

Количество

133563C93

CYLINDER ASSY.

CYLINDER ASSEMBLY - hydraulic

1шт.

1

NSS

NOT SOLD SEPARAT

BODY (Order 133563C93)

1шт.

2

133567C3

ROD

- piston

1шт.

3

378354R1

PISTON - cylinder

1шт.

4

NSS

NOT SOLD SEPARAT

O-RING - 1 x 1-1/4, Class 5

1шт.

Part of O-ring and seal service kit P/N 404219R93

1шт.

5

NSS

NOT SOLD SEPARAT

O-RING - 3 x 3-3/16, Class 6

1шт.

Part of O-ring and seal service kit P/N 404219R93

1шт.

6

NSS

NOT SOLD SEPARAT

SEAL - piston

1шт.

Part of O-ring and seal service kit P/N 404219R93

1шт.

7

NSS

NOT SOLD SEPARAT

RING - piston bearing

2шт.

Part of O-ring and seal service kit P/N 404219R93

1шт.

8

381089R1

RING

CAP - front head retaining

1шт.

9

403270R1

FITTING

HEAD - front

1шт.

10

NSS

NOT SOLD SEPARAT

WIPER - piston rod

1шт.

Part of O-ring and seal service kit P/N 404219R93

1шт.

11

NSS

NOT SOLD SEPARAT

O-RING - 3-1/8 x 3-1/2, Class 5

1шт.

Part of O-ring and seal service kit P/N 404219R93

1шт.

12

NSS

NOT SOLD SEPARAT

WASHER - O-ring back-up

1шт.

Part of O-ring and seal service kit P/N 404219R93

1шт.

13

NSS

NOT SOLD SEPARAT

SEAL - piston rod urethane

1шт.

Part of O-ring and seal service kit P/N 404219R93

1шт.

14

25126R1

LOCK NUT,1 1/8"-12, GC

NUT - hex lock, 1-1/8 inch NF

1шт.

15

60909C1

PIN

- pivot

2шт.

16

520175R1

CLIP

PIN - cotter, quick attachable

2шт.

404219R93

SEAL KIT

- O-ring and seal service, Includes: Ref. 4 - 7 and 10 - 13

1шт.

1272850C1

ADAPTER

screws into the exhaust port of the lift cylinder

1шт.

106671

LUBE NIPPLE,1/8"-27 NPT x .50" lg, Press Relief

fitting, screws into adapter 1272850C1

1шт.

Выбрано товаров: 28