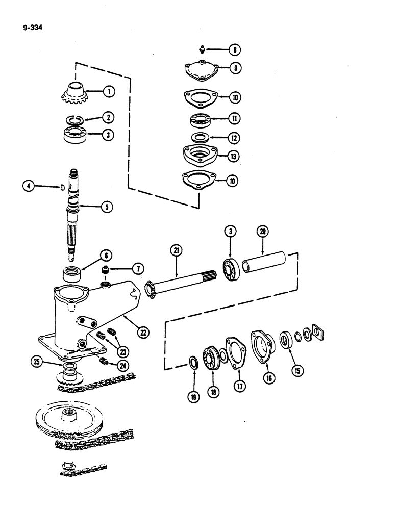
Запчасти Case IH 782 (9-334) - LEFT PICKER DRUM DRIVE (09) - CHASSIS ATTACHMENTS

Схема запчастей Case IH 782 - (9-334) - LEFT PICKER DRUM DRIVE (09) - CHASSIS ATTACHMENTS
3
24
9
16
7
19
15
11
23
2
4
10
25
13
21
3
5
20
1
12
8
6
22
18
17
10
FIT
1:1
100%

Артикул

Название

Примечание

Количество

1

656143R2

GEAR

- picker drive

1шт.

2

359141R1

RING, SNAP

RING - picker drive sprocket shaft

1шт.

3

ST205A

BEARING, BALL,35 mm ID x 72 mm OD x 17 mm

BEARING - picker drive pinion and sprocket

2шт.

4

IH124555

WOODRUFF KEY,#16, 3/16" x 1 1/8", HT

KEY - Woodruff, 3/16 x 1-1/8 inch

1шт.

5

660706R2

SHAFT

- picker drive sprocket

1шт.

22480R1

WASHER

- flat, 29/32 x 1-1/2 x 1/32 inch (23 x 38 x 1 mm)

1шт.

70120D

SLOTTED NUT,7/8"-14

NUT - hex jam slotted, 7/8 inch NF

1шт.

137204

COTTER PIN,1/8" x 1 1/2"

PIN, SPLIT (COTTER), 1/8" x 1 1/2"

2шт.

70121D

NUT

- hex jam slotted, 1 inch NF

1шт.

6

659711R91

SEAL

- drive shaft oil

1шт.

7

10728P

PLUG

- square head drilled pipe, 1/2 inch

1шт.

8

109461

LUBE NIPPLE,1/8"-27 x .66 lg

NIPPLE, LUBE, , PTF 1/8"-27 x .66 lg

1шт.

9

15R

CAP

- picker drive shaft bearing

1шт.

179846

LEVER

3шт.

103321

LOCK WASHER,3/8"

WASHER, LOCK, 3/8"

3шт.

10

656630R1

GASKET

- bearing retainer

2шт.

11

ST213

BALL BEARING,30 mm ID x 62 mm OD x 16 mm

BEARING - picker drive sprocket

1шт.

12

10156R

SHIM

- drive gear, 0.015 inch (0.381 mm)

1шт.

12

10157R

SHIM

- drive gear, 0.010 inch (0.254 mm)

1шт.

12

216499C1

SHIM

- drive gear, 0.007 inch (0.178 mm)

1шт.

13

660704R2

RETAINER

- bearing

1шт.

15

938294R91

OIL SEAL,32.89mm ID x 54.08mm OD x 8mm Thk

- pinion shaft oil

1шт.

16

656141R1

RETAINER

- pinion shaft bearing

1шт.

NLS

NO LONGER SERVICED

3шт.

103321

LOCK WASHER,3/8"

WASHER, LOCK, 3/8"

1шт.

17

656168R1

GASKET

- pinion shaft bearing

1шт.

18

ST247

BEARING, BALL,35 mm ID x 72 mm OD x 17 mm

BEARING - pinion shaft

1шт.

19

656166R1

SHIM

- picker drive pinion, 0.015 inch (0.381 mm)

1шт.

19

656167R1

SHIM

- picker drive pinion, 0.010 inch (0.254 mm)

1шт.

19

216498C1

SHIM

- picker drive pinion, 0.007 inch (0.178 mm)

1шт.

20

656163R1

SPACER

- picker drive pinion

1шт.

21

656142R3

SHAFT

- picker drive pinion

1шт.

14-1024

BOLT,Hex, 5/8" - 18 x 1-1/2", Gr 5

- hex, 5/8 NF x 1-1/2 inch, Fine Thread

1шт.

103325

LOCK WASHER,5/8"

WASHER, LOCK, 5/8"

1шт.

22

656140R1

HOUSING

- picker drive

1шт.

15041R1

CARRIAGE BOLT,Short Sq Nk, 1/2" - 13 x 1 1/2"

BOLT - round head square neck, 1/2 NC x 1-1/2 inch

4шт.

120378

NUT,Hex, 1/2" - 13, Gr 5

NUT, 1/2"-13, G5

1шт.

120384

WASHER,1/2"

LOCK, 1/2"

1шт.

23

438159

DRAIN PLUG,Sq Hd, 1/2"-14 NPTF

PLUG - square head automotive pipe, 1/2-14 inch thread

2шт.

24

9617020

PLUG,1/4" - 18 x 0.48"

- Hex Socket automotive pipe, 1/4-18 inch thread

2шт.

25

11926R

SHIM

- picker drum drive

1шт.

Выбрано товаров: 41