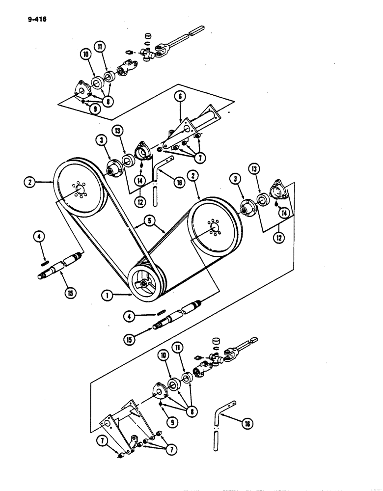
Запчасти Case IH 782 (9-418) - AUXILIARY DRUM DRIVE, FOR MACHINES WITHOUT AUTOMATIC DRUM DRIVE (09) - CHASSIS ATTACHMENTS

Схема запчастей Case IH 782 - (9-418) - AUXILIARY DRUM DRIVE, FOR MACHINES WITHOUT AUTOMATIC DRUM DRIVE (09) - CHASSIS ATTACHMENTS
14
11
2
4
16
11
10
14
7
10
2
15
9
7
15
6
7
3
12
8
4
16
1
13
6
9
13
5
3
12
FIT
1:1
100%

Артикул

Название

Примечание

Количество

1

210158C1

PULLEY

- drum drive

1шт.

21621R1

LOCK NUT,3/4"-10

NUT - hex lock, 3/4 inch NC

1шт.

495-21081

WASHER,3/4"

- flat, 13/16 x 2 x 1/8 inch (21 x 51 x 3 mm)

1шт.

2

210183C1

PULLEY

- drum driven

2шт.

3

210182C1

HUB

- drive driven pulley

2шт.

9635884

BOLT,Hex, 5/16" - 18 1", Full Thd, Gr 5

- hex, 5/16 NC x 1 inch

8шт.

120376

NUT,5/16"-18, G5

8шт.

80681

LOCK WASHER,5/16"

WASHER, LOCK, 5/16"

8шт.

4

586879R1

KEY

- square parallel, 5/16 x 2 inch

2шт.

5

210185C1

BELT,12.59" W x 85.10" L

Drum drive 12.59" W x 85.10" L

2шт.

6

210169C3

BRACKET

- drum drive (Auxiliary drum drive) (Low drum P.I.N. 507 thru 681, high drum P.I.N. 507 thru 2124)

4шт.

7

210167C1

SPACER

- drum drive (Hydraulic drum drive)

8шт.

180190

LOCK SCREW,Hex, 1/2" - 13 x 3", Gr 5

BOLT - hex, 1/2 NC x 3 inch

2шт.

180192

BOLT (SPREADER),Hex, 1/2" - 13 x 3 1/2", Gr 5

BOLT - hex, 1/2 NC x 3-1/2 inch

2шт.

120378

NUT,Hex, 1/2" - 13, Gr 5

NUT, 1/2"-13, G5

4шт.

120384

WASHER,1/2"

LOCK, 1/2"

4шт.

NLS

NO LONGER SERVICED

- flat, 17/32 x 1-1/16 x 5/64 inch (13 x 27 x 2 mm)

8шт.

25645R1

WASHER,17/32" x 1 1/16" x .1818", HDN

- hardened flat, 17/32 x 1-1/16 x 3/16 inch (13 x 27 x 5 mm)

8шт.

8

210201C91

HOUSING ASSY.

HOUSING ASSEMBLY - front bearing

2шт.

9

87414

LUBE NIPPLE,1/4" - 28

FITTING - grease, 1/4 inch

1шт.

10

156011C92

BALL BEARING

BEARING - front

1шт.

11

557995R11

COLLAR

- bearing lock

1шт.

550796R1

CARRIAGE BOLT,3/8" - 16 x 1 1/4", Grade 5

BOLT - round head square neck, 3/8 NC x 1-1/4 inch

6шт.

120376

NUT,5/16"-18, G5

6шт.

80681

LOCK WASHER,5/16"

WASHER, LOCK, 5/16"

6шт.

15

210202C1

SHAFT

- drum drive

2шт.

427637

SLOTTED NUT,3/4"-10, G5

NUT - hex slotted, 3/4 inch NC

2шт.

NLS

NO LONGER SERVICED

- flat, 13/16 x 1-15/32 x 7/64 inch (21 x 37 x 3 mm)

2шт.

137228

COTTER PIN,5/32" x 1 1/2"

PIN, SPLIT (COTTER), 5/32" x 1 1/2"

2шт.

16

214965C1

BOLT

- drum drive adjusting hook (Low drum P.I.N. 507 thru 681, high drum P.I.N. 507 thru 2124)

2шт.

280954

NUT,3/4"-10, G5

4шт.

432-1620

COTTER PIN,1/4" x 1 1/4"

Pin, Split (Cotter), 1/4" x 1 1/4"

4шт.

131017

WASHER

- flat, 13/16 x 1-15/32 x 7/64 inch (21 x 37 x 3 mm)

4шт.

Выбрано товаров: 33