Запчасти Case IH 782 (2-50) - OIL PAN, OIL LEVEL GAUGE, TUBE AND CONNECTIONS, D358 DIESEL ENGINE (01) - ENGINE

Схема запчастей Case IH 782 - (2-50) - OIL PAN, OIL LEVEL GAUGE, TUBE AND CONNECTIONS, D358 DIESEL ENGINE (01) - ENGINE
3
6
13
5
14
11
12
1
7
8
4
8
10
8
9
9
2
FIT
1:1
100%

Артикул

Название

Примечание

Количество

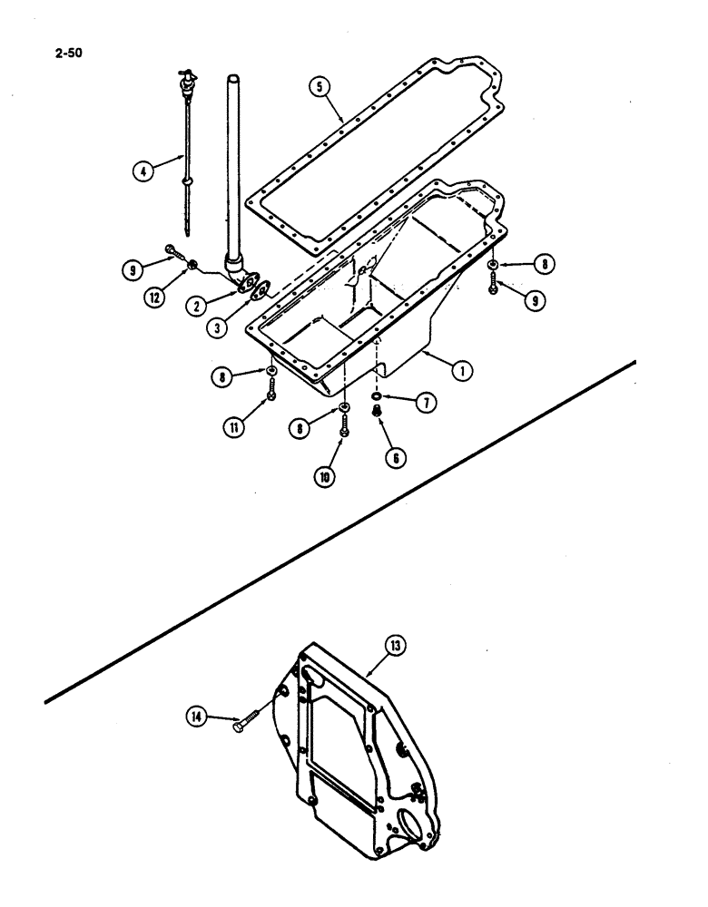
1

3056598R1

PAN, ENGINE OIL

PAN - engine oil

1шт.

2

3144748R91

GAUGE ASSY.

SOCKET ASSEMBLY - oil filling tube

1шт.

3

3218792R2

GASKET

- oil filling tube socket

1шт.

4

3132816R1

DIPSTICK

GAUGE - oil level

1шт.

5

3055987R1

OIL PAN GASKET SET

- oil pan

1шт.

6

3131883R2

SCREW

PLUG - filler and drain

1шт.

7

933609R1

RING

RING - sealing

1шт.

8

3218395R1

BELLEVILLE WASHER,8.199mm ID x 16mm OD x 0.9mm Thk

Truncated cone M8.2 ID x 16 OD x .9 Thk

32шт.

9

179817

BOLT,Hex, 5/16" - 18 x 7/8", Gr 5, Full Thd

5шт.

10

179818

BOLT,Hex, 5/16" - 18 x 1", Gr 5

25шт.

11

179819

BOLT,Hex, 5/16" - 18 x 1 1/8", Gr 5

4шт.

12

80681

LOCK WASHER,5/16"

WASHER, LOCK, 5/16"

2шт.

13

3218639R1

ENGINE FLYWHEEL

PLATE - flywheel

1шт.

14

179884

BOLT,Hex, 1/2" - 13 x 1 3/8", Gr 5, Full Thd

- hex, 1/2 NC x 1-3/8 inch FLYWHEEL PLATE

4шт.

Выбрано товаров: 14