Качественные детали и логистика
Оригинальные и аналоговые запчасти с доставкой по России, Казахстану и Беларуси
©2022 PartSell ООО "Система" ИНН 2463123282 ОГРН 1212400004838
Центральный офис: г. Красноярск, Академика Киренского, д.87, пом.4
Телефон: 8 (800) 777-65-74 Email: zakaz@partsell.ru
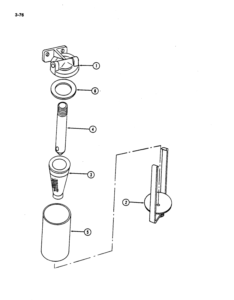
(3-76) - WATER FILTER, LOW DRUM P.I.N. 507 THRU 681, HIGH DRUM P.I.N. 507 THRU 2124
№
Артикул
Название
Примечание
Количество
672821R91
FILTER
ASSEMBLY - water
1шт.
1
NSS
NOT SOLD SEPARAT
BASE - filter (Order filter assembly)
2
370785R91
CLAMP
BALE - water filter
3
370784R91
FILTER SCREEN
SCREEN - water filter
4
54762D
TUBE
- center
5
370783R1
BOWL
- filter
6
370520R1
GASKET
- body
Выбрано товаров: 0