Запчасти Case IH 782 (6-154) - TRANSMISSION MAIN SHAFT INPUT DRIVE SHAFT SHIFTER RAILS AND FORKS (03) - POWER TRAIN

Схема запчастей Case IH 782 - (6-154) - TRANSMISSION MAIN SHAFT INPUT DRIVE SHAFT SHIFTER RAILS AND FORKS (03) - POWER TRAIN
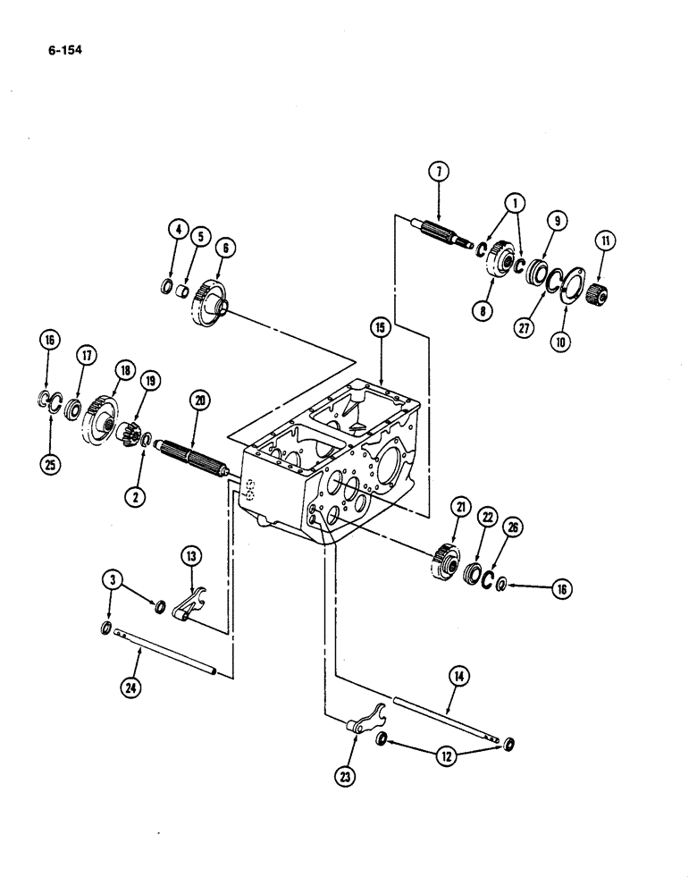
10
13
15
7
22
6
24
19
16
18
2
20
8
18
5
27
11
3
1
26
12
9
21
14
23
17
25
4
FIT
1:1
100%

Артикул

Название

Примечание

Количество

1

100070R1

RING

- input drive shaft retaining

2шт.

2

359141R1

RING, SNAP

RING - main shaft bearing retaining

1шт.

3

349373R1

PLUG

- cup, 1-1/4 inch

1шт.

4

555601R1

RING, SNAP

RING - input drive shaft retaining

1шт.

5

358034R91

NEEDLE BEARING

BEARING - input pinion shaft

1шт.

6

395652R1

GEAR

- 1st and 2nd sliding, 38 and 20 teeth

1шт.

7

402842R3

SHAFT

- input drive

1шт.

382901R1

LOCK WASHER,26.16mm ID x 47.8mm OD x 3.18mm Thk

- input drive shaft

1шт.

382879R1

NUT

- input drive shaft

1шт.

382900R1

LOCK WASHER

- input drive shaft lock

1шт.

8

107283C1

PINION

GEAR - 2nd speed driven, 36 teeth

1шт.

9

379438R91

ROLLER BEARING,34.99mm ID x 80mm OD x 21mm W

- input drive shaft right side

1шт.

10

379481R1

RETAINER

- input drive shaft right bearing

1шт.

214168R1

CAPSCREW,5/16" x 7/8", Gr 5

BOLT - hex nylon pellet lock, 5/16 NC x 7/8 inch

3шт.

11

121892C1

GEAR

- change drive pinion, 24 teeth

1шт.

12

549712R1

OIL SEAL

- shift rail oil

2шт.

13

395656R1

FORK

- 1st and 3rd gear shifter

1шт.

573985R1

SET SCREW,Sq Hd, 3/8"-24 x 1"

SCREW - shifter fork set

1шт.

114494

NUT,Jam, 3/8"-24, G5

1шт.

14

107278C1

SHAFT

- 1st and 3rd gear shift rail

1шт.

15

107265C1

CASE

- transmission

1шт.

180177

BOLT,Hex, 1/2" - 13 x 1 1/2", Gr 5

- hex, 1/2 NC x 1-1/2 inch

4шт.

120384

WASHER,1/2"

LOCK, 1/2"

4шт.

16

370504R1

RING

- main shaft retaining

2шт.

17

ST364

BALL BEARING,30mm ID x 62mm OD x 16mm W

BEARING - main shaft

1шт.

18

379495R1

GEAR

- input drive, 44 teeth

1шт.

19

395649R1

GEAR

- 1st speed drive pinion, 18 teeth

1шт.

20

1276989C3

SHAFT

- transmission main (Replace 395648R11)

1шт.

184310C91

COUPLING

- main shaft (Used with 395648R11)(Replaces 374639R1), 2-3/16 x 1-5/8", 11 splines

1шт.

21

107284C2

PINION

GEAR - 2nd speed drive pinion, 20 teeth

1шт.

22

379475R91

BEARING, ROLLER, CYL,30mm ID x 62.03mm OD x 16mm W

- main shaft right

1шт.

23

574904R1

FORK

- 2nd and reverse gear shifter

1шт.

573985R1

SET SCREW,Sq Hd, 3/8"-24 x 1"

SCREW - shifter fork set

1шт.

114494

NUT,Jam, 3/8"-24, G5

1шт.

24

107543C1

SHAFT

- 2nd gear shift rail

1шт.

25

404207R1

RING,61.6mm ID x 68.4mm OD x 2.54mm Thk

- transmission case seal

1шт.

26

ST421

SNAP RING,1.65mm Thk, Ext

RING - transmission shaft right bearing retaining

1шт.

27

ST419

RING

- input drive shaft bearing retaining

1шт.

Выбрано товаров: 38