Запчасти Case IH 782 (6-164) - TRANSMISSION SHIFT CONTROLS (03) - POWER TRAIN

Схема запчастей Case IH 782 - (6-164) - TRANSMISSION SHIFT CONTROLS (03) - POWER TRAIN
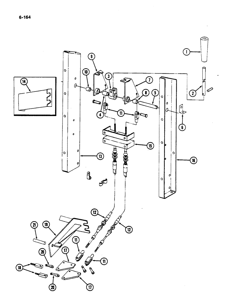
17
8
12
11
19
20
17
13
10
16
12
11
9
18
4
20
7
21
1
14
3
5
15
6
2
11
FIT
1:1
100%

Артикул

Название

Примечание

Количество

1

198934C1

HANDLE

KNOB - gear shift

1шт.

2

215744C2

ROD

- transmission shift

1шт.

21448R1

WASHER

- flat, 11/32 x 7/8 x 3/64 inch (9 x 22 x 1 mm)

2шт.

3

157360C11

ARM

PIVOT ASSEMBLY - gear shift

1шт.

608701R1

WASHER

- flat, 21/32 x 1-1/4 x 3/64 inch (17 x 32 x 1 mm)

8шт.

4

568920R1

BUSHING

1шт.

5

209938C1

PIN

- gear shift pivot

1шт.

137263

STRIP

3/16" x 2"

1шт.

6

165900C1

ANGLE

CLIP - pin retainer

1шт.

9635884

BOLT,Hex, 5/16" - 18 1", Full Thd, Gr 5

- hex, 5/16 NC x 1 inch

1шт.

120376

NUT,5/16"-18, G5

1шт.

80681

LOCK WASHER,5/16"

WASHER, LOCK, 5/16"

1шт.

7

215737C91

ARM

ASSEMBLY - transmission shift front

1шт.

8

568921R1

BUSHING,15.9mm ID x 19.02mm OD x 22.23mm L

1шт.

9

215738C91

ARM

ASSEMBLY - transmission shift rear

1шт.

10

568921R1

BUSHING,15.9mm ID x 19.02mm OD x 22.23mm L

1шт.

11

104037

CLEVIS

- adjustable rod end, 5/16 NF x 2-1/4 inch

4шт.

124920

JAM NUT,Jam, 5/16"-24, G5

4шт.

12

672861R91

CABLE

- transmission shift (Machines built, Serial Range: prior-1981)

2шт.

12

1329380C1

CABLE

- transmission shift (Machines built 1981 and after) (Replaces 222753C1)

2шт.

13

215743C2

SUPPORT - gear shift rear

1шт.

180077

BOLT,Hex, 5/16" - 18 x 3/4", Gr 5

- hex, 5/16 NC x 3/4 inch

2шт.

120376

NUT,5/16"-18, G5

2шт.

80681

LOCK WASHER,5/16"

WASHER, LOCK, 5/16"

2шт.

14

215823C1

SUPPORT

ANCHOR - cable lower (Machines built, Serial Range: prior-1981)

1шт.

26312R1

BOLT,Hex, 3/8" - 16 x 1 1/2", Gr 8

- hex prevailing torque, 3/8 NC x 1-1/2 inch (Grade 8)

2шт.

15

215736C1

SUPPORT

- cable upper

1шт.

9635884

BOLT,Hex, 5/16" - 18 1", Full Thd, Gr 5

- hex, 5/16 NC x 1 inch

2шт.

120376

NUT,5/16"-18, G5

2шт.

80681

LOCK WASHER,5/16"

WASHER, LOCK, 5/16"

2шт.

16

215742C2

SUPPORT - gear shift front

1шт.

180077

BOLT,Hex, 5/16" - 18 x 3/4", Gr 5

- hex, 5/16 NC x 3/4 inch

2шт.

120376

NUT,5/16"-18, G5

2шт.

80681

LOCK WASHER,5/16"

WASHER, LOCK, 5/16"

2шт.

17

221444C1

PLATE

- shifter rail

2шт.

103373

COTTER PIN,3/32" x 3/4"

Pin, Split (Cotter), 3/32" x 3/4"

2шт.

18

221443C1

SCREW

BOLT - bar

1шт.

124920

JAM NUT,Jam, 5/16"-24, G5

2шт.

26499R1

BOLT,Hex, 3/8" - 16 x 1 3/4", Gr 8

- hex, 3/8 NC x 1-3/4 inch

1шт.

120394

WASHER,3/8", SAE

WASHER - flat, 13/32 x 13/16 x 3/64 inch (10 x 21 x 1 mm)

1шт.

19

221439C1

SECTOR

- shift plate (For machines built 1981 and after)

1шт.

27606R1

BOLT,Hex, 3/8" - 16 x 4 1/2", Gr 8

- hex prevailing torque, 3/8 NC x 4-1/2 inch (Grade 8)

2шт.

20

587368R91

CHAIN LINK

LINK - connecting (For machines built 1981 and after)

2шт.

21

573174R1

SPACER,5/8" Tube x 3"

- tube, 5/8 x 3 inch (For machines built 1981 and after)

1шт.

Выбрано товаров: 44