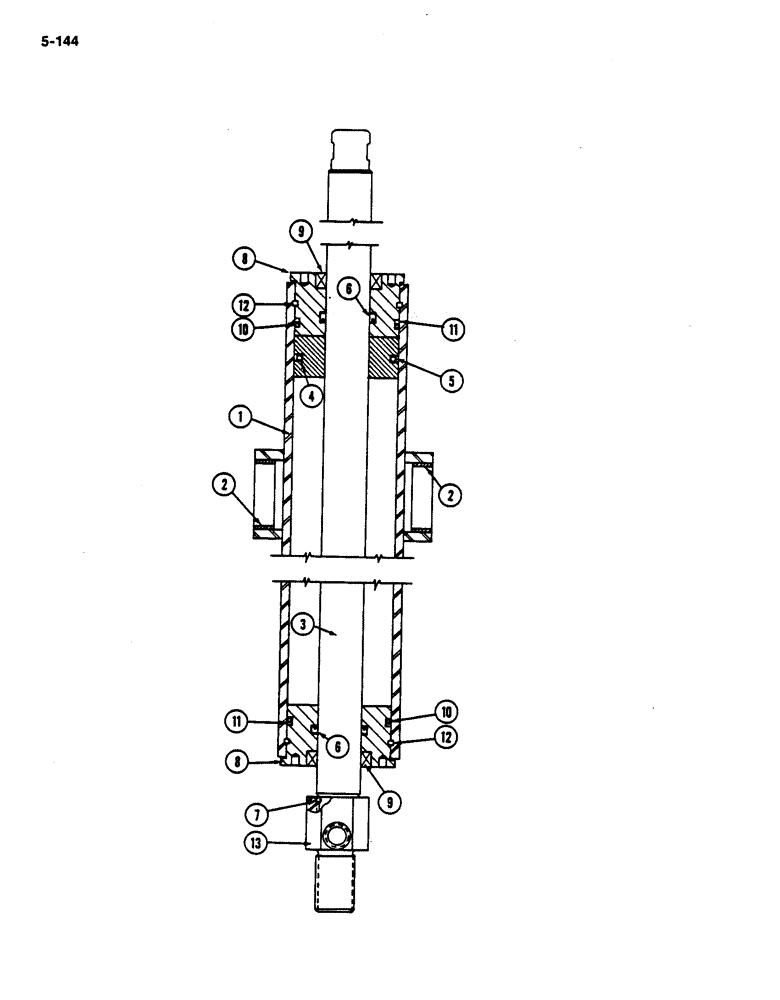
Запчасти Case IH 782 (5-144) - POWER STEERING CYLINDER, STANDARD REAR AXLE (04) - STEERING

Схема запчастей Case IH 782 - (5-144) - POWER STEERING CYLINDER, STANDARD REAR AXLE (04) - STEERING
2
10
5
6
1
8
11
9
11
6
12
2
9
4
13
12
8
3
7
10
FIT
1:1
100%

Артикул

Название

Примечание

Количество

108878C92

CYLINDER

ASSEMBLY - hydraulic

1шт.

1

NSS

NOT SOLD SEPARAT

BODY (Order 108878C92)

1шт.

2

533283R1

BUSHING,38.16mm ID x 41.41mm OD x 10.99mm L

- trunnion

2шт.

3

128023C1

ROD

- piston

1шт.

4

NSS

NOT SOLD SEPARAT

O-RING - 2 x 2-1/4, class 6

1шт.

Part of O-ring and seal service kit P/N 80446C91

1шт.

5

NSS

NOT SOLD SEPARAT

RING - piston seal

1шт.

Part of O-ring and seal service kit P/N 80446C91

1шт.

6

NSS

NOT SOLD SEPARAT

SEAL - piston rod urethane (Replaces O-ring and back-up washer)

1шт.

Part of O-ring and seal service kit P/N 80446C91

1шт.

7

NSS

NOT SOLD SEPARAT

O-RING - 1/2 OD tube, class 6

1шт.

Part of O-ring and seal service kit P/N 80446C91

1шт.

8

128015C2

HEAD

- front

1шт.

9

NSS

NOT SOLD SEPARAT

SEAL - scraper oil

1шт.

Part of O-ring and seal service kit P/N 80446C91

1шт.

10

NSS

NOT SOLD SEPARAT

O-RING - 2-3/16 x 2-3/8, class 5

2шт.

Part of O-ring and seal service kit P/N 80446C91

1шт.

11

WASHER - o-ring back-up

2шт.

Part of O-ring and seal service kit P/N 80446C91

1шт.

12

NSS

NOT SOLD SEPARAT

RING - head retaining

2шт.

Part of O-ring and seal service kit P/N 80446C91

1шт.

13

128024C1

END

- piston rod

1шт.

80446C91

PACKAGE

KIT O-ring, seal, service, Includes: Ref. 4 - 7 and 9 - 12

1шт.

Выбрано товаров: 23