Запчасти Case IH 782 (5-146) - POWER STEERING CYLINDER, WIDE REAR AXLE (04) - STEERING

Схема запчастей Case IH 782 - (5-146) - POWER STEERING CYLINDER, WIDE REAR AXLE (04) - STEERING
8
2
9
13
11
6
7
5
10
12
1
14
4
3
FIT
1:1
100%

Артикул

Название

Примечание

Количество

133764C91

CYLINDER

ASSEMBLY - hydraulic

1шт.

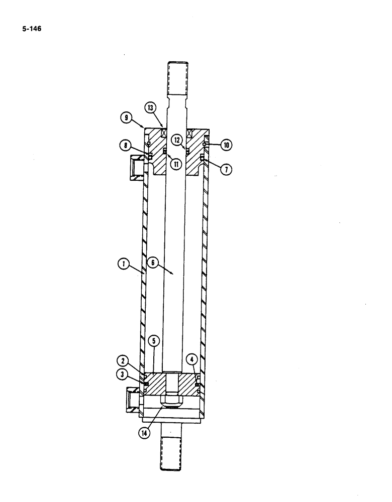
1

133818C1

CYLINDER

BODY ASSEMBLY - cylinder

1шт.

2

NSS

NOT SOLD SEPARAT

RING - piston bearing

2шт.

Part of O-ring and seal service kit P/N 76667C91

1шт.

3

NSS

NOT SOLD SEPARAT

RING - piston seal

1шт.

Part of O-ring and seal service kit P/N 76667C91

1шт.

4

NSS

NOT SOLD SEPARAT

O-RING - 2-1/16 x 2-1/4, class 5

1шт.

Part of O-ring and seal service kit P/N 76667C91

1шт.

5

133815C1

PISTON

- cylinder

1шт.

6

548251R1

ROD

- piston

1шт.

7

NSS

NOT SOLD SEPARAT

O-RING - 2-1/8 x 2-1/2, class 6

1шт.

Part of O-ring and seal service kit P/N 76667C91

1шт.

8

NSS

NOT SOLD SEPARAT

WASHER - O-ring back-up

1шт.

Part of O-ring and seal service kit P/N 76667C91

1шт.

9

133814C1

HEAD

- front

1шт.

10

NSS

NOT SOLD SEPARAT

RING - retaining

1шт.

Part of O-ring and seal service kit P/N 76667C91

1шт.

11

NSS

NOT SOLD SEPARAT

O-RING - 7/8 x 1-1/8, class 6

1шт.

Part of O-ring and seal service kit P/N 76667C91

1шт.

12

NSS

NOT SOLD SEPARAT

WASHER - back-up

1шт.

Part of O-ring and seal service kit P/N 76667C91

1шт.

13

NSS

NOT SOLD SEPARAT

SEAL - piston rod wiper

1шт.

Part of O-ring and seal service kit P/N 76667C91

1шт.

76667C91

KIT

service, O-ring and seal, Includes: Ref. 2 - 4, 7, 8 and 10 - 13

1шт.

Выбрано товаров: 24