Запчасти Case IH 782 (4-086) - ENGINE WIRING (06) - ELECTRICAL SYSTEMS

Схема запчастей Case IH 782 - (4-086) - ENGINE WIRING (06) - ELECTRICAL SYSTEMS
5
9
10
3
2
7
9
9
6
8
10
6
1
4
FIT
1:1
100%

Артикул

Название

Примечание

Количество

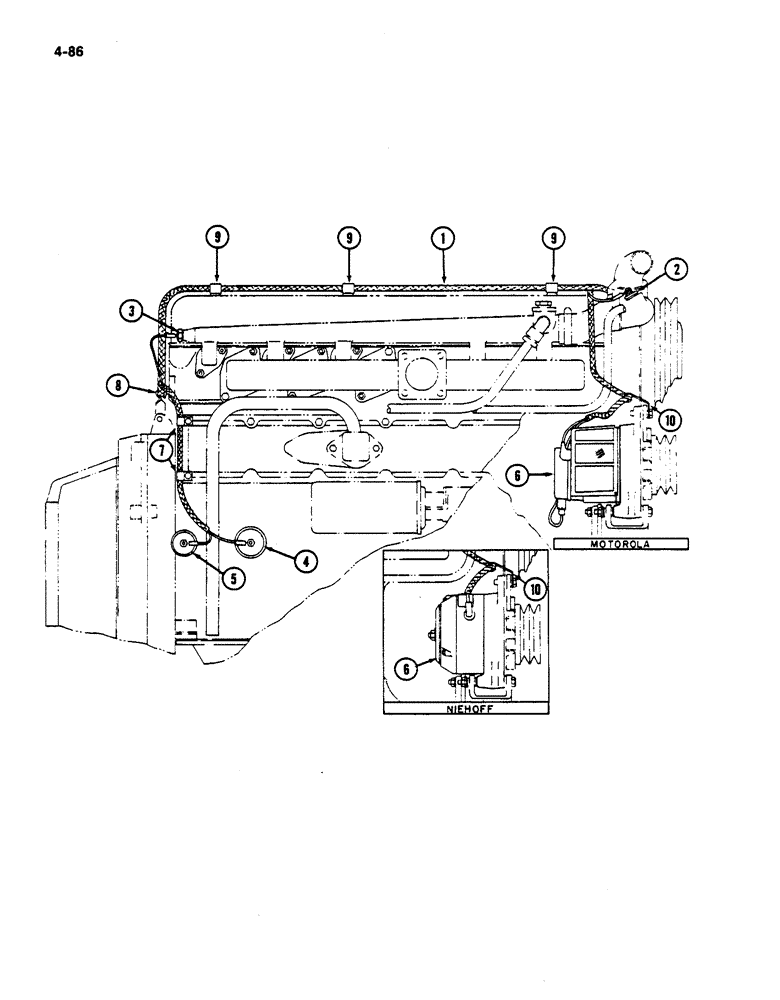
1

121670C3

HARNESS

ASSEMBLY - engine

1шт.

2

121756C2

SENSOR

SENDER ASSEMBLY - coolant

1шт.

3

107488C1

SWITCH

- coolant hi-temp

1шт.

4

130707C3

SENDER UNIT

SENDER - oil pressure gauge

1шт.

444024

REDUCER,1/4"-18 NPTF x 1/8"-27 Fem NPTF

ADAPTER - pipe reducing

1шт.

Ref #4 - Replaced by 1341329C1 06/24/96

1шт.

5

392249R92

SWITCH

- 20W oil pressure light

1шт.

444024

REDUCER,1/4"-18 NPTF x 1/8"-27 Fem NPTF

ADAPTER - pipe reducing

1шт.

6

REF

INSTRUCTION

ALTERNATOR GENERATOR (See Page 4-113)

1шт.

7

366460R1

CABLE CLIP

CLIP - cable, insulated

1шт.

8

363660R1

CLIP

- cable, insulated

1шт.

9

363444R1

CLAMP,J, 9/16" Insul, 3/8" Bolt

CLIP - cable, insulated

3шт.

10

384559R1

CLIP

- cable, insulated

1шт.

Выбрано товаров: 13