Запчасти Case IH 782 (9-314) - PLANT COMPRESSORS AND THROAT SHEETS (09) - CHASSIS ATTACHMENTS

Схема запчастей Case IH 782 - (9-314) - PLANT COMPRESSORS AND THROAT SHEETS (09) - CHASSIS ATTACHMENTS
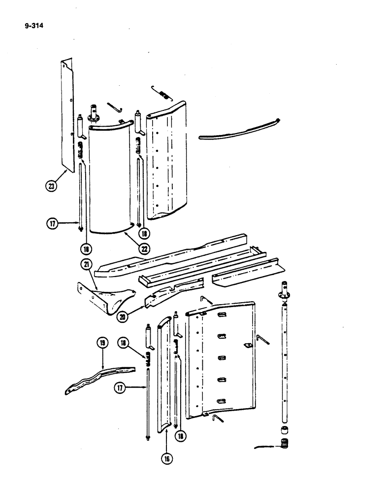
18
19
22
20
17
18
16
17
21
18
23
18
FIT
1:1
100%

Артикул

Название

Примечание

Количество

16

669749R91

SHEET

- plant compressor rear (Low drum) (Continued from Page 9-313)

1шт.

16

672422R91

SHEET ASSY.

SHEET - plant compressor rear (High drum)

1шт.

17

669761R1

ROD

- compressor sheet hinge (Low drum)

2шт.

17

672429R1

ROD

- compressor sheet hinge (High drum)

2шт.

18

10322R

SPRING

- compressor sheet extension hinge rod

4шт.

19

672487R1

BAR

SLAT - left drum front bar (Low drum) (High drum)

19шт.

19

672488R1

BAR

SLAT - right drum front bar (Low drum) (High drum)

19шт.

180077

BOLT,Hex, 5/16" - 18 x 3/4", Gr 5

- hex, 5/16 NC x 3/4 inch (Low drum) (High drum)

19шт.

80681

LOCK WASHER,5/16"

WASHER, LOCK, (Low drum) (High drum) 5/16"

19шт.

20

672317R91

SHEET

- drum throat outer side front left

1шт.

20

672318R91

SHEET - drum throat outer side front right

1шт.

113-206

BOLT,Hex, 3/8" - 16 x 3/4", Gr 5, Full Thd

- hex, 3/8 NC x 3/4 inch

2шт.

120382

LOCK WASHER,Helical Spring, 3/8"

WASHER, LOCK, 3/8"

2шт.

21

672310R1

SHEET

- drum housing throat front

1шт.

18686R1

CARRIAGE BOLT,Short Nk, 3/8" - 16 x 2 1/4", Gr 2

BOLT - round head square neck, 3/8 NC x 2-1/4 inch

1шт.

120382

LOCK WASHER,Helical Spring, 3/8"

WASHER, LOCK, 3/8"

1шт.

120377

NUT,3/8" - 16, Gr 5

1шт.

22

672417R91

SHEET

- plant compressor front (Low drum)

1шт.

22

672420R91

SHEET

- plant compressor front (High drum)

1шт.

23

672307R1

SHIELD - drum throat side left (Low drum)

1шт.

23

672308R1

SHIELD - drum throat side right (Low drum)

1шт.

23

67237R1

SHIELD - drum throat side left (High drum)

1шт.

23

672328R1

SHIELD

- drum throat side right (High drum)

1шт.

113-206

BOLT,Hex, 3/8" - 16 x 3/4", Gr 5, Full Thd

- hex, 3/8 NC x 3/4 inch

1шт.

120382

LOCK WASHER,Helical Spring, 3/8"

WASHER, LOCK, 3/8"

1шт.

120377

NUT,3/8" - 16, Gr 5

1шт.

Выбрано товаров: 26