Запчасти Case IH 782 (9-342) - IDLER SPROCKETS (09) - CHASSIS ATTACHMENTS

Схема запчастей Case IH 782 - (9-342) - IDLER SPROCKETS (09) - CHASSIS ATTACHMENTS
12
16
7
12
13
15
4
19
6
6
5
12
2
7
5
17
18
13
5
11
4
1
16
1
5
7
8
10
14
5
8
5
3
14
12
5
12
6
5
12
14
5
5
5
13
9
FIT
1:1
100%

Артикул

Название

Примечание

Количество

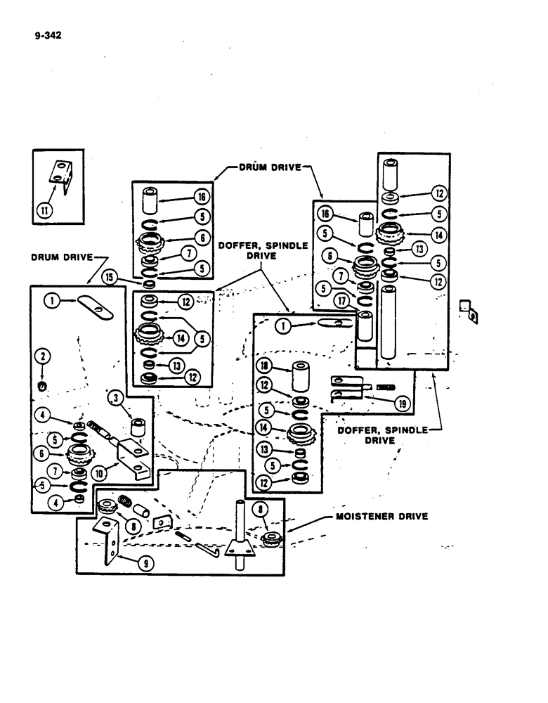
1

10215R

COVER

- idler adjustment slot

4шт.

2

672456R1

SPACER

- drum drive adjustment idler bolt

2шт.

3

668065R1

SPACER

- drum drive adjustment idler

2шт.

4

671073R1

SPACER

- idler bearing short

4шт.

5

10213R

OIL SEAL

RING - idler sprocket snap

24шт.

6

669793R1

DRIVE SPROCKET

SPROCKET - drum drive idler

6шт.

7

666624R91

BALL BEARING,16.26mm ID x 40mm OD x 18mm W

- idler sprocket

6шт.

222994C2

BOLT,5/8" - 11 x 11"

- hex, 5/8 NC x 11 inch

2шт.

492-11062

BEARING WASHER,5/8"

WASHER, LOCK, 5/8"

2шт.

280374

NUT,Hex, 5/8" - 11, Gr 5

- hex, 5/8 inch NC

2шт.

8

669847R91

SPROCKET ASSY.

SPROCKET - moistener drive idler 20 teeth

6шт.

180181

BOLT,Hex, 1/2" - 13 x 2", Gr 5

- hex, 1/2 NC x 2 inch

6шт.

120384

WASHER,1/2"

LOCK, 1/2"

6шт.

120378

NUT,Hex, 1/2" - 13, Gr 5

NUT, 1/2"-13, G5

6шт.

9

669845R1

ANGLE

SUPPORT - moistener stationary sprocket

4шт.

17351R1

CARRIAGE BOLT,Short Sq Nk, 3/8" - 16 x 1", Gr 2

BOLT - round head square neck, 3/8 NC x 1 inch

8шт.

120377

NUT,3/8" - 16, Gr 5

8шт.

120382

LOCK WASHER,Helical Spring, 3/8"

WASHER, LOCK, 3/8"

8шт.

469668R1

WASHER

- flat, 13/32 x 47/64 x 1/16 inch (10 x 19 x 2 mm)

8шт.

10

668062R91

FORK

YOKE - drum drive adjustment idler

2шт.

221519C1

BOLT - drum drive idler

1шт.

120378

NUT,Hex, 1/2" - 13, Gr 5

NUT, 1/2"-13, G5

4шт.

102639

NUT,5/8"-11, G5

2шт.

103325

LOCK WASHER,5/8"

WASHER, LOCK, 5/8"

2шт.

464623R1

WASHER

- flat, 21/32 x 1-1/2 x 7/64 inch (17 x 38 x 3 mm)

2шт.

102763H

WASHER

WASHER - flat, 41/64 x 7/8 x 13 ga

2шт.

11

669846R1

SUPPORT

- moistener adjustment idler sprocket, Serial Range: (Prior-1980)

1шт.

17351R1

CARRIAGE BOLT,Short Sq Nk, 3/8" - 16 x 1", Gr 2

BOLT - round head square neck, 3/8 NC x 1 inch

4шт.

120377

NUT,3/8" - 16, Gr 5

4шт.

120382

LOCK WASHER,Helical Spring, 3/8"

WASHER, LOCK, 3/8"

4шт.

469668R1

WASHER

- flat, 13/32 x 47/64 x 1/16 inch (10 x 19 x 2 mm)

4шт.

12

665420R91

BEARING ASSY,0.625" ID x 1.5748" OD x 0.4724"

- idler sprocket

12шт.

222994C2

BOLT,5/8" - 11 x 11"

- hex, 5/8 NC x 11 inch

2шт.

492-11062

BEARING WASHER,5/8"

WASHER, LOCK, 5/8"

2шт.

280374

NUT,Hex, 5/8" - 11, Gr 5

- hex, 5/8 inch NC

2шт.

13

665413R1

SPACER

- bearing

6шт.

14

10219R

SPROCKET ASSY.

SPROCKET - spindle and Doffer drive idler

6шт.

15

672452R1

SPACER

- idler bearing

2шт.

16

672450R1

SPACER

- stationary idler top

4шт.

17

672451R1

SPACER

- stationary idler middle

2шт.

18

668061R1

SPACER

- spindle and Doffer drive idler sprocket

2шт.

19

672453R91

YOKE

- spindle and Doffer drive idler

2шт.

221522C1

BOLT,5/8" x 6-1/4"

- Doffer drive idler

2шт.

120378

NUT,Hex, 1/2" - 13, Gr 5

NUT, 1/2"-13, G5

4шт.

102639

NUT,5/8"-11, G5

2шт.

103325

LOCK WASHER,5/8"

WASHER, LOCK, 5/8"

1шт.

424623R1

WASHER - flat, 21/32 x 1-1/2 x 11 ga

2шт.

102763H

WASHER

WASHER - flat, 41/64 x 7/8 x 13 ga

5шт.

Выбрано товаров: 48