Запчасти Case IH CPX420 (09C-08) - FAN DRIVE (15) - HANDLING SYSTEM

Схема запчастей Case IH CPX420 - (09C-08) - FAN DRIVE (15) - HANDLING SYSTEM
3
4
5
6
8
9
10
7
2
1
FIT
1:1
100%

Артикул

Название

Примечание

Количество

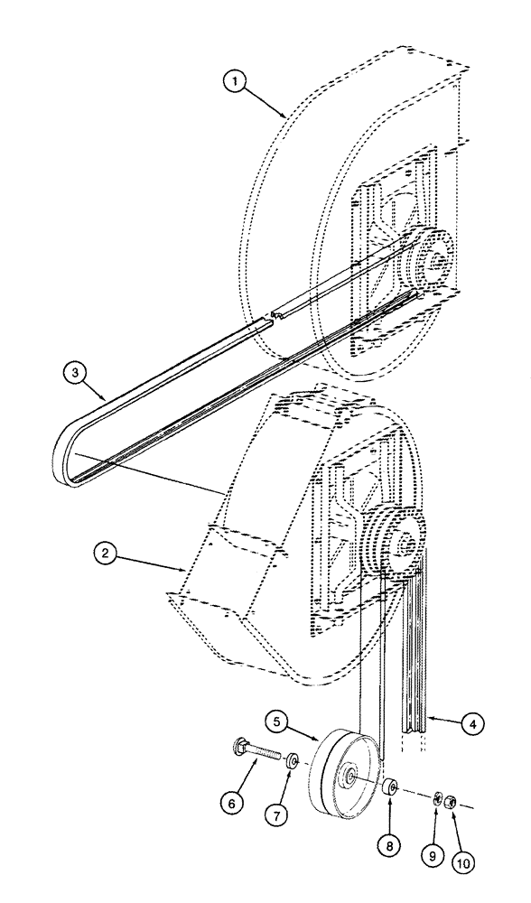
1

449982A1

FAN HOUSING

Front, See Figure 09C-11A

1шт.

2

450631A1

FAN

Rear, See Figure 09C-12A

1шт.

3

1338328C1

V-BELT,12.45 mm W x 1223.87 mm L

Fan Drive, Front

1шт.

4

1546117C2

V-BELT,1.97" W x 76.50" L, 3 Ribs

Fan Drive, Rear

1шт.

5

1990198C1

PULLEY

10 in dia, Fan Idler

1шт.

6

413-860

BOLT,Hex, 1/2" - 13 x 3-3/4", Gr 5

1шт.

7

M42296

SPACER,1/2" X-Strng Pipe x 1/2"

1/2 ID x 7/16, Front Drive

1шт.

8

25847D

SPACER,1/2" X-Strng Pipe x 11/16"

1/2 x 11/16

1шт.

9

80679

LOCK WASHER,1/20.507 CST ZND

1шт.

10

425-108

NUT,1/2" - 13, Gr 5

1шт.

Выбрано товаров: 10