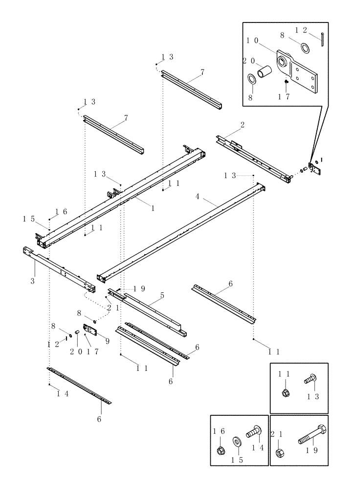
Запчасти Case IH CPX420 (09D-14) - BASKET DOOR - ARMS, CHANNELS AND STRUTS (16) - BASKET

Схема запчастей Case IH CPX420 - (09D-14) - BASKET DOOR - ARMS, CHANNELS AND STRUTS (16) - BASKET
15
8
13
8
7
13
8
13
5
14
14
17
7
12
11
15
11
9
16
11
6
10
19
13
3
4
2
6
6
16
20
17
13
11
21
6
1
21
20
19
8
11
12
FIT
1:1
100%

Артикул

Название

Примечание

Количество

1

407917A2

STRUT

Left Hand

1шт.

2

409996A1

CHANNEL

Door Front

1шт.

3

299434A4

CHANNEL

Door Rear

1шт.

4

429596A2

STRUT

Right Hand

1шт.

5

391611A3

CHANNEL

Door Center

1шт.

6

127164A2

SUPPORT

Door Chain

4шт.

7

449399A2

CHANNEL

Door Support

2шт.

8

495-81205

WASHER,32.54mm ID x 50.8mm OD x 1.7mm Thk

6шт.

9

300027A1

PIVOT

Basket Floor Rear, Inc. 20

1шт.

10

300028A1

PIVOT

Basket Floor Front, Inc. 20

1шт.

11

477-73116

SERRATED SCREW,Truss HD, 5/16" - 18 x 1"

14шт.

12

432-1636

COTTER PIN,1/4" x 2 1/4"

2шт.

13

231-5145

SERRATED NUT,Flg, USR, 5/16"-18

14шт.

15

492-11038

LOCK WASHER,3/8"

8шт.

16

425-106

NUT,3/8"-16, Cl 5

8шт.

17

219-53

LUBE NIPPLE,65 Degree Elbow, 3/16" NPTF

2шт.

19

413-648

BOLT,Hex, 3/8" - 16 x 3", Gr 5

1шт.

20

458900R1

SPACER

2шт.

21

231-1446

NUT,3/8" - 16, Gr 5

1шт.

14

477-73816

SERRATED SCREW,Sl Truss Hd, 3/8" x 1"

8шт.

Выбрано товаров: 20