Запчасти Case IH CPX420 (03-01) - FUEL TANK AND LINES (02) - FUEL SYSTEM

Схема запчастей Case IH CPX420 - (03-01) - FUEL TANK AND LINES (02) - FUEL SYSTEM
23
15
28
16
20
3
30
28
33
2
5
5
19
24
30
8
12
9
5
29
6
32
35
28
17
11
7
31
30
21
16
13
4
10
14
28
27
1
3
16
29
4
25
22
26
18
5
17
34
37
FIT
1:1
100%

Артикул

Название

Примечание

Количество

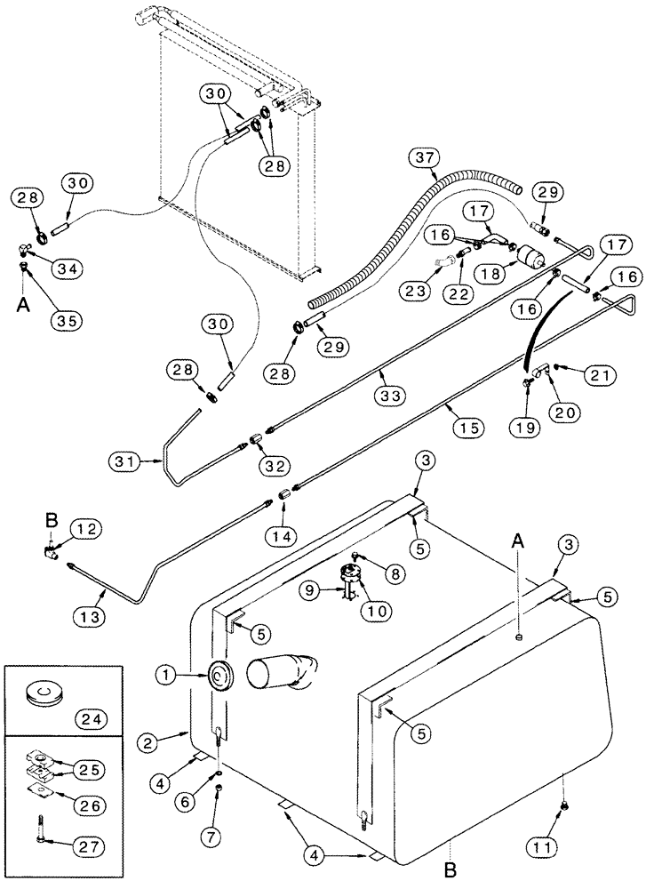
227115A1

FUEL TANK

150 gal, Inc. 1 - 2

1шт.

1

23995DC

FILLER CAP

1шт.

2

NSS

NOT SOLD SEPARAT

Tank

1шт.

3

227204A1

STRAP

2шт.

4

246550A1

FOAM

1229 mm (48-13/32 in), Cut From 73215C1

3шт.

5

666210R1

FIXING STRIP

229 mm (9 in), Cut From 990541R1

4шт.

6

492-11038

LOCK WASHER,3/8"

4шт.

7

425-106

NUT,3/8"-16, Cl 5

6шт.

8

1310675C1

CAPTIVE WASHER SCREW,Sl Truss Hd, #10 - 24 x 0.75"

5шт.

9

121810C1

ELECTRICAL GAUGE

Fuel Level

1шт.

10

168515C1

GASKET,3.05mm Thk

1шт.

11

217-434

PLUG,Hex Soc, 3/8" - 18 NPTF

1шт.

12

390069R91

SHUT-OFF VALVE

1шт.

13

240665A2

PIPE

Fuel Supply, Rear

1шт.

14

222-1055

HYD CONNECTOR,3/8" Inv Fl

5/8 inv fl

1шт.

15

240666A3

TUBE

Fuel Supply, Front

1шт.

16

1348264C1

HOSE CLAMP

3/8" ID

4шт.

17

258266A1

FUEL HOSE,9.92 mm ID x 105.00 mm, SAE 30R7

Fuel Supply

2шт.

18

D139225

FILTER, FUEL

1шт.

19

409-7512

BOLT,Hex Flg, 5/16" - 18 x 3/4", Spcl

1шт.

20

370383R1

CLIP

1шт.

21

231-5145

SERRATED NUT,Flg, USR, 5/16"-18

1шт.

22

217-125

FITTING,3/8" Hose Barb x 1/4" Male NPTF

3/8 barb x 1/4 PT

1шт.

23

217-16

ELBOW,45 Degree, 1/4"-18 NPTF, Fem x 1/4"-18 NPTF Male

1/4 PT x fem PT

1шт.

24

198823C1

GROMMET,9.53mm ID x 41.1mm OD x 26.9mm Thk

3/8 ID

1шт.

25

1546024C1

CLAMP

2 piece

3шт.

26

1347127C1

PLATE

3шт.

27

413-522

BOLT,Hex, 5/16" - 18 x 1-3/8", Gr 5

3шт.

28

214-1704

HOSE CLAMP,#04, 0.25" - 0.62", Type M Worm

5шт.

29

1988963C1

HOSE

935 mm (36-13/16 in), Fuel Return

1шт.

30

193624A2

FUEL HOSE,9.53 mm ID x 770.00 mm, SAE 30R2

Fuel Return

2шт.

31

226521A2

PIPE

Fuel Return, Rear

1шт.

32

222-1055

HYD CONNECTOR,3/8" Inv Fl

5/8 inv fl

1шт.

33

248693A2

TUBE,0.375" OD, 1560, 173 mm Length

Fuel Return, Front

1шт.

34

217-132

90 ELBOW,90 Degree Elbow, 3/8" Hose Barb x 1/4" Male NPTF

1шт.

35

217-42

REDUCER,3/8" - 18 NPT x 1/4" - 18 NPT

1шт.

36

183822C1

CLAMP

5/8, Not Illustrated

2шт.

37

1202956C1

CONDUIT

89 mm (35 in) Long

1шт.

Выбрано товаров: 38