Запчасти Case IH CPX420 (06-07) - PEDAL - FOOT-N-INCH - BSN Y6T011001 (03) - POWER TRAIN

Схема запчастей Case IH CPX420 - (06-07) - PEDAL - FOOT-N-INCH - BSN Y6T011001 (03) - POWER TRAIN
8
15
1
9
12
7
17
2
6
13
19
10
17
4
14
16
11
18
5
5
3
FIT
1:1
100%

Артикул

Название

Примечание

Количество

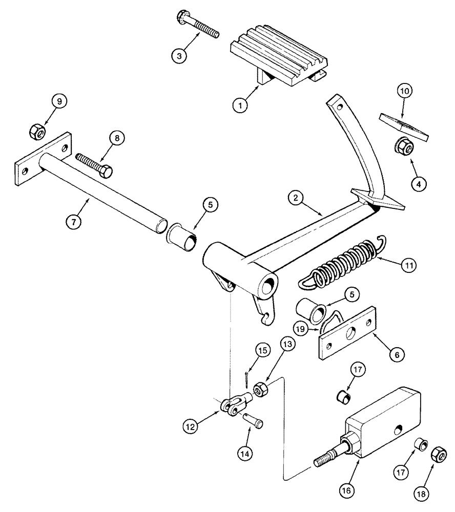
1

119902A1

PAD

1шт.

2

119901A3

PEDAL

Foot-N-Inch

1шт.

3

905-10035

BOLT,Hex Flg, M10 x 35mm

1шт.

4

825-51410

FLANGE NUT,M10, Flg Ser

1шт.

5

72323

BUSHING,19.07mm ID x 28.57mm OD x 19.05mm L

Pedal

2шт.

6

1281794C1

PLATE

1шт.

7

120160A2

SHAFT

1шт.

8

614-8025

BOLT,Hex, M8 x 1.25 x 25mm, Cl 8.8, Full Thd

4шт.

9

832-10408

NUT,M8 x 1.25, Cl 8.8

4шт.

10

120159A1

FOAM INSULATION

Pedal

1шт.

11

182652A1

SPRING

27,9 OD x 122 mm, Return

1шт.

12

213-125

ADJUSTABLE CLEVIS,5/16" - 32

1шт.

13

425-155

JAM NUT,Jam, 5/16"-24, G5

1шт.

14

327-5094

CLEVIS PIN,5/16" x .940"

1шт.

15

432-612

COTTER PIN,3/32" x 3/4"

1шт.

16

296786A2

VALVE

6500 psi, Foot-N-Inch

1шт.

See Figure 06-07

1шт.

17

19-6263

NYLON BEARING,0.38" ID x 0.59" OD x 0.38"

Valve Mounting

2шт.

18

425-166

NUT,3/8"-16, G5, Hvy

1шт.

19

G49413

WASHER

1шт.

Выбрано товаров: 20