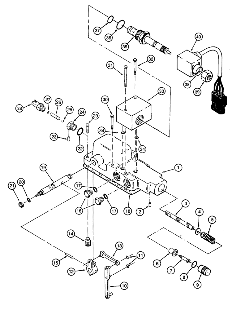
Запчасти Case IH CPX420 (06-11) - PUMP ASSY - HYDROSTATIC - CONTROL VALVE (03) - POWER TRAIN

Схема запчастей Case IH CPX420 - (06-11) - PUMP ASSY - HYDROSTATIC - CONTROL VALVE (03) - POWER TRAIN
12
16
40
32
1
9
5
23
13
20
36
27
4
28
18
26
7
39
31
6
15
34
14
3
30
29
17
11
35
17
8
34
10
24
25
38
33
21
37
22
19
2
FIT
1:1
100%

Артикул

Название

Примечание

Количество

1986824C5

PUMP, HYDROSTATIC

HYDROSTATIC PUMP New, Inc. Figures 06-09 - 06-12

1шт.

1986824C5R

REMAN-HYDROSTAT PUMP

CPX420 CASE IH COTTON PICKER, HYDROSTATIC PUMP New, CONTROL VALVE (5/05-8/06)

1шт.

1986824C5C

CORE-HYDROSTAT PUMP

Return Number

1шт.

191066A1

VALVE

Control, Inc. 1 - 40

1шт.

1

NSS

NOT SOLD SEPARAT

Housing

1шт.

2

83-1106

SET SCREW,Hex Soc, #10-24 x 3/8"

1шт.

3

NSS

NOT SOLD SEPARAT

Spool

1шт.

4

NSS

NOT SOLD SEPARAT

Spacer

1шт.

5

NSS

NOT SOLD SEPARAT

Spring

1шт.

6

NSS

NOT SOLD SEPARAT

Retainer

1шт.

7

NSS

NOT SOLD SEPARAT

Screw

1шт.

8

238-5016

O-RING,0.07" Thk x 0.614" ID, -16, Cl 5, 75 Duro

1шт.

9

NSS

NOT SOLD SEPARAT

Screw, Adjusting

1шт.

10

NSS

NOT SOLD SEPARAT

Link, Connecting

1шт.

11

100-1125

SNAP RING,#25, Ext

2шт.

12

NSS

NOT SOLD SEPARAT

Connector

1шт.

13

NSS

NOT SOLD SEPARAT

Link, Connecting

1шт.

14

NSS

NOT SOLD SEPARAT

Setscrew

1шт.

15

38-11614

LOCK PIN,1/4" x 7/8", Slotted

1шт.

16

76349

PLUG,9/16" - 18 ORB

Incl. 17

2шт.

1978048C2

SHAFT

Inc. 18 - 21

1шт.

18

133756C1

GASKET

1шт.

19

NSS

NOT SOLD SEPARAT

Shaft

1шт.

20

238-5012

O-RING,0.07" Thk x 0.364" ID, -12, Cl 5, 75 Duro

1шт.

21

NSS

NOT SOLD SEPARAT

Seal, Dust

1шт.

197909A2

ADAPTER,9/16" - 18 x 3/4"- 16

Special, Neutral Start Switch, Inc. 22 - 27

1шт.

22

237-6008

O-RING,0.087" Thk x 0.644" ID, -908, Cl 6, 90 Duro

1шт.

23

84-1103

SET SCREW,Hex Soc, #10-32 x 3/16"

2шт.

24

NSS

NOT SOLD SEPARAT

Adapter

1шт.

25

211-1006

BALL,3/16" Dia

1шт.

26

NSS

NOT SOLD SEPARAT

Pin

1шт.

27

238-5004

O-RING,0.07" Thk x 0.07" ID, -4, Cl 5, 75 Duro

1шт.

28

197514A1

SENSOR

Neutral Start

1шт.

29

61-33116

HEX SOC SCREW,5/16"-18 x 1"

3шт.

30

61-33132

HEX SOC SCREW,5/16"-18 x 2"

2шт.

31

413-532

BOLT,Hex, 5/16" - 18 x 2", Gr 5

1шт.

32

61-33154

HEX SOC SCREW,5/16" - 18 x 3-3/8"

1шт.

106446A1

VALVE

Solenoid, Inc. 33 - 40

1шт.

33

NSS

NOT SOLD SEPARAT

Block

1шт.

34

238-5012

O-RING,0.07" Thk x 0.364" ID, -12, Cl 5, 75 Duro

2шт.

235656A1

CARTRIDGE

Inc. 35 - 39

1шт.

35

NSS

NOT SOLD SEPARAT

Body

1шт.

235657A1

REPAIR KIT

Seal, Inc. 36, 37

1шт.

36

237-6010

O-RING,0.097" Thk x 0.755" ID, -910, Cl 6, 90 Duro

1шт.

37

NSS

NOT SOLD SEPARAT

Ring

1шт.

38

NSS

NOT SOLD SEPARAT

Washer

1шт.

39

NSS

NOT SOLD SEPARAT

Nut

1шт.

40

256213A1

COIL

1шт.

17

237-6006

O-RING,0.078" Thk x 0.468" ID, -906, Cl 6, 90 Duro

1шт.

Выбрано товаров: 49