Запчасти Case IH CPX610 (04-16) - BATTERY AND BATTERY CABLES (06) - ELECTRICAL SYSTEMS

Схема запчастей Case IH CPX610 - (04-16) - BATTERY AND BATTERY CABLES (06) - ELECTRICAL SYSTEMS
4
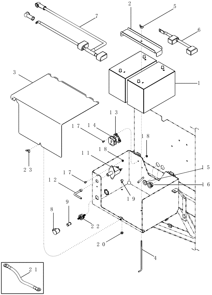
1
11
18
18
22
2
3
12
5
16
15
9
17
17
14
20
7
19
23
8
6
21
13
FIT
1:1
100%

Артикул

Название

Примечание

Количество

1

BMF31GW

WET BATTERY

12V, Order From Ship Direct

2шт.

2

297575A1

SUPPORT

Battery Box

1шт.

3

297576A1

COVER

Battery Box, Serial Range: -JJC0250200

1шт.

3

87411078

COVER

Battery Box, Start Serial: JJC0250200

1шт.

4

284881A1

TRUSS ROD,M8 - 1.25 x 240mm

9-5/8 in, Battery Hold Down

1шт.

5

934900R1

WING NUT

M8

1шт.

6

297765A1

NEG BATTERY CABLE

Negative, Serial Range: -JJC0250200

1шт.

6

87413901

NEG BATTERY CABLE

Negative, Start Serial: JJC0250200

1шт.

7

297766A1

CABLE ASSY.

Positive

1шт.

8

359452A1

BOOT

Protective, Jump Start

1шт.

9

245739C1

BUSHING,3/8"-16, 19mm OD x 31.75mm W

1шт.

10

278044A1

CABLE

350 mm (13-3/4 in), Disconnect, European Models, Not Illustrated

1шт.

11

291840A1

CIRCUIT-BREAKER

Disconnect, Inc. 12, Serial Range: -JJC0250200

1шт.

11

189658A1

SWITCH

Disconnect, Inc. 12, Start Serial: JJC0250200

1шт.

12

291841A1

KEY

, Serial Range: -JJC0250200

1шт.

12

189983A1

KEY

, Start Serial: JJC0250200

1шт.

13

183038A1

SOLENOID

Relay

1шт.

14

178148A1

COVER

1шт.

15

1321767C1

GROMMET

3/8 x 1-1/2 x 3/8

1шт.

16

198826C1

GROMMET,19.05mm ID x 41.1mm OD x 26.9mm Thk

3/4 ID, Hose

1шт.

17

477-82508

SERRATED SCREW,Sl Truss Hd, 1/4" - 20 x 1/2"

1/4 x 1/2; 8

4шт.

18

231-5144

SERRATED NUT,Flg, USR, 1/4"-20

4шт.

19

477-73812

SERRATED SCREW,Truss HD, 3/8" - 16 x 3/4"

3/8 x 3/4

1шт.

20

231-5146

FLANGE NUT,3/8"-16

1шт.

21

397042A2

CABLE

500 mm (19-11/16 in), Engine Ground

1шт.

22

190158A1

BLOCK

Junction Box

1шт.

23

934900R1

WING NUT

M8, Serial Range: -JJC0250200

1шт.

23

129-419

WING NUT,5/16"-18

, Start Serial: JJC0250200

1шт.

Выбрано товаров: 28