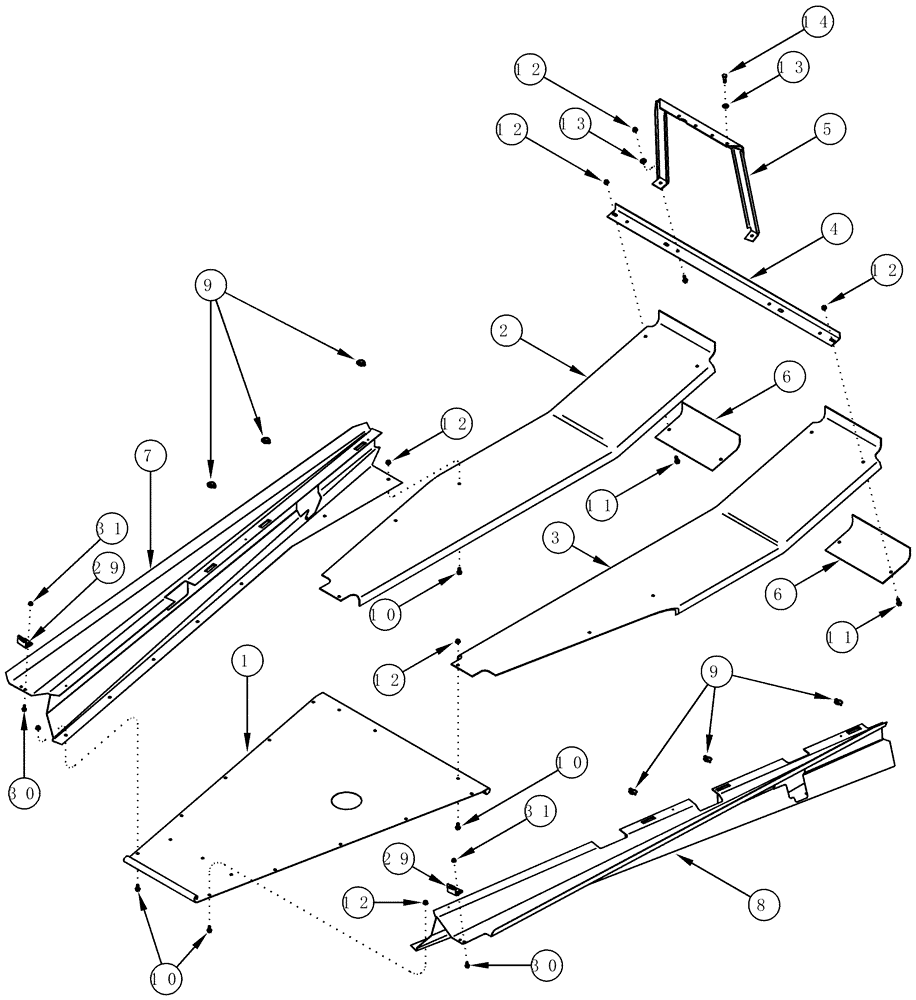
Запчасти Case IH CPX610 (09F-04) - PLANT TUNNEL - ANGLE AND GUIDES (12) - CHASSIS

Схема запчастей Case IH CPX610 - (09F-04) - PLANT TUNNEL - ANGLE AND GUIDES (12) - CHASSIS
12
13
10
9
30
3
10
31
7
8
5
6
12
13
29
9
31
2
10
6
12
30
12
14
11
29
1
12
12
4
11
FIT
1:1
100%

Артикул

Название

Примечание

Количество

1

181670A4

PLATE

Bottom, Belly Pan

1шт.

2

251899A1

GUIDE

Left Hand

1шт.

3

251900A1

GUIDE

Right Hand

1шт.

4

123652A1

ANGLE BAR

Plant Tunnel Guide

1шт.

5

1546138C4

SUPPORT

1шт.

6

297928A2

SHEET

Plant Tunnel Extension

2шт.

7

400549A2

SHIELD

Plant Guard, Left Hand

1шт.

8

400552A2

SHIELD

Plant Guard, Right Hand

1шт.

9

A33497

LINCH PIN,4.76mm OD Pin

6шт.

10

409-7612

BOLT,3/8"-16 x 1.09" OAL

16шт.

11

409-7616

BOLT,Hex Flg, 3/8" - 16 x 1", Spcl

6шт.

12

231-5146

FLANGE NUT,3/8"-16

22шт.

13

495-21044

WASHER,3/8"

(7/16 x 1 x 5/64)

3шт.

14

614-10030

BOLT,Hex, M10 x 1.5 x 30mm, Cl 8.8, Full Thd

1шт.

15

448454A1

PLATE

1шт.

16

451502A1

SHIELD

Deflector

1шт.

18

409-7516

BOLT,Hex Flg, 5/16" - 18 x 1", Spcl

2шт.

19

495-81123

WASHER,0.34" ID x 1.75" OD x 0.18" Thk

11/32 x 1-3/4 x 3/16

4шт.

20

231-4115

NUT,5/16"-18, GB

8шт.

21

515-2395

CLAMP,3/8", Insul, 3/8" Bolt

2шт.

22

409-7520

BOLT,Hex Flg, 5/16" - 18 x 1 1/4", Spcl

5/16 x 1-1/4

2шт.

23

495-11041

WASHER,0.406" ID x 0.812" OD x 0.065" W

(13/32 x 13/16 x 1/16")

2шт.

24

409-7616

BOLT,Hex Flg, 3/8" - 16 x 1", Spcl

2шт.

25

495-81145

WASHER,13/32" x 1 3/4" x .120"

2шт.

26

231-4116

NUT,3/8"-16, GB

3/8

4шт.

27

409-768

BOLT,Hex Flg, 3/8" - 16 x 1/2", Spcl

3/8 x 1/2

3шт.

28

231-5146

FLANGE NUT,3/8"-16

3шт.

29

87414485

ANGLE

Pan Support

2шт.

30

409-7512

BOLT,Hex Flg, 5/16" - 18 x 3/4", Spcl

6шт.

31

231-5145

SERRATED NUT,Flg, USR, 5/16"-18

6шт.

Выбрано товаров: 30