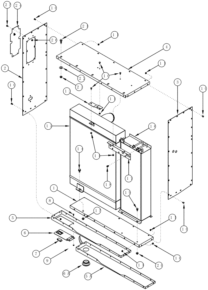
Запчасти Case IH CPX610 (09C-20) - CHARGE AIR COOLER AND SUPPORTS (15) - HANDLING SYSTEM

Схема запчастей Case IH CPX610 - (09C-20) - CHARGE AIR COOLER AND SUPPORTS (15) - HANDLING SYSTEM
6
5a
26
25
16
20
11
15
7
14
24
23
10
3
10
10
8
11
10
13
11
5
11
11
4
1
21
22
11
12
9
10
2
18
6a
10
19
17
FIT
1:1
100%

Артикул

Название

Примечание

Количество

1

392238A1

SHEET

Rear, Cooler Floor

1шт.

2

392772A2

SHEET

Left Hand

1шт.

3

392774A1

SHEET

Right Hand

1шт.

4

392237A1

SHEET

Rear, Screen

1шт.

5

392780A1

SHEET

, Serial Range: -JJC0250100

1шт.

5a

392780A2

SHEET

, Start Serial: JJC0250100

1шт.

6

1982669C2

COVER ASSY

, Serial Range: -JJC0250100

1шт.

See Figure 9A-30

1шт.

6a

205-128

HOLE PLUG BUTTON,2 1/2"

2-1/2 OD, Start Serial: JJC0250100

1шт.

7

1982673C1

LATCH

, Serial Range: -JJC0250100

1шт.

8

847-3616

SERRATED SCREW,Sl Truss, M6 x 16mm, Cl 10.9

M6 x 16; 10.9, Serial Range: -JJC0250100

2шт.

9

825-5146

SERRATED NUT,M6, Flg Ser

, Serial Range: -JJC0250100

2шт.

10

847-3816

SERRATED SCREW,Sl Truss, M8 x 16mm, Cl 10.9

, Serial Range: -JJC0250199

28шт.

10

477-73112

SERRATED SCREW,Sl Truss Hd, 5/16" - 18 x 3/4"

, Start Serial: JJC0250200

28шт.

11

825-5148

SERRATED NUT,M8, Flg Ser

, Serial Range: -JJC0250199

28шт.

11

231-5145

SERRATED NUT,Flg, USR, 5/16"-18

, Start Serial: JJC0250200

28шт.

12

254404A2

AFTERCOOLER

Charge Air Cooler

1шт.

13

313839A2

BRACKET

1шт.

14

905-12025

BOLT,Hex Flg, M12 x 25mm

, Serial Range: -JJC0250199

2шт.

14

409-7816

BOLT,Hex Flg, 1/2" - 13 x 1", Spcl

1/2 x 1; 5, Start Serial: JJC0250200

2шт.

15

825-51412

FLANGE NUT,M12, Flg Ser

, Serial Range: -JJC0250100

2шт.

15

231-5148

FLANGE NUT,Flg, USR, 1/2"-13

(5), Start Serial: JJC0250200

2шт.

16

321103A2

CONDENSER

1шт.

17

315039A3

BRACKET

1шт.

18

905-8012

BOLT,Hex Flg, M8 x 12mm

3шт.

19

905-10020

BOLT,Hex Flg, M10 x 20mm

, Serial Range: -JJC0250199

4шт.

19

409-7612

BOLT,3/8"-16 x 1.09" OAL

, Start Serial: JJC0250200

4шт.

20

825-51410

FLANGE NUT,M10, Flg Ser

, Serial Range: -JJC0250199

4шт.

20

231-5146

FLANGE NUT,3/8"-16

(5), Start Serial: JJC0250200

4шт.

21

811-12030

CARRIAGE BOLT,Sht Sq Nk, M12 x 1.75 x 30mm, Cl 8.8

, Serial Range: -JJC0250199

5шт.

21

434-820

CARRIAGE BOLT,Sht Sq Nk, 1/2" - 13 x 1 1/4", Gr 5

1/2 x 1-1/4; 5, Start Serial: JJC0250200

5шт.

22

895-25012

WASHER,M12 x 37 x 3

13.5 x 37 x 3 mm, Serial Range: -JJC0250199

5шт.

22

495-21056

WASHER,1/2"

9/16 x 1-3/8 x 7/64, Start Serial: JJC0250200

5шт.

23

825-51412

FLANGE NUT,M12, Flg Ser

, Serial Range: -JJC0250199

5шт.

23

231-5148

FLANGE NUT,Flg, USR, 1/2"-13

(5), Start Serial: JJC0250200

5шт.

24

87418232

SCREEN

Duct Air Inlet, Start Serial: JJC0250200

1шт.

25

477-82508

SERRATED SCREW,Sl Truss Hd, 1/4" - 20 x 1/2"

1/4 x 1/2; 8

4шт.

26

231-5144

SERRATED NUT,Flg, USR, 1/4"-20

(5)

4шт.

Выбрано товаров: 38