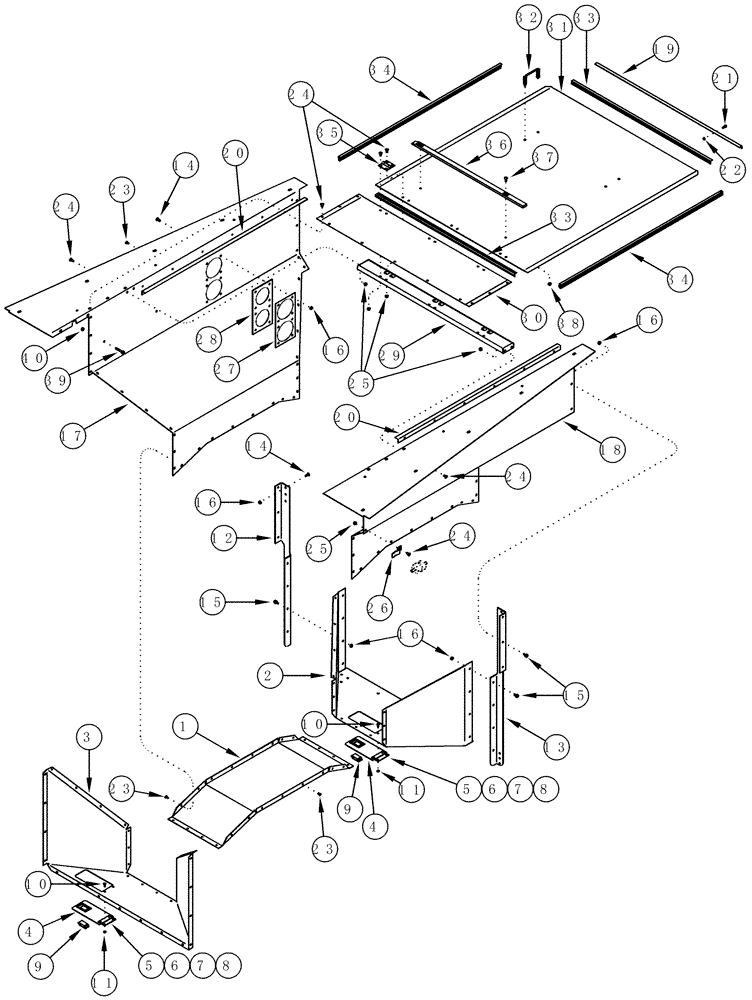
Запчасти Case IH CPX610 (09C-21) - AIR TUNNEL - BSN JJC0250100 (15) - HANDLING SYSTEM

Схема запчастей Case IH CPX610 - (09C-21) - AIR TUNNEL - BSN JJC0250100 (15) - HANDLING SYSTEM
7
21
28
14
10
5
8
17
10
23
16
19
38
31
12
33
40
24
20
2
15
8
25
14
36
24
15
33
6
7
11
34
22
39
16
5
32
3
18
6
23
9
29
24
16
27
13
4
9
23
20
30
24
11
35
16
4
1
25
34
26
37
FIT
1:1
100%

Артикул

Название

Примечание

Количество

1

304373A2

SHEET

Center Floor

1шт.

2

304372A1

SHEET

Front Floor

1шт.

3

304374A1

SHEET

Rear Floor

1шт.

4

1982669C2

COVER ASSY

Access Door, Inc. 5 - 8

2шт.

5

1982670C2

COVER

1шт.

6

1982672C1

HINGE

1шт.

7

151-218

RIVET,Tr Hd, 3/16" x .281", Alum.

2шт.

8

1994970C1

SEALING STRIP

512 mm (20-1/8 in), Cut From 1994968C1

1шт.

9

1982673C1

LATCH

2шт.

10

847-3616

SERRATED SCREW,Sl Truss, M6 x 16mm, Cl 10.9

M6 x 16; 10.9

4шт.

11

825-5146

SERRATED NUT,M6, Flg Ser

4шт.

12

304378A1

SUPPORT

Left Hand

1шт.

13

304382A1

SUPPORT

Right Hand

1шт.

14

847-3820

SERRATED SCREW,M8 x 20mm, Cl 10.9

M8 x 20, 10.9

27шт.

15

905-8016

BOLT,Hex Flg, M8 x 16mm

18шт.

16

825-5148

SERRATED NUT,M8, Flg Ser

43шт.

17

304375A3

SHEET

Left Side

1шт.

18

304376A3

SHEET

Right Side

1шт.

19

321179A1

ANGLE

Door Front, Seal

1шт.

20

321050A1

ANGLE

Door, Side, Seal

2шт.

21

905-6016

BOLT,M6 x 16mm

M6 x 16

7шт.

22

825-5146

SERRATED NUT,M6, Flg Ser

7шт.

23

375676A1

RIVET,Pop, 6.42mm OD x 24.64mm L

1/4 x 3/8, Production Only

64шт.

23

477-82508

SERRATED SCREW,Sl Truss Hd, 1/4" - 20 x 1/2"

1/4 x 1/2; 8, Service

64шт.

23a

231-5144

SERRATED NUT,Flg, USR, 1/4"-20

Not Illustrated

64шт.

24

847-3816

SERRATED SCREW,Sl Truss, M8 x 16mm, Cl 10.9

56шт.

25

825-5148

SERRATED NUT,M8, Flg Ser

56шт.

26

408340A1

BRACKET

Fuel Filter Mounting

1шт.

27

321287A1

PLATE

Charge Air Tubes

1шт.

28

321286A2

SEAL

Charge Air Tubes

1шт.

29

362853A1

CHANNEL

1шт.

30

314306A3

COVER

1шт.

31

314298A3

DOOR ASSY.

Access

1шт.

32

1278124C1

HANDLE

2шт.

33

321049A1

DOOR SEAL

2шт.

34

321048A1

DOOR SEAL

2шт.

35

215720C1

HINGE

3шт.

36

429207A1

GUIDE

Chain

1шт.

37

847-3820

SERRATED SCREW,M8 x 20mm, Cl 10.9

M8 x 20, 10.9

2шт.

38

825-5148

SERRATED NUT,M8, Flg Ser

2шт.

39

905-8050

BOLT,Hex Serr, M8 x 50mm

M8 x 50

2шт.

40

825-5148

SERRATED NUT,M8, Flg Ser

2шт.

Выбрано товаров: 42