Запчасти Case IH CPX610 (02-16) - OIL PUMP AND OIL PAN (01) - ENGINE

Схема запчастей Case IH CPX610 - (02-16) - OIL PUMP AND OIL PAN (01) - ENGINE
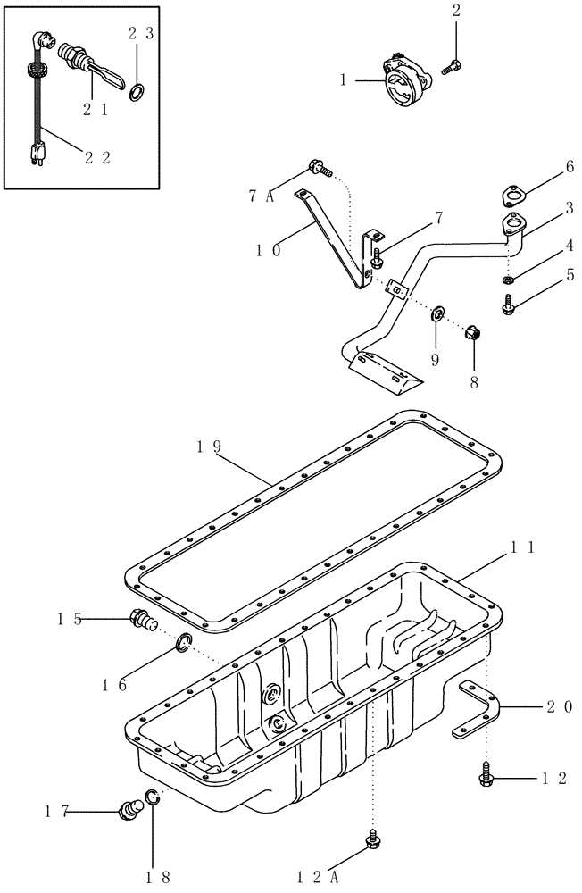
21
8
20
16
10
12
15
17
2
11
22
4
12a
6
19
1
18
5
7
9
23
7a
3
FIT
1:1
100%

Артикул

Название

Примечание

Количество

1

J948072

ENGINE OIL PUMP

1шт.

1

JR948072

REMAN-ENG OIL PUMP

REMAN-ENGINE OIL PUMP Remanufactured Oil Pump; For N.A. Only

1шт.

1

JC948072

CORE-ENGINE OIL PUMP

CORE-ENGINE OIL PUMP Return Number - For N.A. only

1шт.

2

J900677

BOLT,Hex

M8 x 30

4шт.

3

J921719

TUBE

6TAA-8304

1шт.

4

J926865

SPACER,6.9mm ID x 12.7mm OD x 14mm L

2шт.

5

845-6030

BOLT,Hvy Hex, M6 x 30mm, Cl 8.8

2шт.

6

J914302

GASKET

1шт.

7

845-6015

BOLT,Hvy Hex, M6 x 15mm, Cl 8.8

2шт.

7a

845-6020

BOLT,Hvy Hex, M6 x 20mm, Cl 8.8

1шт.

8

J906216

FLANGE NUT

M6

1шт.

9

J910960

WASHER

1шт.

10

J927611

BRACKET

1шт.

11

J914015

ENGINE OIL PAN

Oil, 6TAA-8304

1шт.

12

J907860

FLANGE BOLT,Hex, M8 x 25mm, Spcl

16шт.

12a

J920400

FLANGE BOLT,Hex, M8 x 1.25 x 21mm, Gr 8.8

M8 x 25

32шт.

15

J924148

PLUG,M22 x 1.5

M22, Heater Hole

1шт.

16

J902425

SEALING WASHER,22.2mm ID x 26.9mm OD x 1.75mm Thk

Heater Hole

1шт.

17

J924147

PLUG,M18 x 1.5

M18, Drain

1шт.

18

J920773

SEALING WASHER

1шт.

20

J938160

OIL PAN GASKET SET

Pan

1шт.

A77580

SERVICE KIT

Oil Pan Heater, 120V, Inc. 22, 23

1шт.

21

J906388

HEATING ELEMENT

1шт.

22

196466A1

ELECTRIC CABLE

1829 mm (72 in)

1шт.

23

J902425

SEALING WASHER,22.2mm ID x 26.9mm OD x 1.75mm Thk

1шт.

A77666

SERVICE KIT

Oil Pan Heater, 240V, Inc. 22, 23

1шт.

21

J906389

HEATING ELEMENT

1шт.

22

J905114

ELECTRIC CABLE

1829 mm (72 in)

1шт.

Выбрано товаров: 28