Качественные детали и логистика
Оригинальные и аналоговые запчасти с доставкой по России, Казахстану и Беларуси
©2022 PartSell ООО "Система" ИНН 2463123282 ОГРН 1212400004838
Центральный офис: г. Красноярск, Академика Киренского, д.87, пом.4
Телефон: 8 (800) 777-65-74 Email: zakaz@partsell.ru
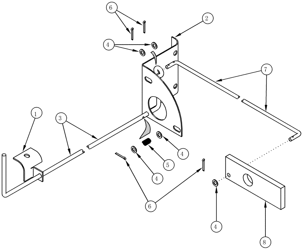
(09D-23) - FRONT BASKET LOCK
№
Артикул
Название
Примечание
Количество
1
410007A1
ANGLE
Cylinder Lock, Front
1шт.
2
410008A1
Inner Basket, Cylinder Lock
3
410006A1
ROD
4
495-21038
WASHER,5/16"
(flat, 3/8 x 7/8 x 3/32")
5шт.
5
540815R2
SPRING
6
432-612
COTTER PIN,3/32" x 3/4"
4шт.
7
410005A1
8
1270025C2
LARGE PLATE
PLATE, LARGE Basket Lock
Выбрано товаров: 0