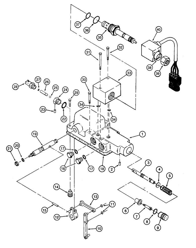
Запчасти Case IH CPX610 (06-09) - TANDEM PUMP ASSEMBLY - HYDROSTATIC (CONTROL VALVE) (03) - POWER TRAIN

Схема запчастей Case IH CPX610 - (06-09) - TANDEM PUMP ASSEMBLY - HYDROSTATIC (CONTROL VALVE) (03) - POWER TRAIN
16
33
36
2
32
17
19
27
13
3
20
7
26
29
4
21
1
22
28
34
11
6
34
18
37
12
31
25
30
9
24
35
10
5
15
8
39
38
23
40
17
14
FIT
1:1
100%

Артикул

Название

Примечание

Количество

407438A1

HYDROSTATIC PUMP,105.4 CC

Front

1шт.

Inc. Figures 06-07, 06-09, 06-10

1шт.

407439A1

HYDROSTATIC PUMP

54 cc, Rear

1шт.

Inc. Figures 06-08 - 06-11

1шт.

445482A1

CONTROL VALVE

Inc. 1 - 40

1шт.

1

NSS

NOT SOLD SEPARAT

HOUSING

1шт.

2

83-1106

SET SCREW,Hex Soc, #10-24 x 3/8"

No. 10 x 3/8

1шт.

3

NSS

NOT SOLD SEPARAT

SPOOL

1шт.

4

NSS

NOT SOLD SEPARAT

SPACER

1шт.

5

NSS

NOT SOLD SEPARAT

SPRING

1шт.

6

NSS

NOT SOLD SEPARAT

RETAINER

1шт.

7

NSS

NOT SOLD SEPARAT

SCREW

1шт.

8

238-5016

O-RING,0.07" Thk x 0.614" ID, -16, Cl 5, 75 Duro

1шт.

9

NSS

NOT SOLD SEPARAT

SCREW, Adjusting

1шт.

10

NSS

NOT SOLD SEPARAT

LINK, Connecting

1шт.

11

100-1125

SNAP RING,#25, Ext

2шт.

12

NSS

NOT SOLD SEPARAT

CONNECTOR

1шт.

13

NSS

NOT SOLD SEPARAT

LINK, Connecting

1шт.

14

NSS

NOT SOLD SEPARAT

SETSCREW

1шт.

15

38-11614

LOCK PIN,1/4" x 7/8", Slotted

1/4 x 3/4

1шт.

16

76349

PLUG,9/16" - 18 ORB

Incl. 17

2шт.

1978048C2

SHAFT

Inc. 18 - 21

1шт.

17

237-6006

O-RING,0.078" Thk x 0.468" ID, -906, Cl 6, 90 Duro

1шт.

18

133756C1

GASKET

1шт.

19

NSS

NOT SOLD SEPARAT

SHAFT

1шт.

20

238-5012

O-RING,0.07" Thk x 0.364" ID, -12, Cl 5, 75 Duro

1шт.

21

NSS

NOT SOLD SEPARAT

SEAL, Dust

1шт.

197909A2

ADAPTER,9/16" - 18 x 3/4"- 16

Special, Neutral Start Switch, Inc. 22 - 27

1шт.

22

237-6008

O-RING,0.087" Thk x 0.644" ID, -908, Cl 6, 90 Duro

1шт.

23

84-1103

SET SCREW,Hex Soc, #10-32 x 3/16"

No. 10 NF x 3/16

2шт.

24

NSS

NOT SOLD SEPARAT

ADAPTER

1шт.

25

211-1006

BALL,3/16" Dia

1шт.

26

NSS

NOT SOLD SEPARAT

PIN

1шт.

27

238-5004

O-RING,0.07" Thk x 0.07" ID, -4, Cl 5, 75 Duro

1шт.

28

197514A2

SWITCH

Neutral Start

1шт.

29

61-33116

HEX SOC SCREW,5/16"-18 x 1"

3шт.

30

61-33132

HEX SOC SCREW,5/16"-18 x 2"

5/16 x 2

2шт.

31

413-532

BOLT,Hex, 5/16" - 18 x 2", Gr 5

1шт.

32

61-33154

HEX SOC SCREW,5/16" - 18 x 3-3/8"

5/16 x 3-3/8

1шт.

106446A1

VALVE

Solenoid, Inc. 33 - 40

1шт.

33

NSS

NOT SOLD SEPARAT

BLOCK

1шт.

34

238-5012

O-RING,0.07" Thk x 0.364" ID, -12, Cl 5, 75 Duro

2шт.

235656A1

CARTRIDGE

Inc. 35 - 39

1шт.

35

NSS

NOT SOLD SEPARAT

BODY

1шт.

235657A1

REPAIR KIT

Seal, Inc. 36, 37

1шт.

36

237-6010

O-RING,0.097" Thk x 0.755" ID, -910, Cl 6, 90 Duro

1шт.

37

NSS

NOT SOLD SEPARAT

RING

1шт.

38

NSS

NOT SOLD SEPARAT

WASHER

1шт.

39

NSS

NOT SOLD SEPARAT

NUT

1шт.

40

256213A1

COIL

1шт.

See Figure 06-04 for pump control linkage.

1шт.

Выбрано товаров: 0