Запчасти Case IH CPX620 (02-02) - DEAERATION SYSTEM (01) - ENGINE

Схема запчастей Case IH CPX620 - (02-02) - DEAERATION SYSTEM (01) - ENGINE
7
10
5
2
4
3
9
6
8
1
FIT
1:1
100%

Артикул

Название

Примечание

Количество

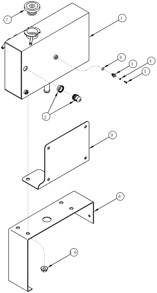
1

250600A1

TANK

Deaeration, Inc. 2 - 6

1шт.

2

294885A1

GAUGE

1/2, Sight Gauge, Inc. O-Ring

1шт.

3

294886A1

PLUG

1/8-17 NF

1шт.

4

493-41017

LOCK WASHER,Ext, #8

1шт.

5

440-1086

SCREW,Cross Pan Hd, #8-32 x 3/8"

1шт.

6

238-5115

O-RING,0.103" Thk x 0.674" ID, -115, Cl 5, 75 Duro

1шт.

7

121951C1

CAP

10 psi, Pressure

1шт.

8

301131A1

BRACKET

Mounting, Deaeration Tank

1шт.

9

304270A1

BRACKET

Overflow Bottle

1шт.

10

825-2412

FLANGE NUT,M12 x 1.75, Flg, Cl 8

4шт.

Выбрано товаров: 10